lemon-mirror:
Home >> Toyota >> 2003 >> Avalon XLS >> Repair and Diagnosis >> Body & Frame >> Windows >> Windshield >> Removal

Body & Frame: Windows: Windshield: Removal

  1. REMOVE INNER REAR VIEW MIRROR 
    1. w/ Electrochromic rear view mirror:

      Using a screwdriver, remove the inner rear view mirror cover.

      NOTE: Tape the screwdriver tip before use.
    2. w/ Electrochromic rear view mirror:

      Disconnect the connector.

    3. Remove the inner rear view mirror as shown in the illustration.
    4. Fig 1: Removing Inner Rear View Mirror
      G02818794Courtesy of © TOYOTA, LICENSE AGREEMENT TMS1002
  2. REMOVE SUN VISORS AND HOLDERS 
  3. REMOVE ROOF CONSOLE BOX 
    1. Using a screwdriver, remove the map light lens.
      Fig 2: Removing Map Light Lens Using A Screwdriver
      G02818795Courtesy of © TOYOTA, LICENSE AGREEMENT TMS1002
      NOTE: Tape the screwdriver tip before use.
    2. Remove the 3 screws and roof console box, then disconnect the connector.
  4. REMOVE FRONT DOOR OPENING TRIMS 
  5. REMOVE FRONT PILLAR GARNISH 
    1. Remove the front pillar garnish.
    2. Fig 3: Removing Front Pillar Garnish
      G02818796Courtesy of © TOYOTA, LICENSE AGREEMENT TMS1002
    3. Employ the same manner described above to the other side.
  6. REMOVE WIPER ARMS 
  7. REMOVE HOOD TO COWL TOP SEAL 
  8. REMOVE COWL TOP VENTILATOR LOUVER 
    1. Using a clip remover, remove the 2 clips.
    2. Remove the cowl top ventilator louver as shown in the illustration.
    3. Fig 4: Removing Cowl Top Ventilator Louver
      G02818797Courtesy of © TOYOTA, LICENSE AGREEMENT TMS1002
  9. REMOVE ASSIST GRIP 
  10. w/Sliding roof: 

    REMOVE SLIDING ROOF OPENING TRIM 

  11. REMOVE WINDSHIELD UPPER MOULDING 
    1. Using a knife, cut off the moulding as shown.
      Fig 5: Removing Windshield Upper Moulding (W/Ring Gutter)
      G02818798Courtesy of © TOYOTA, LICENSE AGREEMENT TMS1002
      NOTE: Do not damage the body with the knife.
    2. Remove the remaining moulding.
    Fig 6: Removing Windshield Upper Moulding (W/O Ring Gutter)
    G02818799Courtesy of © TOYOTA, LICENSE AGREEMENT TMS1002
  12. REMOVE WINDSHIELD GLASS 
    1. Insert a piano wire between body and glass and let it pass through.
    2. Fig 7: Inserting Piano Wire Between Body & Glass
      G02818800Courtesy of © TOYOTA, LICENSE AGREEMENT TMS1002
    3. Tie both wire ends to wooden blocks or similar objects.
      NOTE: Apply protective tape to the outer surface to keep the surface from being scratched.
      NOTE: When separating the glass, take care not to damage the paint and interior and exterior ornaments. To prevent the safety pad from being scratched when removing the windshield, place a plastic sheet between the piano wire and safety pad.
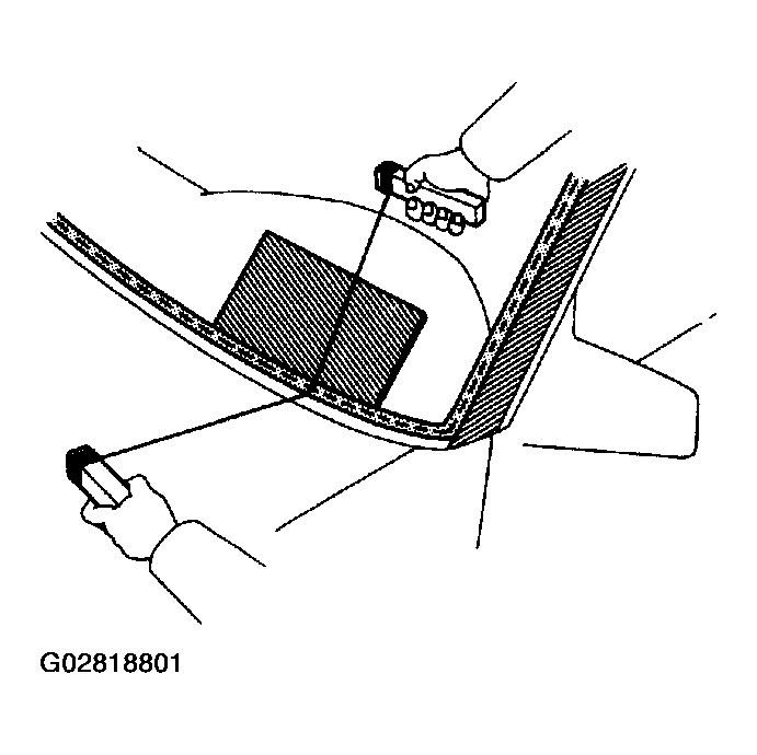
    4. Cut the adhesive by pulling the piano wire around it.
    5. Fig 8: Cutting Adhesive By Pulling Piano Wire Around
      G02818801Courtesy of © TOYOTA, LICENSE AGREEMENT TMS1002
    6. Remove the glass.
    NOTE: Leave of the adhesive on the body as much as possible when cutting off the glass.