lemon-mirror:
Home >> Toyota >> 2003 >> Avalon XLS >> Repair and Diagnosis >> Electrical >> Gauges >> Combination Meter >> Inspection

Combination Meter: Inspection

  1. INSPECT COMBINATION METER CIRCUIT 
    Fig 1: Identifying Combination Meter Connectors Terminals View
    G02818458Courtesy of © TOYOTA, LICENSE AGREEMENT TMS1002

    Disconnect connector "A" and "B" from the combination meter and inspect the connectors on the wire harness side as shown in the table.

    Fig 2: Combination Meter Connectors Inspection Reference Table
    G02818459Courtesy of © TOYOTA, LICENSE AGREEMENT TMS1002

    If circuit is not as specified, wiring diagram and inspect the circuits connected to other parts.

  2. INSPECT MULTI INFORMATION DISPLAY CIRCUIT 

    Disconnect connector "C", "D", "E", "F", "G" "H" and "I" from the multi information display and inspect the connectors on the wire harness side as shown in the table.

    Fig 3: Identifying Multi Information Display Connectors Terminals View
    G02818460Courtesy of © TOYOTA, LICENSE AGREEMENT TMS1002
    Fig 4: Information Display Connectors Inspection Reference Table
    G02818461Courtesy of © TOYOTA, LICENSE AGREEMENT TMS1002

    If circuit is not as specified, wiring diagram and inspect the circuits connected to other parts.

  3. INSPECT BETWEEN COMBINATION METER AND MULTI INFORMATION DISPLAY CIRCUIT 

    Disconnect connector "B" and "D" from the multi information display and combination meter inspect the connectors on the wire harness side as shown in the table.

    Fig 5: Identifying Combination Meter & Multi Information Display Connectors Terminals View
    G02818462Courtesy of © TOYOTA, LICENSE AGREEMENT TMS1002
    CONTINUITY REFERENCE BETWEEN COMBINATION METER AND MULTI INFORMATION DISPLAY

    Tester Connection Specified Condition
    B2 - D2 Continuity
    B3 - D3 Continuity
    B4 - D4 Continuity
    B5 - D5 Continuity
    B6 - D6 Continuity
    B8 - D8 Continuity
    B9 - D9 Continuity
    B10 - D10 Continuity
    B11 - D11 Continuity
    B12 - D12 Continuity
    B13 - D13 Continuity
    B14 - D14 Continuity

    If circuit is not as specified, wiring diagram and inspect the circuits connected to other parts.

  4. INSPECT SPEEDOMETER ON-VEHICLE 

    Using a speedometer tester, inspect the speedometer for allowable indication error and check the operation of the odometer.

    NOTE: Tire wear and tire over or under inflation will increase the indication error.
    SPEEDOMETER OPERATION REFERENCE (USA AND CANADA)

    USA (MPH) CANADA (km/h)
    Standard Indication Allowable Range Standard Indication Allowable Range
    20 18 - 24 20 17 - 24
    40 38 - 44 40 38 - 46
    60 58 - 66 60 57.5 - 67
    80 78 - 88 80 77 - 88
    100 98 - 110 100 96 - 109
    120 118 - 132 120 115 - 130
        140 134 - 151.5
        160 153 - 173

    If error is excessive, replace the speedometer.

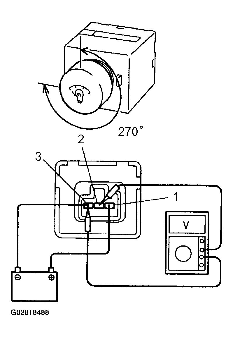
  5. INSPECT VEHICLE SPEED SENSOR OPERATION 
    Fig 6: Inspecting Vehicle Speed Sensor Operation
    G02818463Courtesy of © TOYOTA, LICENSE AGREEMENT TMS1002
    1. Connect the positive (+) lead from battery to terminal 1 and negative (-) lead to terminal 2.
    2. Connect the positive (+) lead from tester to terminal 3 and the negative (-) lead to terminal 2.
    3. Rotate the shaft.
    4. Check that there is voltage change from approx. 0 V to 11 V or more between terminals 2 and 3.
    NOTE: The voltage change should be 4 times for every revolution of the speed sensor shaft.

    If operation is not as specified, replace the sensor.

  6. INSPECT SPEEDOMETER RESISTANCE 

    Measure the resistance between terminals with fixing pointer to the stopper.

    Fig 7: Identifying Speedometer Connector Terminal View
    G02818464Courtesy of © TOYOTA, LICENSE AGREEMENT TMS1002
    SPEEDOMETER RESISTANCE REFERENCE

    Tester Connection Resistance (Ω)
    A - B 250
    C - D 250

    If resistance value is not as the specified, replace the meter.

  7. INSPECT TACHOMETER/ON-VEHICLE 
    1. Connect a tune-up test tachometer, and start the engine.
      NOTE:
      • Reversing the connection of the tachometer will damage the transistors and diodes inside.
      • When removing or installing the tachometer, be careful not to drop or subject it to heavy shocks.
    2. Compare the tester and tachometer indications.

    DC 13.5 V 25°C at (77°F) 

    TACHOMETER INSPECTION REFERENCE

    Standard Indication Allowable Range
    700 630 - 770
    1,000 900 - 1,100
    2,000 1,850 - 2,150
    3,000 2,800 - 3,200
    4,000 3,800 - 4,200
    5,000 4,800 - 5,200
    6,000 5,750 - 6,250
    7,000 6,700 - 7,300
  8. INSPECT TACHOMETER RESISTANCE 

    Measure the resistance between terminals with fixing pointer to the stopper.

    Fig 8: Identifying Tachometer Connector Terminal View
    G02818465Courtesy of © TOYOTA, LICENSE AGREEMENT TMS1002
    TACHOMETER RESISTANCE REFERENCE

    Tester Connection Resistance (Ω)
    A - B 250
    C - D 250

    If resistance value is not as specified, replace the meter.

  9. INSPECT FUEL RECEIVER GAUGE OPERATION 
    Fig 9: Inspecting Fuel Receiver Gauge Operation
    G02818466Courtesy of © TOYOTA, LICENSE AGREEMENT TMS1002
    1. Disconnect the connector from the main sender gauge.
    2. Turn the ignition switch ON, check that the receiver gauge needle indicates EMPTY.
    3. Connect terminals 2 and 3 on the wire harness side connector through a 3.4 W test bulb.
    4. Turn the ignition switch ON, check that the bulb lights up and receiver gauge needle moves toward the full side.
    5. Fig 10: Inspecting Fuel Receiver Gauge Using Test Bulb
      G02818467Courtesy of © TOYOTA, LICENSE AGREEMENT TMS1002
    NOTE: Because of the silicon oil in the gauge, it will take a short time for needle to stabilize.

    If operation is not as specified, inspect the receiver gauge resistance.

  10. INSPECT FUEL RECEIVER GAUGE RESISTANCE 

    Measure the resistance between terminals with fixing pointer to the stopper.

    Fig 11: Identifying Fuel Sender Gauge Connector Terminal View
    G02818468Courtesy of © TOYOTA, LICENSE AGREEMENT TMS1002
    FUEL RECEIVER GAUGE RESISTANCE REFERENCE

    Tester Connection Resistance (Ω)
    A - B 250
    C - D 250

    If resistance value is not as specified, replace the receiver gauge.

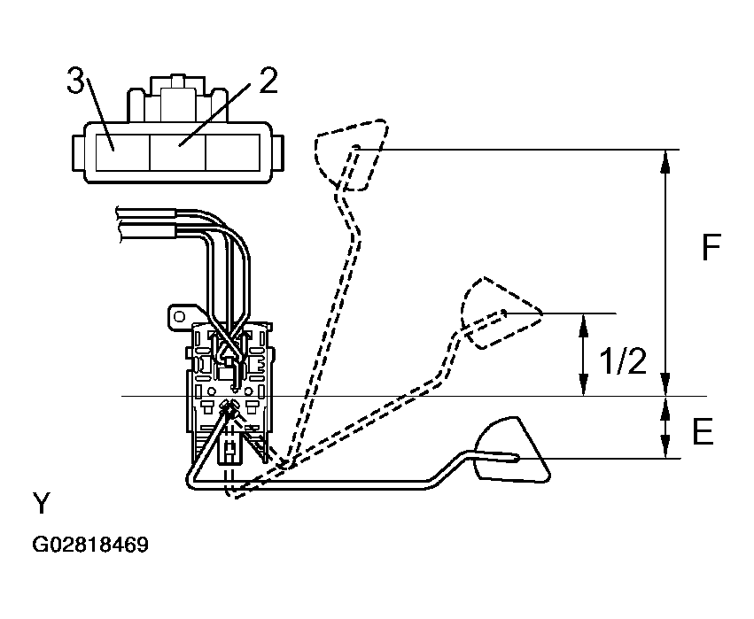
  11. INSPECT FUEL SENDER GAUGE RESISTANCE 

    Measure the resistance between terminals 3 and 2 for each float position.

    Fig 12: Identifying Fuel Sender Gauge Float Position
    G02818469Courtesy of © TOYOTA, LICENSE AGREEMENT TMS1002
    FUEL SENDER GAUGE RESISTANCE REFERENCE

    Float Position mm (in.) Resistance (Ω)
    F: Approx. 91.1 (1.36) +/- 3 (0.12) Approx. 2.0 +/- 1.0
    1/2: Approx. 34.2 (2.06) +/- 3 (0.12) Approx. 26.1 +/- 3.0
    E: Approx. 30.8 (5.31) +/- 3 (0.12) Approx. 48.7 +/- 1.0

    If resistance value is not as specified, replace the sender gauge.

  12. INSPECT FUEL LEVEL WARNING LIGHT 
    Fig 13: Inspecting Fuel Level Warning Light
    G02818470Courtesy of © TOYOTA, LICENSE AGREEMENT TMS1002
    1. Disconnect the connector from the sender gauge.
    2. Connect terminals 1 and 3 on the wire harness side connector.
    3. Turn the ignition switch ON, check that the warning light lights up.

    If the warning light does not light up, test the bulb or inspect wire harness.

  13. INSPECT ENGINE COOLANT TEMPERATURE RECEIVER GAUGE OPERATION 
    Fig 14: Inspecting Engine Coolant Temperature Receiver Gauge Operation
    G02818471Courtesy of © TOYOTA, LICENSE AGREEMENT TMS1002
    1. Disconnect the connector from the sender gauge.
    2. Turn the ignition switch ON, check that the receiver gauge needle indicates COOL.
    3. Ground terminal on the wire harness side connector through a 3.4 W test bulb.
    4. Fig 15: Inspecting Engine Coolant Temperature Receiver Gauge Operation Using Test Bulb
      G02818472Courtesy of © TOYOTA, LICENSE AGREEMENT TMS1002
    5. Turn the ignition switch ON, check that the bulb lights up and the receiver gauge needle moves toward the hot side.

    If operation is as specified, replace the sender gauge.

    Then recheck the system.

    If operation is not as specified, measure the receiver gauge resistance.

  14. INSPECT ENGINE COOLANT TEMPERATURE RECEIVER GAUGE RESISTANCE 

    Measure the resistance between terminals with fixing pointer to the stopper.

    Fig 16: Inspecting Engine Coolant Temperature Receiver Gauge Resistance
    G02818473Courtesy of © TOYOTA, LICENSE AGREEMENT TMS1002
    ENGINE COOLANT TEMPERATURE RECEIVER GAUGE RESISTANCE REFERENCE

    Tester Connection Resistance (Ω)
    A - B 250
    C - D 250

    If resistance value is not as specified, replace the receiver gauge.

  15. INSPECT ENGINE COOLANT TEMPERATURE SENDER GAUGE RESISTANCE 

    Connect the wire harness as shown in the illustration, and adjust the ammeter pointer to indicate "0" using the slide rheostat, then read the rheostat indication.

    Fig 17: Inspecting Engine Coolant Temperature Sender Gauge Resistance
    G02818474Courtesy of © TOYOTA, LICENSE AGREEMENT TMS1002
    ENGINE COOLANT TEMPERATURE SENDER GAUGE RESISTANCE REFERENCE

    Temperature °C (°F) Resistance (Ω)
    50 122.0) 160 - 240
    120 (248.0) 17.1 - 21.2

    If resistance value is not as specified, replace the engine coolant sender gauge.

  16. INSPECT LOW OIL PRESSURE WARNING LIGHT 
    Fig 18: Inspecting Low Oil Pressure Warning Light
    G02818475Courtesy of © TOYOTA, LICENSE AGREEMENT TMS1002
    1. Disconnect the connector from the warning switch and ground terminal on the wire harness side connector.
    2. Turn the ignition switch ON, check that the warning light lights up.

    If the warning light does not light up, test the bulb or inspect wire harness.

  17. INSPECT LOW OIL PRESSURE WARNING SWITCH OPERATION 
    Fig 19: Inspecting Low Oil Pressure Warning Switch Operation
    G02818476Courtesy of © TOYOTA, LICENSE AGREEMENT TMS1002
    1. Check that continuity exists between the terminal and ground with the engine stopped.
    2. Check that no continuity exists between the terminal and ground with the engine running.
    NOTE: Oil pressure should be over 29 kPa (0.35 kgf/cm2 , 4.3 psi) If operation is not as specified, replace the switch.
  18. INSPECT BRAKE WARNING LIGHT 
    Fig 20: Inspecting Brake Warning Light
    G02818477Courtesy of © TOYOTA, LICENSE AGREEMENT TMS1002
    1. Disconnect the connector from the brake fluid warning switch.
    2. Release the parking brake pedal.
    3. Connect the terminals on the wire harness side of the level warning switch connector.
    4. Start the engine, check that the warning light lights up.

    If the warning light does not light up, test the bulb or wire harness.

  19. INSPECT BRAKE FLUID LEVEL WARNING SWITCH OPERATION 
    Fig 21: Inspecting Brake Fluid Level Warning Switch Operation
    G02818478Courtesy of © TOYOTA, LICENSE AGREEMENT TMS1002
    1. Remove the reservoir tank cap and strainer.
    2. Disconnect the connector.
    3. Check that no continuity exists between the terminals with the switch OFF (float up).
    4. Use a siphon, etc. to take fluid out of the reservoir tank.
    5. Check that continuity exists between the terminals with the switch ON (float down).
    6. Pour the fluid back in the reservoir tank.

    If operation is not as specified, replace the switch.

  20. INSPECT PARKING BRAKE WARNING SWITCH CONTINUITY 
    Fig 22: Inspecting Parking Brake Warning Switch Continuity
    G02818479Courtesy of © TOYOTA, LICENSE AGREEMENT TMS1002
    1. Check that continuity exists between terminal and switch body with the switch ON (switch pin released).
    2. Check that no continuity exists between terminal and switch body with the switch OFF (switch pin pushed in).

    If operation is not as specified, replace the switch or inspect ground point.

  21. INSPECT REAR LIGHTS WARNING LIGHT 
    Fig 23: Inspecting Rear Lights Warning Light
    G02818480Courtesy of © TOYOTA, LICENSE AGREEMENT TMS1002
    1. Disconnect the connector from the light failure sensor and ground terminal 4 on the wire harness side connector.
    2. Start the engine, check that the warning light lights up.

    If the warning light does not light up, test the bulb or inspect wire harness.

  22. INSPECT LIGHT FAILURE SENSOR CIRCUIT 

    Disconnect the connector from the sensor and inspect the connector on the wire harness side, as shown.

    Fig 24: Identifying Light Failure Sensor Connector Terminal View (Wire Harness Side)
    G02818481Courtesy of © TOYOTA, LICENSE AGREEMENT TMS1002
    LIGHT FAILURE SENSOR CIRCUIT INSPECTION REFERENCE

    Tester Connection Condition Specified Condition
    1 - Ground Constant Continuity(1)
    2 - Ground Constant Continuity(1)
    9 - Ground Constant Continuity(1)
    10 - Ground Constant Continuity(1)
    11 - Ground Constant Continuity
    12 - Ground Constant Continuity(1)
    3 - Ground Light Control Switch OFF No Voltage
    3 - Ground Light Control Switch TAIL or HEAD Battery Positive Voltage
    4, 8 - Ground Ignition Switch LOCK or ACC No Voltage
    4, 8 - Ground Ignition Switch ON Battery Positive Voltage
    7 - Ground Stop Light Switch OFF No Voltage
    7 - Ground Stop Light Switch ON Battery Positive Voltage
    (1) There is resistance because this circuit is grounded through the bulb.

    If the circuit is as specified, replace the sensor.

    If the circuit is not as specified, inspect the circuits connected to other parts.

  23. INSPECT OPEN DOOR WARNING LIGHT 
    Fig 25: Inspecting Open Door Warning Light
    G02818482Courtesy of © TOYOTA, LICENSE AGREEMENT TMS1002

    Disconnect the connector from the door courtesy switch, and ground terminal 1 on the wire harness side connector and check that the warning light lights up.

    If the warning light does not light up, inspect the bulb or wire harness.

  24. INSPECT DOOR COURTESY SWITCH (See  INSPECTION  ) 
  25. INSPECT SEAT BELT WARNING LIGHT 
    Fig 26: Inspecting Seat Belt Warning Light
    G02818483Courtesy of © TOYOTA, LICENSE AGREEMENT TMS1002
    1. Disconnect the connector from the terminals buckle switch and ground terminal on the wire harness side connector as shown in the illustration.
    2. Turn the ignition switch ON and check that the warning light lights up.

    If the warning light does not light up, check the bulb circuit.

  26. INSPECT BUCKLE SWITCH CONTINUITY 
    Fig 27: Inspecting Buckle Switch Continuity
    G02818484Courtesy of © TOYOTA, LICENSE AGREEMENT TMS1002
    1. Check that continuity exists between the terminals on the switch side connector with the switch ON (belt unfastened).
    2. Check that no continuity exists between the terminals on the switch side connector with the switch OFF (belt fastened).
  27. INSPECT WASHER LEVEL WARNING LIGHT 
    Fig 28: Inspecting Washer Level Warning Light
    G02818485Courtesy of © TOYOTA, LICENSE AGREEMENT TMS1002
    1. Disconnect the connectors from the level warning switch.
    2. Connect terminals on the wire harness side connector of the level warning switch connector.
    3. Turn the ignition switch ON, check that the warning light come on.

    If the warning light does not light up, test the bulb.

  28. INSPECT WASHER LEVEL WARING SWITCH 
    Fig 29: Inspecting Washer Level Waring Switch
    G02818486Courtesy of © TOYOTA, LICENSE AGREEMENT TMS1002
    1. Check that no continuity exists between terminals with the switch OFF (float up).
    2. Check that continuity exists between terminals with the switch ON (float down).

    If operation is not as specified, replace the switch.

  29. INSPECT WASHER FLUID LEVEL WARNING SWITCH CIRCUIT 

    Disconnect the switch connector and inspect the connector on wire harness side.

    Fig 30: Identifying Washer Fluid Level Warning Switch Connector Terminal View (Wire Harness Side)
    G02818487Courtesy of © TOYOTA, LICENSE AGREEMENT TMS1002
    WASHER FLUID LEVEL WARNING SWITCH CIRCUIT INSPECTION REFERENCE

    Tester Connection Condition Specified Condition
    2 - Ground Constant Continuity

    If the warning light does not light up, test the bulb or inspect wire harness.

  30. INSPECT LIGHT CONTROL RHEOSTAT OPERATION 
    Fig 31: Inspecting Light Control Rheostat Operation
    G02818488Courtesy of © TOYOTA, LICENSE AGREEMENT TMS1002
    1. Connect the positive (+) lead from the battery to terminal 1 and the negative lead (-) to terminal 3.
    2. Connect the positive (+) lead from the voltmeter to terminal 2 and the negative lead (-) to terminal 3.
    3. Turn the rheostat knob and check that the voltage changes.

    If operation is not as specified, replace switch.

  31. Passenger's seat only: 

    INSPECT SEAT BELT WARNING OCCUPANT DETECTION SENSOR CONTINUITY 

    Fig 32: Inspecting Seat Belt Warning Occupant Detection Sensor (Passenger's Seat Only)
    G02818489Courtesy of © TOYOTA, LICENSE AGREEMENT TMS1002

    Check that continuity exists between the terminals 1 and 2 when pressing the sensing part (electric resistance <100Ω).

    If continuity is not as specified, replace the sensor.