lemon-mirror:
Home >> Toyota >> 2003 >> Avalon XLS >> Repair and Diagnosis >> Transmission >> Automatic Trans >> Automatic Transmission Shift Lock System (Column Shift) >> Inspection

Automatic Transmission Shift Lock System (Column Shift): Inspection

  1. INSPECT SHIFT LOCK CONTROL UNIT ASSEMBLY 

    Using a voltmeter, measure the voltage at each terminal.

    Fig 1: Inspecting Shift Lock Control Unit Connector Terminals
    G02818134Courtesy of © TOYOTA, LICENSE AGREEMENT TMS1002
    NOTE: Do not disconnect the shift lock control unit assembly connector.
    Fig 2: Terminal Voltage Specifications
    G02818135Courtesy of © TOYOTA, LICENSE AGREEMENT TMS1002
  2. INSPECT SHIFT LOCK SOLENOID 
    1. Disconnect the solenoid connector.
    2. Using an ohmmeter, measure resistance between terminals.
      Fig 3: Measuring Resistance Between Terminals
      G02818136Courtesy of © TOYOTA, LICENSE AGREEMENT TMS1002

      Standard resistance: 29 - 35Ω 

      If resistance value is not as specified, replace the solenoid.

    3. Supply battery positive voltage between terminals. Check that an operation noise can be heard from the solenoid.

      If the solenoid does not operate, replace the solenoid.

      Fig 4: Testing Solenoid Operation
      G02818137Courtesy of © TOYOTA, LICENSE AGREEMENT TMS1002
  3. INSPECT KEY INTERLOCK SOLENOID 
    1. Disconnect the solenoid connector.
    2. Using an ohmmeter, measure the resistance between terminals.
      Fig 5: Measuring Resistance Between Terminals
      G02818138Courtesy of © TOYOTA, LICENSE AGREEMENT TMS1002

      Standard resistance: 12.5 - 16.5 Ω 

      If resistance value is not as specified, replace the solenoid.

    3. Supply battery positive voltage between terminals.

      If the solenoid does not operate, replace the solenoid.

      Fig 6: Testing Solenoid Operation
      G02818139Courtesy of © TOYOTA, LICENSE AGREEMENT TMS1002
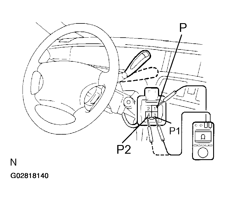
  4. INSPECT SHIFT LOCK CONTROL SWITCH 

    Inspect that continuity between at each terminal.

    Fig 7: Testing Shift Lock Control Switch
    G02818140Courtesy of © TOYOTA, LICENSE AGREEMENT TMS1002
    SHIFT POSITION AND CONNECTION TEST

    Shift Position Tester Connection Specification
    P Position (Release Button Not Pushed) 3(P1) -1 (P) Continuity
    P Position (Release Button Pushed) 3(P1) -1 (P) 4 (P2) - 1 (P) Continuity
    R, N, D, 2, L Position 4 (P2) -1 (P) Continuity

    If continuity is not specified, replace the switch.