lemon-mirror:
Home >> Toyota >> 2003 >> Corolla LE, Automatic >> Repair and Diagnosis >> Body & Frame >> Mirrors >> Power Mirror Control System >> Inspection

Power Mirror Control System: Inspection

  1. INSPECT OUTER MIRROR SWITCH ASSY 
    1. Inspect the mirror switch continuity.
      1. Left side for left/right adjustment switch:

        Inspect the mirror switch continuity.

        Standard (Left side): 

        Fig 1: Identifying Outer Mirror Switch Assembly Terminals
        G02825702Courtesy of © TOYOTA, LICENSE AGREEMENT TMS1002
        Fig 2: Left/Right Side Mirror Adjustment Switch Continuity Table (Left Side)
        G02825700Courtesy of © TOYOTA, LICENSE AGREEMENT TMS1002

        If the result is not as specified, replace the switch assembly.

      2. Right side for left/right adjustment switch:

        Inspect the mirror switch continuity.

        Standard (Right side): 

        Fig 3: Left/Right Side Mirror Adjustment Switch Continuity Table (Right Side)
        G02825701Courtesy of © TOYOTA, LICENSE AGREEMENT TMS1002

        If the result is not as specified, replace the switch assembly.

  2. INSPECT OUTER REAR VIEW MIRROR ASSY LH 
    1. Disconnect the outer rear view mirror assembly LH connector.
    2. Inspect the mirror motor operation.
      1. Apply battery voltage as shown in the table.

      Standard: 

      Fig 4: Identifying Outer Rear View Mirror Assembly LH Operation And Connector Terminals
      G02825704Courtesy of © TOYOTA, LICENSE AGREEMENT TMS1002
      Fig 5: Outer Rear View Mirror Assembly LH Operation Table
      G02825703Courtesy of © TOYOTA, LICENSE AGREEMENT TMS1002

      If the result is not as specified, replace the mirror assembly.

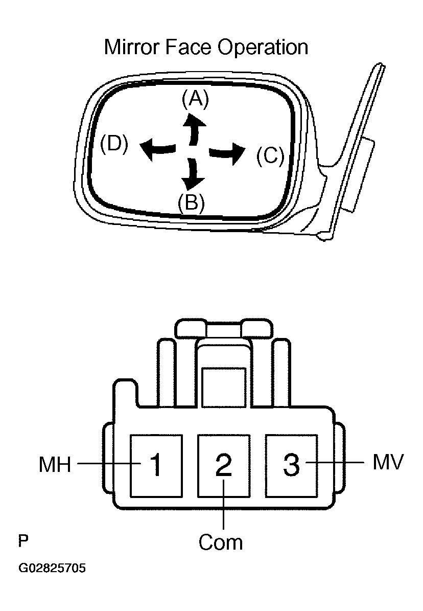
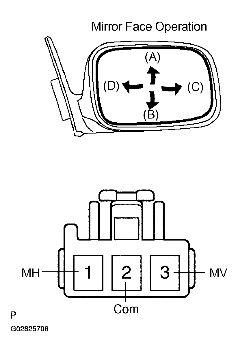
  3. INSPECT OUTER REAR VIEW MIRROR ASSY RH 
    1. Disconnect the outer rear view mirror assembly RH connector.
    2. Inspect the mirror motor operation.
      1. Apply battery voltage as shown in the table.

      Standard: 

      Fig 6: Identifying RH Outer Rear View Mirror Operation And Mirror Connector Terminals
      G02825706Courtesy of © TOYOTA, LICENSE AGREEMENT TMS1002
      Fig 7: Identifying Outer Rear View Mirror Assembly RH Operation And Connector Terminals
      G02825705Courtesy of © TOYOTA, LICENSE AGREEMENT TMS1002

      If the result is not as specified, replace the mirror assembly.