lemon-mirror:
Home >> Toyota >> 2003 >> Corolla LE, Automatic >> Repair and Diagnosis >> Electrical >> Horns >> Inspection

Repair and Diagnosis: Electrical: Horns: Inspection

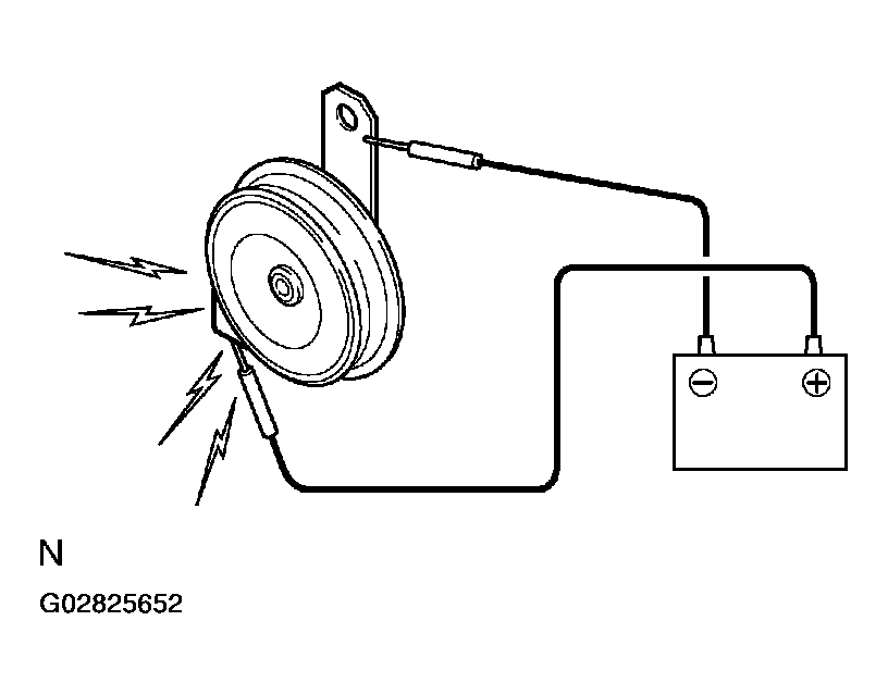
  1. INSPECT LOW PITCHED HORN ASSY 
    1. Connect the positive (+) lead from the battery to the terminal and the negative (-) lead to the horn body, and check that the horn blows.

    If the result is not as specified, replace the horn.

    Fig 1: Inspecting Low Pitched Horn Assembly
    G02825652Courtesy of © TOYOTA, LICENSE AGREEMENT TMS1002
  2. INSPECT HORN RELAY ASSY (Marking: HORN) 
    1. Remove the horn relay from the engine room J/B.
    2. Inspect the horn relay continuity.

      Standard: 

      Fig 2: Identifying Horn Relay Terminals
      G02825653Courtesy of © TOYOTA, LICENSE AGREEMENT TMS1002
      Fig 3: Horn Relay Continuity Table
      G02825654Courtesy of © TOYOTA, LICENSE AGREEMENT TMS1002

      If the result is not as specified, replace the relay.