lemon-mirror:
Home >> Toyota >> 2003 >> Corolla LE, Automatic >> Repair and Diagnosis >> Suspension >> Wheel Alignment >> Front Wheel Alignment Procedures >> Adjustment

Front Wheel Alignment Procedures: Adjustment

  1. INSPECT TIRE (See  INSPECTION  ) 
  2. MEASURE VEHICLE HEIGHT 

    Vehicle height: 

    Vehicle Height Table

    Front A - B: 87 mm (3.43 in.)
    Rear D - C 43 mm (1.69 in.)
    1. Measuring points: 
    2. A: Ground clearance of front wheel center 
    3. B: Ground clearance of lower suspension arm front bolt center 
    4. C: Ground clearance of axle beam set bolt center 
    5. D: Ground clearance of rear wheel center 
    Fig 1: Identifying Vehicle Height Measuring Points
    G02824897Courtesy of © TOYOTA, LICENSE AGREEMENT TMS1002
    NOTE: Before inspecting the wheel alignment, adjust the vehicle height to the specified value.

    If the vehicle height is not the specified value, try to adjust it by pushing down on or lifting the body.

  3. INSPECT TOE-IN 

    Toe-in: 

    Vehicle Toe-In Table

    Toe-in (total) A + B: 0° +/- 12' (0° +/- 0.2°) C - D: 0 +/- 2 mm (0 +/- 0.08 in.)

    If the toe-in is not within the specified value, adjust it at the rack ends.

    Fig 2: Adjusting Toe-In Of Wheels
    G02824898Courtesy of © TOYOTA, LICENSE AGREEMENT TMS1002
  4. ADJUST TOE-IN 
    1. Remove the rack boot set clips.
    2. Loosen the tie rod end lock nuts.
    3. Turn the right and left rack ends by an equal amount to adjust the toe-in.

      HINT:

      Try to adjust the toe-in to the center of the specified value.

    4. Make sure that the lengths of the right and left rack ends are the same.

      Rack end length difference: 1.5 mm (0.059 in.) or less 

    5. Torque the tie rod end lock nuts.

      Torque: 74 N.m (755 kgf.cm, 55 ft.lbf) 

    6. Place the boots on the seats and install the clips.

    HINT:

    Make sure that the boots are not twisted.

    Fig 3: Tightening Tie-Rod End Lock Nut
    G02824899Courtesy of © TOYOTA, LICENSE AGREEMENT TMS1002
  5. INSPECT WHEEL ANGLE 
    1. Turn the steering wheel fully and measure the turning angle.

      Wheel turning angle: 

      Wheel Turning Angle Table

      Inside wheel 37°06' (37.10°) +/- 2°
      Outside wheel: Reference 31°49' (31.82°)

      If the right and left inside wheel angles differ from the specified value, check the right and left rack end lengths.

      Fig 4: Measuring Turning Angle Of Wheels
      G02824900Courtesy of © TOYOTA, LICENSE AGREEMENT TMS1002
  6. INSPECT CAMBER, CASTER AND STEERING AXIS INCLINATION 
    1. Install the camber-caster-kingpin gauge or position vehicle on wheel alignment tester.
    2. Inspect the camber, caster and steering axis inclination.

      Camber, caster and steering axis inclination: 

      Camber, Caster And Steering Axis Inclination Specification

      Camber : Right-left error -0 °32' +/- 45' (-0.53° +/- 0.75°) 45' (0.75°) or less
      Caster : Right-left error 2°50' +/- 45' (2.83° +/- 0.75°) 45' (0.75°) or less
      Steering axis inclination : Right-left error 11°21' +/- 45' (11.35° +/-0.75°) 45' (0.75°) or less

      If the caster and steering axis inclination are not within the specified values, after the camber has been correctly adjusted, recheck the suspension parts for damaged and/or worn out parts.

      Fig 5: Identifying Alignment Tester And Gauge
      G02824901Courtesy of © TOYOTA, LICENSE AGREEMENT TMS1002
  7. ADJUST CAMBER 
    NOTE: After the camber has been adjusted, inspect the toe-in.
    1. Remove the front wheel.
    2. Remove the 2 nuts on the lower side of the shock absorber assy front LH.
      NOTE: When removing nut, stop the bolt from rotating and loosen the nut.
    3. Clean the installation surfaces of the shock absorber assy front LH and the steering knuckle.
    4. Temporarily install the 2 nuts.
      Fig 6: Removing Nuts On Lower Side Of Shock Absorber Assy Front LH
      G02824902Courtesy of © TOYOTA, LICENSE AGREEMENT TMS1002
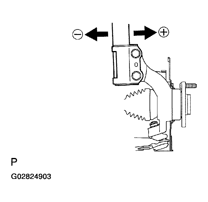
    5. Adjust the camber by pushing or pulling the lower side of the shock absorber in the direction in which the camber adjustment is required.
    6. Tighten the nuts.

      Torque: 153 N.m (1,560 kgf.cm, 113 ft.lbf) 

    7. Install the front wheel.

      Torque: 103 N.m (1,050 kgf.cm, 76 ft.lbf) 

      Fig 7: Adjusting Camber By Pushing Or Pulling Lower Side Of Shock Absorber
      G02824903Courtesy of © TOYOTA, LICENSE AGREEMENT TMS1002
    8. Check the camber.

      HINT:

      • Try to adjust the camber to the center of the specified value.
      • Adjusting value for the set bolts is -1°30' - 0°30' (-1.5° - 0.5°).

      If the camber is not within the specified value, using the following table, estimate how much additional camber adjustment will be required, and select the camber adjusting bolt.

      Fig 8: Identifying Wheel Hub Assembly
      G02824904Courtesy of © TOYOTA, LICENSE AGREEMENT TMS1002
      Fig 9: Bolts Adjusting Value Chart
      G02824905Courtesy of © TOYOTA, LICENSE AGREEMENT TMS1002
    9. Perform the steps mentioned above again. At step (e), replace 1 or 2 selected bolts.

    HINT:

    When replacing the 2 bolts, replace 1 bolt at a time.