lemon-mirror:
Home >> Toyota >> 2003 >> Land Cruiser >> Repair and Diagnosis >> Electrical >> Gauges >> Combination Meter >> Inspection

Combination Meter: Inspection

  1. INSPECT COMBINATION METER CIRCUIT 

    Connect the connector C12, C13, C14 and C15 to the combination meter and inspect the wire harness side connectors from the back side as shown in the table.

    Fig 1: Identifying Terminals Of Combination Meter Circuit Connectors
    G02827521Courtesy of © TOYOTA, LICENSE AGREEMENT TMS1002
    Fig 2: Combination Meter Circuit Specifications Table (1 Of 3)
    G02827522Courtesy of © TOYOTA, LICENSE AGREEMENT TMS1002
    Fig 3: Combination Meter Circuit Specifications Table (2 Of 3)
    G02827523Courtesy of © TOYOTA, LICENSE AGREEMENT TMS1002
    Fig 4: Combination Meter Circuit Specifications Table (3 Of 3)
    G02827524Courtesy of © TOYOTA, LICENSE AGREEMENT TMS1002

    If a circuit is not as specified, inspect the applicable circuit.

  2. INSPECT SPEEDOMETER/ON-VEHICLE 

    Using a speedometer tester, inspect the speedometer for allowable indication error and check the operation of the odometer.

    HINT:

    Tire wear and tire over or under inflation will increase the indication error.

    SPEEDOMETER RANGE TESTING

    USA (mph) CANADA (km/h)
    Standard indication Allowable range Standard indication Allowable range
    20 18 - 24 20 17 - 24
    40 38 - 44 40 38 - 46
    60 56 - 66 60 57.5 - 67
    80 78 - 88 80 77 - 88
    100 98 - 110 100 96 - 109
    120 118 - 132 120 115 - 130
    - - 140 134 - 151.5
    - - 160 153 - 173

    If error is excessive, replace the combination meter.

  3. INSPECT SPEEDOMETER VOLTAGE 
    Fig 5: Identifying Speedometer Connector (C15) Terminals (11 And 6)
    G02827525Courtesy of © TOYOTA, LICENSE AGREEMENT TMS1002
    1. While driving the vehicle at the speed of 10 km/h, check the voltage between the terminals 16 and 1 of the combination meter assembly.

    STANDARD: Fluctuation between 10 to 14 V or less is repeated 7 times within 1 sec. 

  4. INSPECT VEHICLE SPEED SENSOR OPERATION 
    Fig 6: Identifying Vehicle Speed Sensor Connector Terminals
    G02827526Courtesy of © TOYOTA, LICENSE AGREEMENT TMS1002
    1. Connect the positive (+) lead from the battery to terminal 1 and negative (-) lead to terminal 2.
    2. Connect the positive (+) lead from the tester to terminal 3 and the negative (-) lead to terminal 2.
    3. Rotate the shaft.
    4. Check that there is voltage change from approx. 0V to 11 V or more between terminals 2 and 3.

    HINT:

    The voltage change should be performed 4 times for every revolution is not as specified, replace the sensor.

  5. INSPECT TACHOMETER/ON-VEHICLE 
    1. Connect a tune-up test tachometer, and start the engine.
    2. Compare the tester and tachometer indications.
    TESTER & TACHOMETER INDICATIONS - DC 13.5 V @ 25°C (77°F)

    Allowable indication (rpm) Allowable range (rpm)
    700 630 - 770
    1,000 900 - 1,100
    2,000 1,850 - 2,150
    3,000 2,800 - 3,200
    4,000 3,800 - 4,200
    5,000 4,800 - 5,200
    6,000 5,750 - 6,250
    7,000 6,700 - 7,300
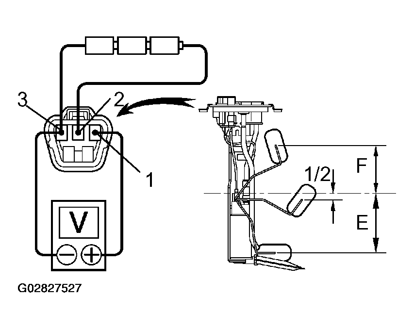
  6. INSPECT FUEL SENDER GAUGE VOLTAGE 
    Fig 7: Measuring Fuel Sender Gauge Voltage
    G02827527Courtesy of © TOYOTA, LICENSE AGREEMENT TMS1002
    1. Apply voltage (4.5 V - 5.0 V) between terminals 2 and 3.
    2. Measure voltage between terminals 1 and 2 for each float position.
    FUEL SENDER GAUGE VOLTAGE

    Float position mm (in.) Voltage (V)
    F: Approx. 85.3 (3.36) Approx. 4.60 +/- 0.1
    1/2: Approx. 1.7 (0.67) Approx. 2.45 +/- 0.1
    E: Approx. 91.9 (3.62) Approx. 0.30 +/- 0.1

    If voltage value is not as specified, replace main sender gauge.

  7. INSPECT LOW OIL PRESSURE WARNING LIGHT 
    1. Disconnect the connector from the low oil pressure switch.
    2. Turn the ignition switch ON.
    3. Connect the terminal of wire harness side connector and ground, then check the warning light.
  8. INSPECT PARKING BRAKE WARNING LIGHT 
    1. Disconnect the connector from the parking brake switch and ground terminal on the wire harness side connector.
    2. Turn the ignition switch ON and check that the warning light lights up.
  9. INSPECT BRAKE WARNING LIGHT 
    1. Disconnect the connector from the brake fluid level warning switch and ground terminal on the wire harness side connector.
    2. Turn the ignition switch ON and check that the warning light lights up.
  10. INSPECT BRAKE FLUID LEVEL WARNING SWITCH 
    1. Remove the reservoir tank cap and retainer.
    2. Disconnect the connector.
    3. Check that the continuity exists between the terminal.
    4. Use syphon, etc., to take fluid out of the reservoir tank.
    5. Check that the continuity exists between terminals.
    6. Pour the fluid back in the reservoir tank.
  11. INSPECT OPEN DOOR WARNING LIGHT 
    1. Disconnect the connector from the driver door courtesy switch and ground terminal on the wire harness side connector.
    2. Turn the ignition switch ON and check that the warning light lights up.
  12. INSPECT SEAT BELT WARNING BUZZER 
    Fig 8: Identifying Seat Belt Warning Buzzer Connector Terminals
    G02827528Courtesy of © TOYOTA, LICENSE AGREEMENT TMS1002
    1. Disconnect the connector from the combination meter.
    2. Connect the positive (+) lead from the battery terminal 12 and negative (-) lead terminal 1.
    3. Check that the buzzer stop after 4 to 8 seconds.
    4. Check that the buzzer stops when connecting the terminal 11 to the GND.
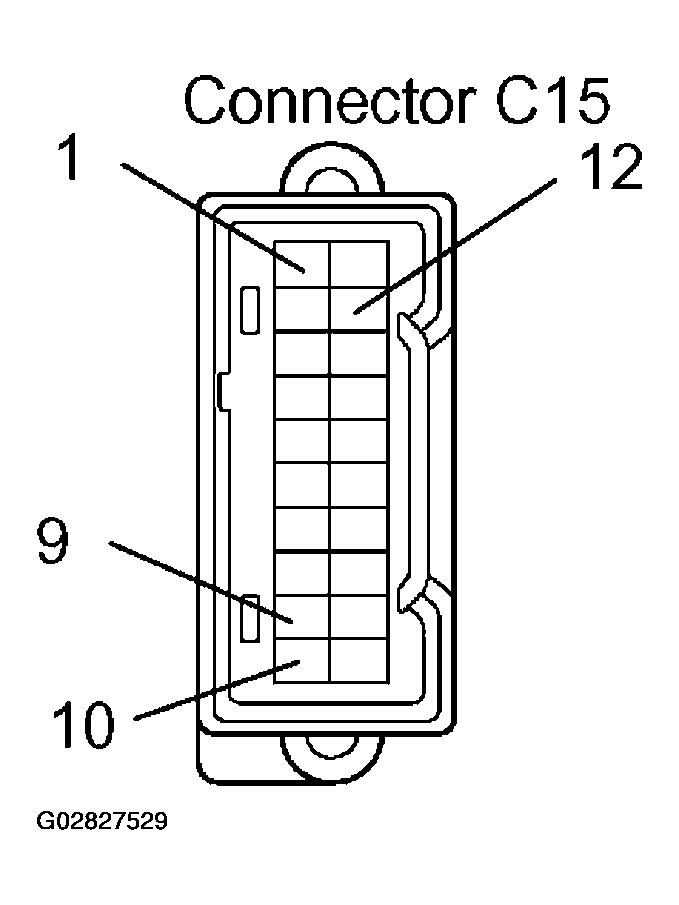
  13. INSPECT KEY UNLOCK WARNING BUZZER 
    Fig 9: Inspecting Key Unlock Warning Buzzer Connector Terminals
    G02827529Courtesy of © TOYOTA, LICENSE AGREEMENT TMS1002
    1. Disconnect the connector from the combination meter.
    2. Connect the positive (+) lead from the battery terminal 12 and negative (-) lead terminal 1.
    3. Connect the negative (-) lead from battery terminal 9 and 10, check that the buzzer sound.
  14. INSPECT SEAT BELT WARNING LIGHT 
    1. Disconnect the connector from the seat belt buckle switch and ground terminal on the wire harness side connector.
    2. Turn the ignition switch ON and check that the warning light lights up.
  15. INSPECT SEAT BELT BUCKLE SWITCH CONTINUITY 
    Fig 10: Inspecting Seat Belt Buckle Switch Continuity
    G02827530Courtesy of © TOYOTA, LICENSE AGREEMENT TMS1002
    SEAT BELT SWITCH CONTINUITY

      Tester connection Belt fastened (Belt unfastened)
    Seat belt buckle SW (D) 1 - 4 ON (OFF)
    Seat belt buckle SW (P) 2 - 4 OFF (ON)

    If operation is not as specified, replace the switch.

  16. INSPECT SEAT BELT BUCKLE SWITCH CIRCUIT 
    Fig 11: Inspecting Seat Belt Buckle Switch
    G02827531Courtesy of © TOYOTA, LICENSE AGREEMENT TMS1002

    Disconnect the switch connector and inspect the connector on wire harness side, as shown.

    SEAT BELT BUCKLE SWITCH CONTINUITY

    Tester connection Condition Specified condition
    4 - Ground Constant Continuity

    If continuity is not as specified, inspect the ground circuit.

  17. Passenger seat only: INSPECT SEAT BELT WARNING OCCUPANT DETECTION SENSOR CONTINUITY 
    Fig 12: Checking Seat Belt Warning Sensor
    G02827532Courtesy of © TOYOTA, LICENSE AGREEMENT TMS1002

    Check that continuity exists between the terminals 1 and 2 when pressing the sensing part of the lower seat cushion.

    If operation is not as specified, replace the sensor.

  18. INSPECT LIGHT CONTROL RHEOSTAT 
    Fig 13: Inspecting Light Control Rheostat Knob
    G02827533Courtesy of © TOYOTA, LICENSE AGREEMENT TMS1002
    1. Turn the rheostat knob OFF, and check that there is no continuity between terminal 5 and 4 (Rheostat knob turned to fully counterclockwise).
    2. Gradually, turn the rheostat knob from the dark side to bright side, and check that there is continuity between terminal 5 and 4 (Rheostat knob turned to clockwise).

    If operation is not as specified, replace the rheostat.

  19. INSPECT INCLINATION SENSOR 
    Fig 14: Inspecting Combination Meter Inclination Sensor
    G02827534Courtesy of © TOYOTA, LICENSE AGREEMENT TMS1002
    1. The inclination sensor is installed in the combination meter. Inspect the inclination sensor by connecting a battery positive (+) lead to terminal 11 (IGN+) of the meter connector, and a battery negative (-) lead to terminal 1 (E/G EARTH).
    2. Check if the voltage between terminal Vcc and GND of the inclination sensor connector is 5 V.
    3. Check the voltage between terminal OUT and GND when the bottom surface of the inclination sensor is in a level position. Also check the voltage when it is inclined backward or forward.

    Standard Value: 

    Bottom surface of sensor is set in a level position: 

    About 4.5 V 

    Bottom surface of sensor is inclined: 

    About 0.5 V