lemon-mirror:
Home >> Toyota >> 2003 >> Matrix Base, 4WD >> Repair and Diagnosis >> Brakes >> Traction Control >> Abs With EBD System - Diagnostics >> Pre-Check

Abs With EBD System - Diagnostics: Pre-Check

  1. DIAGNOSIS SYSTEM 
    Fig 1: Checking ABS-Warning Brake Light
    G02836767Courtesy of © TOYOTA, LICENSE AGREEMENT TMS1002
    1. Release the parking brake lever.
    2. Check the warning lights.

      When the ignition switch is turned ON, check that the ABS warning light and brake warning light goes on for approx. 3 seconds.

      NOTE:
    3. In case of not using hand-held tester: Check the DTC.
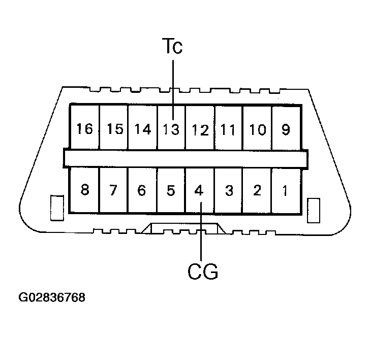
      Fig 2: Identifying TC Or CG Terminals
      G02836768Courtesy of © TOYOTA, LICENSE AGREEMENT TMS1002
      1. Using SST, it connects terminal TC and CG of DLC3.

        SST 09843-18040

      2. Turn the ignition switch to ON.
      3. Read the DTC from the ABS warning light on the combination meter.
        NOTE:
        • If no code appears, inspect the diagnostic circuit or ABS warning light circuit (See CIRCUIT DESCRIPTION  or BRAKE WARNING LIGHT CIRCUIT  ).
        • As an example, the blinking patterns for normal code and codes 11 are shown on the left.
      4. Codes are explained in the code table on DIAGNOSTIC TROUBLE CODE CHART  .
        Fig 3: ABS Warning Light Normal Code Graph
        G02836769Courtesy of © TOYOTA, LICENSE AGREEMENT TMS1002
      5. After completing the check, disconnect terminals TC and CG, and turn off the ignition switch.

        Even if 2 or more malfunctions are detected, the lowest numbered DTC will be displayed.

    4. In case of using hand-held tester: Check the DTC.
      Fig 4: Testing DTC By Using Hand-Held Tester
      G02836770Courtesy of © TOYOTA, LICENSE AGREEMENT TMS1002
      1. Hook up the hand-held tester to the DLC3.
      2. Turn the ignition switch to ON.
      3. Read the DTC by following the prompts on the tester screen.
      NOTE: Please refer to the hand-held tester operator's manual for further details.
    5. In case of not using hand-held tester: Clear the DTC.
      Fig 5: Locating Break Pedal
      G02836771Courtesy of © TOYOTA, LICENSE AGREEMENT TMS1002
      1. Using SST, it connects terminal TC and CG of DLC3.

        SST 09843-18040

      2. Turn the ignition switch to ON.
      3. Clear the DTC stored in ECU by depressing the brake pedal 8 or more times within 5 seconds.
      4. Check that the warning light shows the normal code.
      5. Remove the SST from the terminals of DLC3.

        SST 09843-18040

    6. In case of using hand-held tester:
      Fig 6: Inspecting Clear DTC
      G02836772Courtesy of © TOYOTA, LICENSE AGREEMENT TMS1002

      Clear the DTC.

      1. Hook up the hand-held tester to the DLC3.
      2. Turn the ignition switch to ON.
      3. Operate the hand-held tester to erase code.

      NOTE: Please refer to the hand-held tester operator's manual for further details.
  2. DATA LIST 
    NOTE: According to the DATA LIST displayed by the Hand-held tester, you can read the value of the switch, sensor, actuator and so on without parts removal. Reading the DATA LIST as a first step of troubleshooting is one of the method to shorten the labor time.
    1. Connect the Hand-held tester to the DLC3.
    2. Turn the ignition switch to ON.
    3. According to the display on tester, read the "DATA LIST".
    DATA LIST

    Item Measurement Item/Range (Display)
    ABS MOT RELAY ABS motor relay/ON or OFF
    SOL RELY Solenoid relay/ON or OFF
    Fig 7: Diagnostics Measurement Table
    G02836773Courtesy of © TOYOTA, LICENSE AGREEMENT TMS1002
  3. ACTIVE TEST 
    NOTE: Performing the ACTIVE TEST using the Hand-held tester allows the relay, actuator and so on to operate without parts removal. Performing the ACTIVE TEST as a first step of troubleshooting is one of the methods to shorten the labor time.

    It is possible to display the DATA LIST during the ACTIVE TEST

    1. Connect the Hand-held tester to the DLC3.
    2. Turn the ignition switch to ON.
    3. According to the display on tester, perform the "ACTIVE TEST".
      Fig 8: Vehicle Active Test Display List
      G02836774Courtesy of © TOYOTA, LICENSE AGREEMENT TMS1002

  4. FREEZE FRAME DATA 
    1. The vehicle (sensor) status at the occurrence of abnormality of the diagnosis code and during the ABS operating can be memorized and displayed using the hand-held tester
    2. Only one record of freeze frame data is stored, however, freeze frame data during the ABS operation is always updated. After the storage of freeze frame data, up to 31 ignition "ON" operations are stored and displayed.
      NOTE:
      • If the ignition switch "ON" operation exceeds 31 times, "31" appears on the display.
      • The ignition switch operation by itself does not count. (Driving the vehicle is necessary for the count.)
    3. If the diagnosis code abnormality occurs, the freeze frame data at the occurrence of the abnormality is stored but the ABS actuation data is deleted.
      Fig 9: Reference Valve Table
      G02836775Courtesy of © TOYOTA, LICENSE AGREEMENT TMS1002
  5. In case of not using hand-held tester: 

    SPEED SENSOR SIGNAL AND DECELERATION SENSOR (4WD) CHECK 

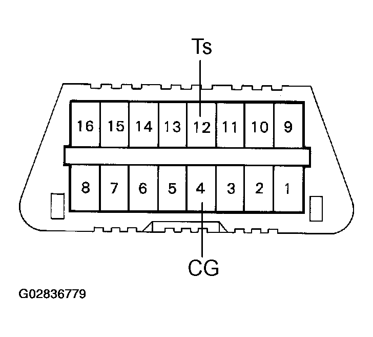
    Fig 10: Identifying TS Or CG Terminals
    G02836776Courtesy of © TOYOTA, LICENSE AGREEMENT TMS1002
    1. 2WD: Check the speed sensor signal.
      1. Turn the ignition switch to OFF.
      2. Using SST, it connects terminal TS and CG of DLC3.

        SST 09843-18040

      3. Start the engine.
      4. Check that the ABS warning light blinks.
        Fig 11: ABS Warning Light Blinks Graph
        G02836777Courtesy of © TOYOTA, LICENSE AGREEMENT TMS1002
        NOTE: If no code appears, inspect the diagnostic circuit or ABS warning light circuit (See TC TERMINAL CIRCUIT  or ABS WARNING LIGHT CIRCUIT (DOES NOT LIGHT UP)  ).
      5. Drive vehicle straight forward.
        NOTE: Drive vehicle faster than 45 km/h (28 mph) for several seconds.
      6. Stop the vehicle.
      7. Using SST, it connects terminal TC and CG of DLC3.

        SST 09843-18040

      8. Read the number of blinks of the ABS warning light.
        NOTE: Codes are explained in the code table on DIAGNOSTIC TROUBLE CODE CHART  .
        • If every sensor is normal, a normal code is output (A cycle of 0.25 sec. ON and 0.25 sec. OFF is repeating).
        • If 2 or more malfunction are indicated at the same time, the lowest numbered code will be displayed 1st.
          Fig 12: Malfunction Code Graph
          G02836778Courtesy of © TOYOTA, LICENSE AGREEMENT TMS1002
      9. After performing the check, disconnect terminal TS and CG, TC and CG of DLC3, and turn to OFF the ignition switch.
    2. 4WD:

      Check the deceleration sensor detection point.

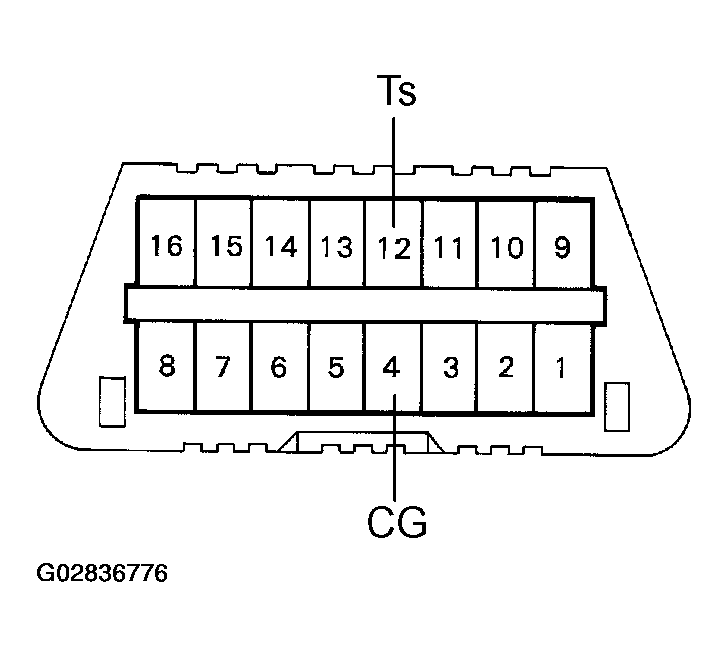
      Fig 13: Identifying TS Or CG Terminals
      G02836779Courtesy of © TOYOTA, LICENSE AGREEMENT TMS1002
      1. Turn the ignition switch to OFF.
      2. Using SST, it connects terminal TS and CG of DLC3.

        SST 09843-18040

      3. Start the engine.
      4. Check that the ABS warning light blinks.
        Fig 14: Identifying TS Or CG Graph
        G02836780Courtesy of © TOYOTA, LICENSE AGREEMENT TMS1002
        NOTE: If no code appears, inspect the diagnostic circuit or ABS warning light circuit (See TC TERMINAL CIRCUIT  or ABS WARNING LIGHT CIRCUIT (DOES NOT LIGHT UP)  ).
      5. Jack up the rear side of the vehicle slowly, as shown in the illustration.
        Fig 15: Locating Rear Jack Up Vehicle
        G02836781Courtesy of © TOYOTA, LICENSE AGREEMENT TMS1002
        NOTE: When measuring the height, measure at the center of the lower body of the vehicle.
      6. Check that the ABS warning light blinks.

        If the ABS warning light remains on, inspect the deceleration sensor installation. If the sensor installation is OK, replace the deceleration sensor.

      7. Jack down the vehicle slowly.
      8. Fig 16: Locating Front Jack Up Vehicle
        G02836782Courtesy of © TOYOTA, LICENSE AGREEMENT TMS1002
      9. Jack up the front side of the vehicle slowly, as shown in the illustration.
        NOTE: When measuring the height, measure at the center of the lower body of the vehicle.
      10. Check that the ABS warning light blinks.

        If the ABS warning light remains on, inspect the deceleration sensor installation. If the sensor installation is OK, replace the deceleration sensor.

      11. Jack down the vehicle slowly.
      12. Using SST, it connects terminal TC and CG of DLC3.

        SST 09843-18040

      13. Read the number of blinks of the ABS warning light.
        NOTE:
        • Codes are explained in the code table on DIAGNOSTIC TROUBLE CODE CHART  .
        • If every sensor is normal, a normal code is output (A cycle of 0.25 sec. ON and 0.25 sec. OFF is repeating).
      14. After performing the check, disconnect terminal TS and CG, TC and CG of DLC3, and turn to OFF the ignition switch.

        SST 09843-18040

  6. In case of using hand-held tester: 

    SPEED SENSOR SIGNAL AND DECELERATION SENSOR (4WD) CHECK 

    Fig 17: Checking Speed Sensor Signal
    G02836783Courtesy of © TOYOTA, LICENSE AGREEMENT TMS1002
    1. Check the speed sensor signal.
      1. Hook up the hand-held tester to the DLC3.
      2. Select the ACTIVE TEST mode on the hand-held tester.
      3. 2WD:

        Do step 5.  a,  3 to  6 on the previous page.

      4. 4WD:

        Do step 5.   4WD,  3 to ( 10 on the previous page and this page.

      5. Read the DTC by following the prompts on the tester screen.
      NOTE:
      • Please refer to the hand-held tester operator's manual for further details.
      • Codes are explained in the code table on DIAGNOSTIC TROUBLE CODE CHART  .