lemon-mirror:
Home >> Toyota >> 2003 >> Matrix Base, 4WD >> Repair and Diagnosis >> Electrical >> Gauges >> Instrument Panel/Meter >> On-Vehicle Inspection

On-Vehicle Inspection

  1. INSPECT SPEEDOMETER 
    1. Check the operation.
      1. Using a speedometer tester, inspect the speedometer fro allowable indication error and check the operation of the odometer.

        Reference: 

        SPEEDOMETER STANDARD INDICATION AND ALLOWABLE RANGE (USA/CANADA)

        USA (mph) CANADA (km/h)
        Standard Indication : Allowable Range Standard Indication : Allowable Range
        20 : 19 - 22 20 : 18 - 23
        40 : 39 - 42.5 40 : 40 - 44
        60 : 59 - 63 60 : 60 - 64.5
        80 : 79 - 83.5 80 : 80 - 85
        100 : 99 - 104 100 : 100 - 105
        120 : 119 - 124.5 120 : 120 - 125.5
        140 : 139 - 145 140 : 140 - 146
        - 160 : 160 - 167
        - 180 : 180 - 188
        - 200 : 200 - 209
        - 220 : 220 - 230
        NOTE: Tire wear and tire over or under inflation will increase the indication error.
      2. Check the deflection width of the speed meter indicator.

        Reference: Below 0.5 km/h / 0.3 mph 

  2. INSPECT OUTPUT SIGNAL OF VEHICLE SPEED 
    1. Check for standard signal.
      1. While driving the vehicle at the speed of 10 km/h, check the voltage between the terminals C9-17 and C9-20 of the combination meter assy.

        Standard: Fluctuation between 10 to 14 V or less is repeated 7 times within 1 sec. 

        NOTE: Check it with the ignition switch ON and the connector connected.
    2. Fig 1: Checking Voltage Between Terminals C9-17 & C9-20
      G02866895Courtesy of © TOYOTA, LICENSE AGREEMENT TMS1002
  3. INSPECT TACHOMETER 
    1. Check the operation
      1. Connect a tune-up test tachometer, and start the engine.
        NOTE:
        • Reversing the connection of the tachometer will damage the transistors and diodes inside.
        • When removing or installing the tachometer, be careful not to drop or subject it to heavy shocks.
      2. Compare the test and tachometer indications.

        DC 13.5 V, 25 °C at (77 °F) 

        TACHOMETER STANDARD INDICATION AND ALLOWABLE RANGE

        Standard Indication (r/min) Allowable Range (r/min) Data In () Are For Reference
        700 630 - 770
        1,000 (900 - 1,100)
        2,000 (1,850 - 2,150)
        3,000 2,800 - 3,200
        4,000 (3,800 - 4,200)
        5,000 4,800 - 5,200
        6,000 (5,750 - 6,250)
        7,000 6,700 - 7,300
        8,000 7,700 - 8,300
  4. INSPECT FUEL RECEIVER GAUGE 
    1. Inspect the circuit.
      1. Disconnect the connector from the sender gauge.
      2. Turn the ignition switch ON, then check the position of the receiver gauge needle.

        Needle position: EMPTY 

      3. Connect terminals 2 and 3 on the wire harness side connector and Turn the ignition switch ON, then check the position of the receiver gauge needle.

        Needle position: FULL 

      4. Fig 2: Connecting Terminals 2 & 3 On Wire Harness Side Of Connector
        G02866896Courtesy of © TOYOTA, LICENSE AGREEMENT TMS1002
  5. INSPECT FUEL LEVEL WARNING 
    1. Inspect the circuit.
      1. Disconnect the connector from the sender gauge.
      2. Turn the ignition switch ON, check the fuel level needle indicates EMPTY and fuel level warning lights light on.
  6. INSPECT WATER TEMPERATURE RECEIVER GAUGE WARNING LIGHT 
    1. Inspect the circuit.
      1. Disconnect the connector from the sender gauge.
      2. Turn the ignition switch ON, check the position of the water temperature receiver gauge needle.

        Needle position: COOL 

      3. Connect between terminals on the wire harness side connector, then check the position of the water temperature receiver gauge needle.

        Needle position: HOT 

  7. INSPECT LOW OIL PRESSURE WARNING LIGHT 
    1. Inspect the circuit.
      1. Disconnect the connector from the low oil pressure switch.
      2. Turn the ignition switch ON.
      3. Connect the terminal of wire harness side connector and ground, then check the warning low oil pressure warning light.

        Low oil pressure warning light: Light on 

  8. INSPECT LOW OIL PRESSURE SWITCH 
    1. Check the continuity.
      1. Disconnect the connector from the low oil pressure switch.
      2. Check that continuity exists between terminal and ground.

        Engine stopped: continuity 

        Engine running: no continuity 

  9. INSPECT BRAKE WARNING LIGHT 
    1. Inspect the parking brake warning light.
      1. Disconnect the connector from the parking brake switch and ground terminal on the wire harness side connector.
      2. Turn the ignition switch ON and check that the warning light lights up.
    2. Inspect the brake fluid level warning light.
      1. Disconnect the connector from the brake fluid level warning switch and connect terminals on the wire harness side connector.
      2. Turn the ignition switch ON and check that the warning light lights up.
  10. INSPECT BRAKE FLUID LEVEL WARNING SWITCH 
    1. Inspect the continuity.
      1. Remove the reservoir tank cap and strainer.
      2. Disconnect the connector.
      3. Check that the continuity exists between the terminals.

        Float up (switch off): No continuity 

      4. Use syphon, etc., to take fluid out of the reservoir tank.
      5. Check that the continuity exists between the terminals.

        Float down (switch on): Continuity 

      6. Pour the fluid back in the reservoir tank.
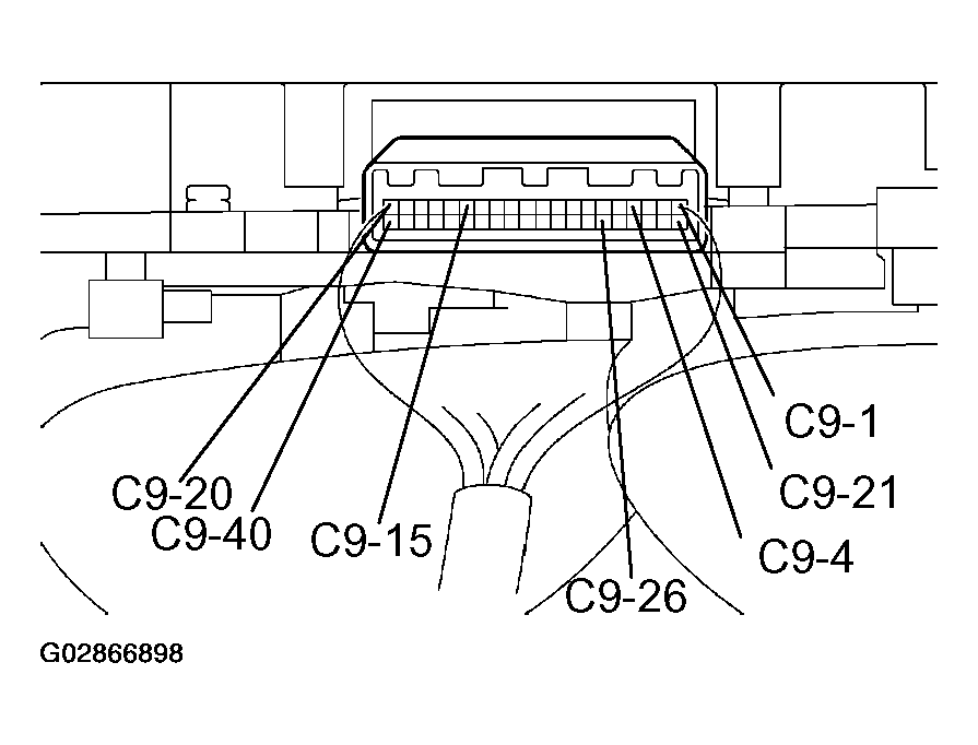
  11. INSPECT LIGHT AUTO TURN OFF BUZZER 
    1. Check the operation.
      NOTE: When the key unlock warning and light auto turn off warning is output simultaneously, the key unlock warning precedes the other.
      Fig 3: Inspecting Light Auto Turn Off Buzzer Pattern
      G02866897Courtesy of © TOYOTA, LICENSE AGREEMENT TMS1002
      1. Remove the ignition key with the tail light switch ON and the driver side door open and check for the buzzer.

        Buzzer sound: Continuous 

      2. While the buzzer is sounding, perform any of the following and check that the buzzer sound is stopped.
        • Turn the tail light switch OFF.
        • Close the driver side door.
        • Insert the ignition key into the key cylinder.
    2. Check the function.
      1. Remove the combination meter.
      2. Connect the position (+) lead from battery to terminal C9-1 and negative (-) lead to terminal C9-20 and C9-40.
      3. Connect the position (+) lead from battery to terminal C9-4 and negative (-) lead to terminal C9-15 and C9-26, check that the buzzer sound.

        Buzzer sound: Continuous 

      4. While the buzzer is sounding, connect the battery positive terminal to terminal C9-21 and check that the buzzer sound is stopped.
    3. Fig 4: Checking Function Of Terminals
      G02866898Courtesy of © TOYOTA, LICENSE AGREEMENT TMS1002
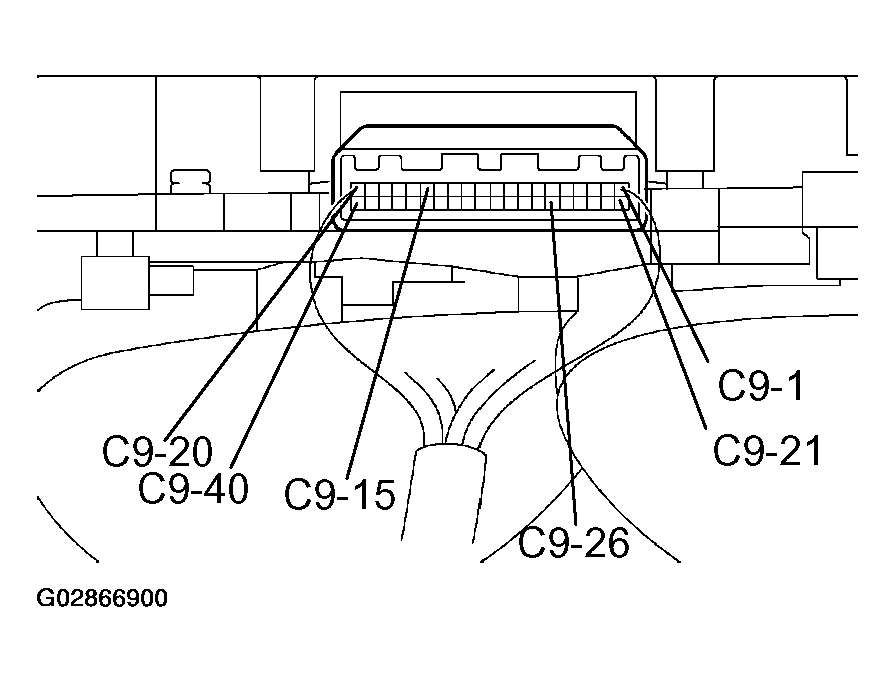
  12. INSPECT KEY UNLOCK WARNING BUZZER 
    1. Check the operation.
      NOTE: When the key unlock warning and light auto turn off warning is output simultaneously, the key unlock warning precedes the other.
      Fig 5: Inspecting Key Unlock Warning Buzzer Pattern
      G02866899Courtesy of © TOYOTA, LICENSE AGREEMENT TMS1002
      1. While the driver side door is open, insert the ignition key, set the ignition switch to OFF (LOCK or ACC) and check for the buzzer sound.

        Buzzer sound: Intermittent 

    2. Check the function.
      1. Remove the combination meter.
      2. Connect the position (+) lead from battery to terminal C9-1 and negative (-) lead to terminal C9-20 and C9-40.
      3. Connect the negative (-) lead to terminal C9-15 and C9-26, check that the buzzer sound.

        Buzzer sound: Intermittent 

      4. While the buzzer is sounding, connect the battery positive terminal to terminal C9-21 and check that the buzzer sound is stopped.
    3. Fig 6: Checking Function Terminals
      G02866900Courtesy of © TOYOTA, LICENSE AGREEMENT TMS1002