lemon-mirror:
Home >> Toyota >> 2003 >> RAV4 EV >> Repair and Diagnosis >> Body & Frame >> Windows >> Windshield >> Removal

Body & Frame: Windows: Windshield: Removal

  1. REMOVE INNER REAR VIEW MIRROR 
  2. REMOVE ROOF CONSOLE BOX 
    1. Using a screwdriver, remove roof console box cover.
      NOTE: Tape the screwdriver tip before use.
    2. Remove the 3 screws and roof console box, then disconnect the connector.
  3. REMOVE SUN VISORS AND HOLDERS 
    1. Remove the 4 screws and 2 sun visors.
    2. Remove the 2 holders.
  4. REMOVE FRONT PILLAR GARNISHES 
  5. REMOVE WIPER ARMS 
  6. REMOVE COWL TOP VENTILATOR LOUVER AND HOOD TO COWL TOP SEAL 
  7. REMOVE WINDSHIELD OUTSIDE MOULDING 
  8. REMOVE WINDSHIELD MOULDING 
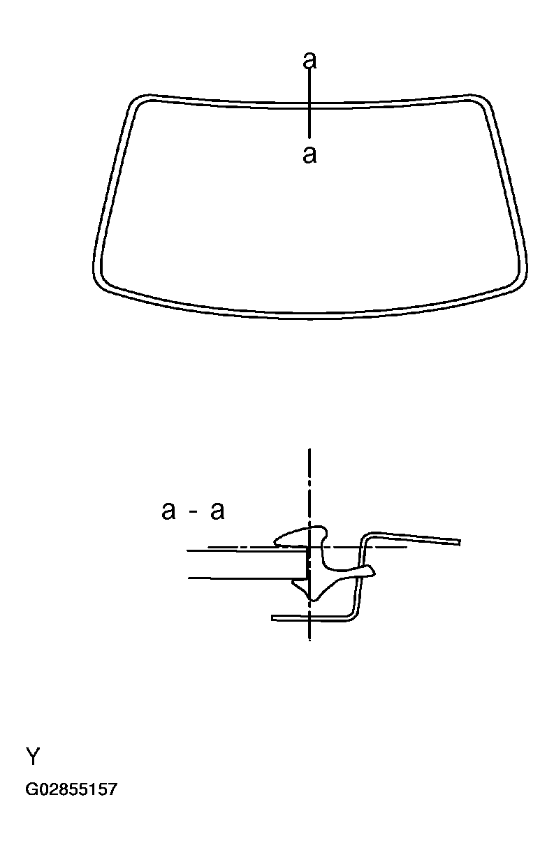
    Fig 1: Removing Windshield Moulding
    G02855157Courtesy of © TOYOTA, LICENSE AGREEMENT TMS1002
    1. Using a knife, cut off the moulding as shown in the illustration.
      NOTE: Do not damage the body with the knife.
    2. Remove the remaining moulding.
  9. REMOVE WINDSHIELD GLASS 
    1. Push a piano wire through between the body and glass from the interior.
    2. Tie both wire ends to wooden blocks or similar objects.
      Fig 2: Tie Both Wire Ends To Wooden Blocks
      G02855158Courtesy of © TOYOTA, LICENSE AGREEMENT TMS1002
      NOTE: Apply protective tape to the outer surface to keep the surface from being scratched.
      NOTE: When separating the glass, take care not to damage the paint and interior and exterior ornaments. To prevent scratching the safety pad when removing the windshield, place a plastic sheet between the piano wire and safety pad.
    3. Cut the adhesive by pulling the piano wire around it.
    4. Fig 3: Cutting Adhesive By Pulling Piano Wire
      G02855159Courtesy of © TOYOTA, LICENSE AGREEMENT TMS1002
    5. Remove the glass.
    NOTE: Leave as much of the adhesive on the body as possible when cutting off the glass.