lemon-mirror:
Home >> Toyota >> 2003 >> RAV4 EV >> Repair and Diagnosis >> Electrical >> Gauges >> Combination Meter >> Inspection

Combination Meter: Inspection

  1. INSPECT SPEEDOMETER ON-VEHICLE 

    Using a speedometer tester, inspect that the speedometer reading is within the allowable, and check the operation of the odometer.

    NOTE: Tire wear and tire over or under inflation will cause the reading error.
    SPEEDOMETER INSPECTION RANGE

    USA (mph) CANADA (km/h)
    Standard Indication Allowable Range Standard Indication Allowable Range
    20 20 - 23 20 18 - 23
    40 40 - 43.5 40 40 - 44
    60 60 - 64 60 60 - 64.5
    80 80 - 84.5 80 80 - 85
    100 100 - 105 100 100 - 105
    120 120 - 125.5 120 120 - 125.5
        140 140 - 146
        160 160 - 167
        180 180 - 188

    If the indicated value is out of the allowable range, replace the combination meter (See REMOVAL )

  2. INSPECT SPEEDOMETER RESISTANCE 

    Measure the resistance between terminals with an ohmmeter at the positions shown in the illustration.

    Fig 1: Identifying Speedometer Terminals
    G02854878Courtesy of © TOYOTA, LICENSE AGREEMENT TMS1002
    Fig 2: Speedometer Resistance Specifications
    G02854877Courtesy of © TOYOTA, LICENSE AGREEMENT TMS1002

    If resistance value is not as specified, replace the combination meter (See REMOVAL )

  3. INSPECT TACHOMETER ON-VEHICLE 
    1. Connect a tune-up test tachometer, and start the engine.
      NOTE: Reversing the connection of the tachometer will damage the transistors and diodes inside.
    2. Compare the tester reading with tachometer reading.

      RPM (DC 13.5 V, 25°C (77°F)) ( ): Reference 

      TESTER AND TACHOMETER READING

      Standard Indication Allowable Range
      700 630 - 770
      (1,000) (900-1,100)
      (2,000) (1,850-2,150)
      3,000 2,800 - 3,200
      (4,000) (3,800 - 4,200)
      5,000 4,800 - 5,200
      (6,000) (5,750 - 6,250)
      7.000 6.700 - 7.300

    If the indicated value is out of the allowable range, replace the combination meter (See REMOVAL )

  4. INSPECT TACHOMETER RESISTANCE 
    Fig 3: Identifying Tachometer Terminals
    G02854880Courtesy of © TOYOTA, LICENSE AGREEMENT TMS1002

    Measure the resistance between terminals with an ohmmeter at the positions shown in the illustration.

    Fig 4: Tachometer Resistance Specifications
    G02854879Courtesy of © TOYOTA, LICENSE AGREEMENT TMS1002

    If resistance value is not as specified, replace the combination meter (See REMOVAL )

  5. INSPECT FUEL RECEIVER GAUGE OPERATION 
    NOTE: Put the vehicle on a level spot.
    1. Disconnect the connector from the main fuel pump assembly.
    2. Turn the ignition switch ON, check that the receiver gauge needle indicates EMPTY.
    3. Fig 5: Inspecting Fuel Receiver Gauge Operation
      G02854881Courtesy of © TOYOTA, LICENSE AGREEMENT TMS1002
    4. Connect terminals 2 and 3 of the wire harness side connector through a 3.4 W test bulb.
    5. Fig 6: Using 3.4 W Test Bulb To Inspect Fuel Receiver Gauge Operation
      G02854882Courtesy of © TOYOTA, LICENSE AGREEMENT TMS1002
    6. Turn the ignition switch ON, check that the bulb lights up and receiver gauge needle move to full side.

    If operation is not as specified, inspect the main and sub sender gauge resistance.

  6. INSPECT FUEL RECEIVER GAUGE RESISTANCE 
    Fig 7: Identifying Fuel Receiver Gauge Terminals
    G02854884Courtesy of © TOYOTA, LICENSE AGREEMENT TMS1002

    Measure the resistance between terminals with an ohmmeter at the positions shown in the illustration.

    Fig 8: Fuel Receiver Gauge Resistance Specifications
    G02854883Courtesy of © TOYOTA, LICENSE AGREEMENT TMS1002

    If resistance value is not as specified, replace the combination meter (See REMOVAL )

  7. INSPECT MAIN FUEL SENDER GAUGE RESISTANCE 
    Fig 9: Identifying Fuel Sender Gauge Terminals
    G02854886Courtesy of © TOYOTA, LICENSE AGREEMENT TMS1002

    Measure the resistance between terminals 2 and 3 for each float position.

    Fig 10: Fuel Sender Gauge Resistance Specifications
    G02854885Courtesy of © TOYOTA, LICENSE AGREEMENT TMS1002

    If resistance value is not as specified, replace the sender gauge.

  8. INSPECT SUB FUEL SENDER GAUGE RESISTANCE 
    Fig 11: Identifying Sub Fuel Sender Gauge Terminals
    G02854888Courtesy of © TOYOTA, LICENSE AGREEMENT TMS1002

    Measure the resistance between terminals 1 and 2 for each float position.

    Fig 12: Sub Fuel Sender Gauge Resistance Specifications
    G02854887Courtesy of © TOYOTA, LICENSE AGREEMENT TMS1002

    If resistance value is not as specified, replace the sender gauge.

  9. INSPECT ENGINE COOLANT TEMPERATURE RECEIVER GAUGE RESISTANCE 
    Fig 13: Identifying Coolant Temperature Receiver Gauge Terminals
    G02854890Courtesy of © TOYOTA, LICENSE AGREEMENT TMS1002

    Measure the resistance between terminals with an ohmmeter at the positions shown in the illustration.

    Fig 14: Coolant Temperature Receiver Gauge Resistance Specifications
    G02854889Courtesy of © TOYOTA, LICENSE AGREEMENT TMS1002

    If resistance value is not as specified, replace the combination meter (See REMOVAL )

  10. INSPECT LOW OIL PRESSURE WARNING LIGHT 
    1. Disconnect the connector from the warning switch and ground terminal of the wire harness side connector.
    2. Fig 15: Testing Low Oil Pressure Warning Light
      G02854891Courtesy of © TOYOTA, LICENSE AGREEMENT TMS1002
    3. Turn the ignition switch ON, check that the warning light lights up.

    If the warning light does not light up, test the LED or inspect wire harness.

  11. INSPECT LOW OIL PRESSURE SWITCH CONTINUITY 
    1. Check that continuity exists between terminal and ground with the engine stopped.
    2. Fig 16: Inspecting Low Oil Pressure Switch Continuity
      G02854892Courtesy of © TOYOTA, LICENSE AGREEMENT TMS1002
    3. Check that no continuity exists between terminal and ground with the engine running.
    NOTE: The oil pressure should be over 24.5 kPa (0.25 kgf/cm2 , 3.55 psi).

    If operation is not as specified, replace the switch.

  12. INSPECT BRAKE WARNING SYSTEM LIGHT 
    Fig 17: Inspecting Brake Warning System Light
    G02854893Courtesy of © TOYOTA, LICENSE AGREEMENT TMS1002
    1. Disconnect the connector from the brake fluid warning switch.
    2. Connect terminals of the wire harness side of the level warning switch connector.
    3. Start the engine, check that the warning light lights up.

      If the warning light does not light up, test the LED or wire harness.

  13. INSPECT BRAKE FLUID LEVEL WARNING SWITCH CONTINUITY 
    1. Remove the reservoir cap and strainer.
    2. Disconnect the connector.
    3. Fig 18: Identifying Brake Fluid Level Warning Switch Terminals
      G02854894Courtesy of © TOYOTA, LICENSE AGREEMENT TMS1002
    4. Check that no continuity exists between terminals with the switch OFF (float up).
    5. Use syphon, etc. to take fluid out of the reservoir.
    6. Check that continuity exists between terminals with the switch ON (float down).
    7. Pour the fluid back in the reservoir.

    If operation is not as specified, replace the switch.

  14. INSPECT PARKING BRAKE WARNING LIGHT 
    Fig 19: Inspecting Parking Brake Warning Light
    G02854895Courtesy of © TOYOTA, LICENSE AGREEMENT TMS1002
    1. Disconnect the connector from the parking brake switch.
    2. Ground the terminal of the wire harness side connector.
    3. Start the engine, check that the warning light lights up. If the warning light does not light up, test the LED or inspect wire harness.
  15. INSPECT PARKING BRAKE SWITCH CONTINUITY 
    Fig 20: Inspecting Parking Brake Switch Continuity
    G02854896Courtesy of © TOYOTA, LICENSE AGREEMENT TMS1002
    1. Check that continuity exists between terminal and switch body with the switch ON (switch pin released).
    2. Check that no continuity exists between terminal and switch body with the switch OFF (switch pin pushed in).

    If operation is not as specified, replace the switch or inspect ground point.

  16. Except back door: 
    1. INSPECT OPEN DOOR WARNING LIGHT 
    2. Fig 21: Inspecting Open Door Warning Light
      G02854897Courtesy of © TOYOTA, LICENSE AGREEMENT TMS1002
    1. Disconnect the connector from the door courtesy switch.
    2. Ground the terminal of the wire harness side connector.
    3. Start the engine, check that the warning light lights up. If the warning light does not light up, test the LED or inspect wire harness.
  17. Back door only: 
    1. INSPECT OPEN DOOR WARNING LIGHT 
    2. Fig 22: Inspecting Open Door Warning Light
      G02854898Courtesy of © TOYOTA, LICENSE AGREEMENT TMS1002
    1. Disconnect the connector from the back door courtesy switch and ground the terminal on the wire harness side connector.
    2. Start the engine, check that the warning light lights up.

    If the warning light does not light up, test the LED or inspect wire harness.

  18. Driver's side: 
    1. INSPECT SEAT BELT WARNING LIGHT 
    2. Fig 23: Inspecting Open Door Warning Light
      G02854899Courtesy of © TOYOTA, LICENSE AGREEMENT TMS1002
    1. Disconnect the connector from the buckle switch and ground the terminal on the wire harness side connector.
    2. Turn the ignition switch ON and check that the warning light lights up.

    If the warning light does not light up, test the LED or inspect wire harness.

  19. Driver's side: 
    1. INSPECT BUCKLE SWITCH CONTINUITY 
    2. Fig 24: Identifying Buckle Switch Terminals
      G02854900Courtesy of © TOYOTA, LICENSE AGREEMENT TMS1002
    1. Check that continuity exists between terminals 1 and 2 the switch side connectors with the switch ON (belt unfastened).
    2. Check that no continuity exists between terminals 1 and 2 the switch side connectors with the switch OFF (belt fastened).

    If operation is not as specified, replace the switch.

  20. Passenger's side: 
    1. INSPECT BUCKLE SWITCH CONTINUITY 
    2. Fig 25: Identifying Buckle Switch Terminals
      G02854901Courtesy of © TOYOTA, LICENSE AGREEMENT TMS1002
    1. Check that continuity exists between terminals 1 and 2 on the switch side connectors with the switch ON (belt unfastened).
    2. Check that no continuity exists between terminals 1 and 2 on the switch side connectors with the switch OFF (belt fastened).

    If operation is not as specified, replace the switch.

  21. Passenger's seat only: 
    1. INSPECT SEAT BELT WARNING OCCUPANT DETECTION SENSOR CONTINUITY 

    Press the sensing part and check that continuity exists between terminals 1 and 2.

    Fig 26: Identifying Seat Belt Warning Occupant Detection Sensor Terminals
    G02854902Courtesy of © TOYOTA, LICENSE AGREEMENT TMS1002

    If operation is not as specified, replace the seat cushion pad with sensor.

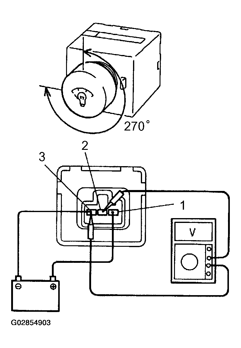
    1. Connect the positive (+) lead from the battery to terminal 1 and negative lead (-) to terminal 3.
    2. Connect the positive (+) lead from the voltmeter to terminal 2 and negative lead to terminal.
    3. Turn the rheostat knob and check that the voltage changes.

    If operation is not as specified, replace the light control rheostat.

    Fig 27: Inspecting Light Control Rheostat Operation
    G02854903Courtesy of © TOYOTA, LICENSE AGREEMENT TMS1002