lemon-mirror:
Home >> Toyota >> 2003 >> RAV4 EV >> Repair and Diagnosis >> Electrical >> Horns >> Inspection

Repair and Diagnosis: Electrical: Horns: Inspection

  1. INSPECT HORN SWITCH 
    1. Check that no continuity exists between terminal 6 of the connector and body ground.
    2. Check that continuity exists between terminal 6 of the connector and body ground when the horn contact plate is pressed against the steering spoke assembly.
      Fig 1: Checking Continuity Exists Between Terminal 6 And Ground
      G02855034Courtesy of © TOYOTA, LICENSE AGREEMENT TMS1002

    If continuity is not as specified, repair or replace the steering wheel or wire harness as necessary.

  2. INSPECT HORN OPERATION 
    Fig 2: Inspecting Horn Operation
    G02855035Courtesy of © TOYOTA, LICENSE AGREEMENT TMS1002

    Connect the positive (+) lead from the battery to the terminal and negative (-) lead to the horn body and check that the horn blows.

    If operation is not as specified, replace the horn.

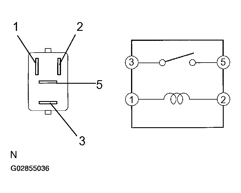
    Fig 3: Identifying Horn Relay Terminals
    G02855036Courtesy of © TOYOTA, LICENSE AGREEMENT TMS1002
  3. INSPECT HORN RELAY (Marking: HORN) CONTINUITY 
    HORN RELAY CONTINUITY

    Condition Tester Connection Specified Condition
    Constant 1 - 2 Continuity
    Apply B+ Between Terminals 1 And 2. 3-5 Continuity

    If continuity is not as specified, replace the relay.