lemon-mirror:
Home >> Toyota >> 2003 >> Sequoia Limited, RWD >> Repair and Diagnosis >> Body & Frame >> Windows >> Back Door Power Window Control System >> Inspection

Back Door Power Window Control System: Inspection

  1. INSPECT BACK DOOR POWER WINDOW SWITCH CONTINUITY 
    BACK DOOR POWER WINDOW SWITCH CONTINUITY SPECIFICATIONS

    Switch Position Tester Connection Specified Condition
    UP 3-6 Continuity
    OFF - No Continuity
    DOWN 35 Continuity

    If continuity is not as specified, replace the switch.

    Fig 1: Identify Back Door Power Window Switch Terminals
    G02852216Courtesy of © TOYOTA, LICENSE AGREEMENT TMS1002
  2. INSPECT BACK DOOR CONTROL SWITCH CONTINUITY 
    BACK DOOR CONTROL SWITCH CONTINUITY SPECIFICATIONS

    Switch Position Tester Connection Specified Condition
    UP 1-3 Continuity
    OFF - No Continuity
    DOWN 23 Continuity

    If continuity is not as specified, replace the switch.

    Fig 2: Inspecting Back Door Control Switch Continuity
    G02852217Courtesy of © TOYOTA, LICENSE AGREEMENT TMS1002
  3. INSPECT WINDOW LIMIT SWITCH CONTINUITY 
    WINDOW LIMIT SWITCH CONTINUITY SPECIFICATIONS

    Switch Position Tester Connection Specified Condition
    Switch Lever Pushed (OFF Position) - No Continuity
    Switch Lever Released (ON Position) 1 - 2 Continuity

    If continuity is not as specified, replace the back door power window regulator assembly.

    Fig 3: Inspecting Window Limit Switch Continuity
    G02852218Courtesy of © TOYOTA, LICENSE AGREEMENT TMS1002
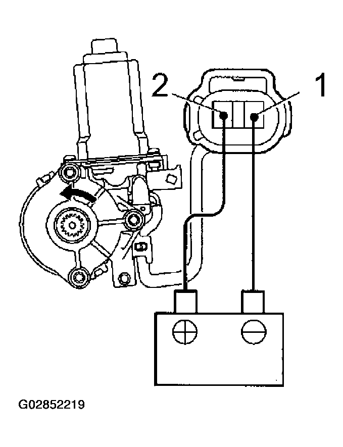
  4. INSPECT BACK DOOR POWER WINDOW MOTOR OPERATION 
    1. Connect the positive (+) lead from the battery to terminal 2 and the negative (-) lead to terminal 1 and check that the motor turns counterclockwise.
      Fig 4: Inspecting Back Door Power Window Motor Operation (1 Of 2)
      G02852219Courtesy of © TOYOTA, LICENSE AGREEMENT TMS1002
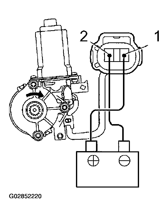
    2. Connect the positive (+) lead from the battery to terminal 1 and the negative (-) lead to terminal 2 and check that the motor turns clockwise.

    If operation is not as specified, replace the back door power window motor.

    Fig 5: Inspecting Back Door Power Window Motor Operation (2 Of 2)
    G02852220Courtesy of © TOYOTA, LICENSE AGREEMENT TMS1002