lemon-mirror:
Home >> Toyota >> 2003 >> Sequoia Limited, RWD >> Repair and Diagnosis >> Body & Frame >> Windows >> Power Window Control System >> Inspection

Power Window Control System: Inspection

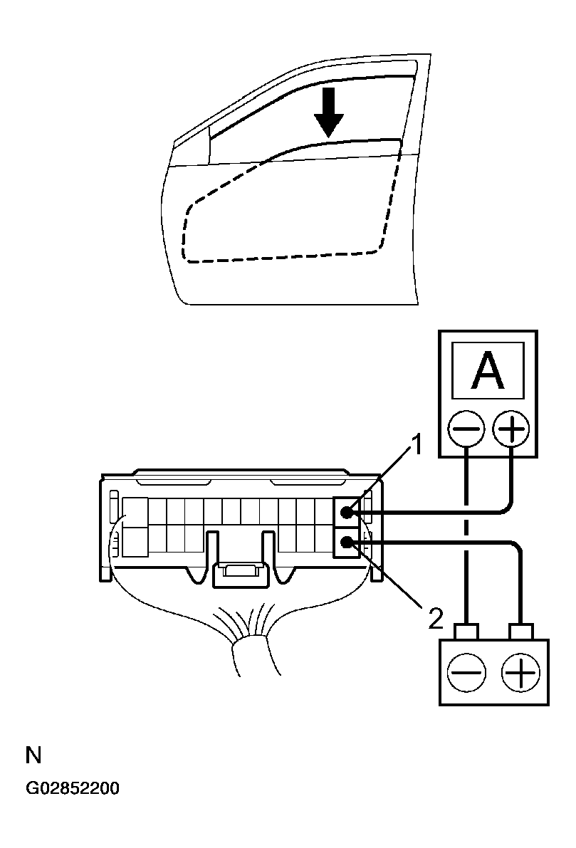
  1. INSPECT ONE-TOUCH POWER WINDOW SYSTEM CURRENT OF CIRCUIT (Using An Ammeter) 
    1. Disconnect the connector from the master switch.
    2. Connect the positive (+) lead from the ammeter to terminal 1 on the wire harness side connector and the negative (-) lead to negative (-) terminal of the battery.
    3. Connect the positive (+) lead from the battery to terminal 2 on the wire harness side connector.
    4. As the window goes down, check that the current flow is approximately 7 A.
    5. Check that the current increases up to approximately 14.5 A or more when the window stops going down.
      Fig 1: Inspecting One-Touch Power Window System Current
      G02852200Courtesy of © TOYOTA, LICENSE AGREEMENT TMS1002
    NOTE: The PTC opens some 4 - 90 seconds after the window stops going down, so that check must be made before the PTC operates.

    If the operation is not as specified, replace the master switch.

  2. INSPECT REAR DOOR POWER WINDOW SWITCH CONTINUITY 
    REAR DOOR POWER WINDOW SWITCH CONTINUITY SPECIFICATIONS

    Switch position Tester connection Specified condition
    UP 2 - 3, 4 - 5 Continuity
    OFF 2 - 3 - 5 Continuity
    DOWN 2 - 4, 3 - 5 Continuity

    If continuity is not as specified, replace the switch.

    Fig 2: Inspecting Rear Door Power Window Switch Continuity
    G02852201Courtesy of © TOYOTA, LICENSE AGREEMENT TMS1002
  3. INSPECT POWER WINDOW SWITCH CIRCUIT 

    (Driver's Door: See  POWER SOURCE CIRCUIT  ) 

    (Passenger's Door: See  POWER SOURCE CIRCUIT  ) 

    (Rear Door: See  REAR WIPER SWITCH CIRCUIT  ) 

    (Back Door: See  BACK DOOR POWER WINDOW LIMIT SWITCH CIRCUIT  ) 

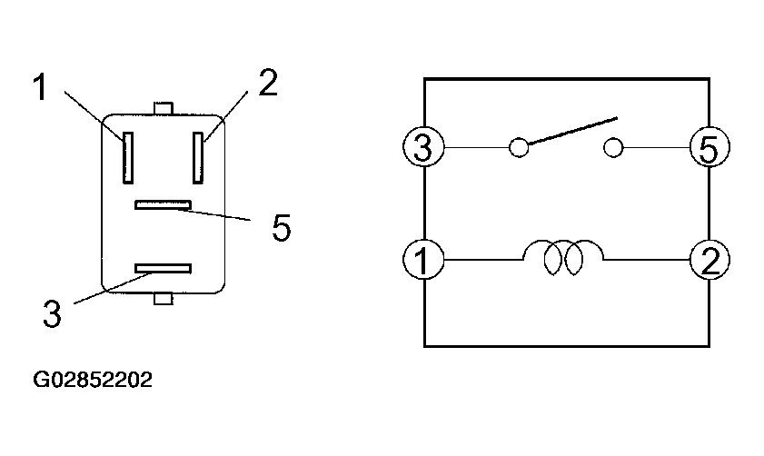
  4. INSPECT POWER MAIN RELAY CONTINUITY 
    POWER MAIN RELAY CONTINUITY SPECIFICATIONS

    Condition Tester Connection Specified Condition
    Always 1 - 2 Continuity
    Always 3 - 5 No Continuity
    Apply B+ Between Terminals 1 And 2. 3 - 5 Continuity

    If continuity is not as specified, replace the relay.

    Fig 3: Inspecting Power Main Relay Continuity
    G02852202Courtesy of © TOYOTA, LICENSE AGREEMENT TMS1002
  5. Driver's Door: INSPECT POWER WINDOW MOTOR OPERATION 
    1. Connect the positive (+) lead from the battery terminal 1 and the negative (-) lead to terminal 2, and check that the motor turns clockwise.
      Fig 4: Inspecting Power Window Motor Operation (Driver'S Door) (1 Of 2)
      G02852203Courtesy of © TOYOTA, LICENSE AGREEMENT TMS1002
    2. Reverse the polarity, check that the motor turns counterclockwise.

    If operation is not as specified, replace the power window motor.

    NOTE: Since the jam protection may not work properly, be sure to conduct procedures described in HOW TO RESET POWER WINDOW MOTOR (LIMIT SWITCH)  after this inspection.
    Fig 5: Inspecting Power Window Motor Operation (Driver'S Door) (2 Of 2)
    G02852204Courtesy of © TOYOTA, LICENSE AGREEMENT TMS1002
  6. Passenger's Door: INSPECT POWER WINDOW MOTOR OPERATION 
    1. Connect the positive (+) lead from the battery to terminal 1 and the negative (-) lead to terminal 2, and check that the motor turns clockwise.
      Fig 6: Inspecting Power Window Motor Operation (Passenger'S Door) (1 Of 2)
      G02852205Courtesy of © TOYOTA, LICENSE AGREEMENT TMS1002
    2. Reverse the polarity, check that the motor turns counterclockwise.

    If operation is not as specified, replace the power window motor.

    NOTE: Since the jam protection may not work properly, be sure to conduct procedures described in HOW TO RESET POWER WINDOW MOTOR (LIMIT SWITCH)  after this inspection.
    Fig 7: Inspecting Power Window Motor Operation (Passenger's Door) (2 Of 2)
    G02852206Courtesy of © TOYOTA, LICENSE AGREEMENT TMS1002
  7. Rear Right Door: INSPECT POWER WINDOW MOTOR OPERATION 
    1. Connect the positive (+) lead from the battery to terminal 1 and the negative (-) lead to terminals 2, check that the motor turns clockwise.
      Fig 8: Inspecting Power Window Motor Operation (Rear Right Door) (1 Of 2)
      G02852207Courtesy of © TOYOTA, LICENSE AGREEMENT TMS1002
    2. Reverse the polarity, check that the motor turns counterclockwise.

    If operation is not as specified, replace the power window motor.

    Fig 9: Inspecting Power Window Motor Operation (Rear Right Door) (2 Of 2)
    G02852208Courtesy of © TOYOTA, LICENSE AGREEMENT TMS1002
  8. Rear Left Door: INSPECT POWER WINDOW MOTOR OPERATION 
    1. Connect the positive (+) lead from the battery to terminal 1 and the negative (-) lead to terminal 2, check that the motor turns clockwise.
      Fig 10: Inspecting Power Window Motor Operation (Rear Left Door) (1 Of 2)
      G02852209Courtesy of © TOYOTA, LICENSE AGREEMENT TMS1002
    2. Reverse the polarity, check that the motor turns counterclockwise.

    If operation is not as specified, replace the power window motor.

    Fig 11: Inspecting Power Window Motor Operation (Rear Left Door) (2 Of 2)
    G02852210Courtesy of © TOYOTA, LICENSE AGREEMENT TMS1002
  9. Front Door: INSPECT PTC OPERATION 
    1. Disconnect the connector from the wire harness side connector.
    2. Connect the negative (-) lead from the ammeter to terminal 1 of the motor side connector and the positive (+) lead to negative terminal of the battery.
      Fig 12: Inspecting PTC Operation (Front Door) (1 Of 2)
      G02852211Courtesy of © TOYOTA, LICENSE AGREEMENT TMS1002
    3. Connect the positive (+) lead from the battery to terminal 2 of the motor side connector, and raise the window to the fully closed position.
    4. Continue to apply voltage, check that the current changes from approximately 14 A to less than 1 A within 4 to 90 seconds.
    5. Disconnect the leads from terminals.
    6. Approximately 90 seconds later, connect the positive (+) lead from the battery to terminal 1 and the negative (-) lead to terminal 2, check that the window begins to goes down.
      Fig 13: Inspecting PTC Operation (Front Door) (2 Of 2)
      G02852212Courtesy of © TOYOTA, LICENSE AGREEMENT TMS1002

    If operation is not as specified, replace the power window motor.

  10. Rear Door: INSPECT PTC OPERATION 
    1. Disconnect the connector from the wire harness side connector.
    2. Connect the negative (-) lead from the ammeter to terminal 1 of the motor side connector and the positive (+) lead to negative terminal of the battery.
    3. Connect the positive (+) lead from the battery to terminal 2 of the motor side connector, and raise the window to the fully closed position.
      Fig 14: Inspecting PTC Operation (Rear Door) (1 Of 2)
      G02852213Courtesy of © TOYOTA, LICENSE AGREEMENT TMS1002
    4. Continue to apply voltage, check that the current changes from approximately 14 A to less than 1 A within 4 to 90 seconds.
    5. Disconnect the leads from terminals.
      Fig 15: Inspecting PTC Operation (Rear Door) (2 Of 2)
      G02852214Courtesy of © TOYOTA, LICENSE AGREEMENT TMS1002
    6. Approximately 90 seconds later, connect the positive (+) lead from the battery to terminal 1 and the negative (-) lead to terminal 2, check that the window begins to goes down.

    If operation is not as specified, replace the power window motor.

  11. INSPECT JAM PROTECTION FUNCTION 
    NOTE: Be careful not to be caught any part of your body when checking.
    NOTE: In case of performing resetting of the limit switch, do checking after repeating up and down of the glass with automatic operation.
    1. Confirmation of AUTO up operation:

      Confirm that the window will be fully closed with AUTO up operation.

    2. Checking of the operation of the jam protection function:
      1. (1) Move up the window with AUTO up operation and check that the window will go down when it touches the inserted handle of the hammer.
      2. (2) Confirm that the window will then stop going down about 200 mm (7.87 in.).
    NOTE: In case of removing the glass, glass guide, regulator and etc. be sure to perform checking of the jam protection function.

    If the jam protection is not function properly, adjust power window motor reset switch and pulse switch.