lemon-mirror:
Home >> Toyota >> 2003 >> Tundra Base, Automatic >> Repair and Diagnosis >> Body & Frame >> Windows >> Back Window Glass >> Installation

Back Window Glass: Installation

NOTE: For steps 8 to 17, refer to INSTALLATION ).
  1. CLEAN AND SHAPE CONTACT SURFACE OF BODY 
    Fig 1: Cleaning & Shaping Contact Surface Of Body
    G02902023Courtesy of © TOYOTA, LICENSE AGREEMENT TMS1002
    1. Using a knife, cut away any rough adhesive on the contact surface of the body to shape the surface.
      NOTE: Leave as much of the adhesive on the body as possible.
    2. Clean the contact surface of the body with a piece of shop rag saturated with cleaner.
  2. POSITION GLASS 
    1. Place the glass in the correct position.
    2. Fig 2: Placing Glass In Correct Position
      G02902024Courtesy of © TOYOTA, LICENSE AGREEMENT TMS1002
    3. Check that the whole contact surface of the glass rim is perfectly even.
    4. Place reference marks on the glass and body.
    5. Remove the glass.
  3. COAT CONTACT SURFACE OF BODY WITH PRIMER "M" 

    Using a brush, coat the exposed part of the body with Primer "M".

    Fig 3: Coating Contact Surface Of Body With Primer "M" Using A Brush
    G02902025Courtesy of © TOYOTA, LICENSE AGREEMENT TMS1002
    NOTE:
    • Dry the primer coating for 3 minutes or more.
    • Do not coat the adhesive with Primer "M".
    • Do not keep any of the opened Primer "M" for later use.
  4. Fixed Type: 
    1. COAT CONTACT SURFACE OF GLASS WITH PRIMER "G" 

    Using a brush or sponge, coat the edge of the glass and the contact surface with Primer G as shown in the illustration.

    Fig 4: Coating Contact Surface Of Glass With Primer G Using A Brush (Fixed Type)
    G02902026Courtesy of © TOYOTA, LICENSE AGREEMENT TMS1002
    NOTE: If the area other than the specified is coated by accident, wipe off the primer with a clean shop rag before it dries.
    NOTE:
    • Dry the primer coating for 3 minutes or more.
    • Do not keep any of the opened Primer "G" for later use.
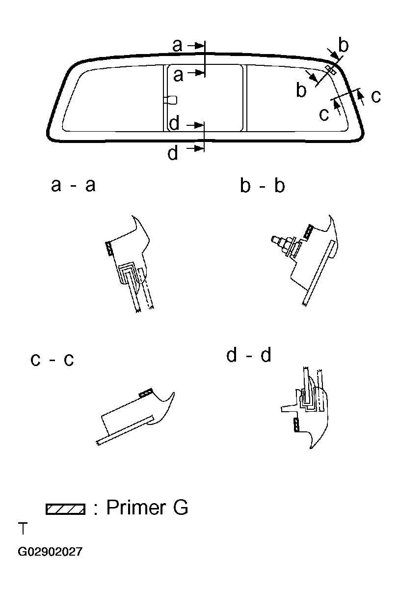
  5. Slide Type: 
    1. COAT CONTACT SURFACE OF GLASS WITH PRIMER "G" 

    Using a brush or sponge, coat the edge of the glass and the contact surface with Primer G as shown in the illustration.

    Fig 5: Coat Contact Surface Of Glass With Primer G Using A Brush (Slide Type)
    G02902027Courtesy of © TOYOTA, LICENSE AGREEMENT TMS1002
    NOTE: If the area other than the specified is coated by accident, wipe off the primer with a clean shop rag before it dries.
    NOTE:
    • Dry the primer coating for 3 minutes or more.
    • Do not keep any of the opened Primer "G" for later use.
  6. Fixed Type: 
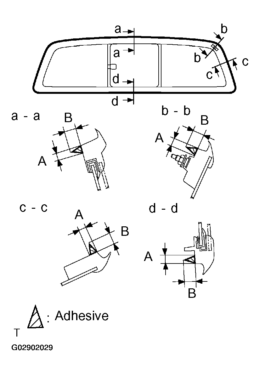
    1. APPLY ADHESIVE 
    1. Cut off the tip of the cartridge nozzle.
      Fig 6: Cutting Off Tip Of Cartridge Nozzle
      G02902028Courtesy of © TOYOTA, LICENSE AGREEMENT TMS1002
      1. Part No. 08850-00801 or equivalent 
      NOTE: After cutting off the tip, use all adhesive within the time described in the table below.
      TEMPERATURE-TACKFREE TIME

      Temperature Tackfree Time
      35 °C (95 °F) 15 Minutes
      20°C (68°F) 100 Minutes
      5 °C (41 °F) 8 Hours
    2. Load the cartridge into a sealer gun.
    3. Coat the glass with adhesive, as shown in the illustration.
      Fig 7: Coating Glass With Adhesive
      G02902029Courtesy of © TOYOTA, LICENSE AGREEMENT TMS1002
      1. A: 8.0 mm (0.314 in.) 
      2. B: 12.0 mm (0.472 in.) 
    4. Slide type: 
      1. APPLY ADHESIVE 
      1. Cut off the tip of the cartridge nozzle.
        1. Part No. 08850-00801 or equivalent 
        NOTE: After cutting off the tip, use all adhesive within the time described in the table below.
        TEMPERATURE-TACKFREE TIME

        Temperature Tackfree Time
        35 °C (95 °F) 15 Minutes
        20 °C (68°F) 100 Minutes
        5 °C (41 °F) 8 Hours
      2. Load the cartridge into a sealer gun.
      3. Coat the glass with adhesive, as shown in the illustration.
        1. A: 8.0 mm (0.314 in.) 
        2. B: 12.0 mm (0.472 in.) 
    5. INSTALL BACK WINDOW GLASS 
      Fig 8: Installing Back Window Glass
      G02902030Courtesy of © TOYOTA, LICENSE AGREEMENT TMS1002
      1. Position the glass so that the reference marks are aligned, and press it in gently along the rim.
      2. Using a spatula, apply adhesive on the glass rim.
      3. Use a scraper to remove any excess or protruding adhesive.
        NOTE: Confirm that the moulding is attached to the body panel as shown in the illustration.
      4. Hold the back window glass in place securely with a protective tape or equivalent until the adhesive hardens.
        Fig 9: Holding Back Window Glass In Place Securely With A Protective Tape Or Equivalent Until Adhesive Hardens
        G02902031Courtesy of © TOYOTA, LICENSE AGREEMENT TMS1002
        NOTE: Take care not to drive the vehicle during the time described in the table below.
        TEMPERATURE-MINIMUM TIME PRIOR TO DRIVING THE VEHICLE

        Temperature Minimum Time
        35 °C (95 °F) 1.5 Hours
        20 °C (68 °F) 5 Hours
        5 °C (41 °F) 24 Hours
    6. INSPECT FOR LEAK AND REPAIR 
      NOTE: Conduct a leak test after the adhesive has completely hardened.
      1. Part No. 08833-00030 or equivalent 
    7. Power slide type: 
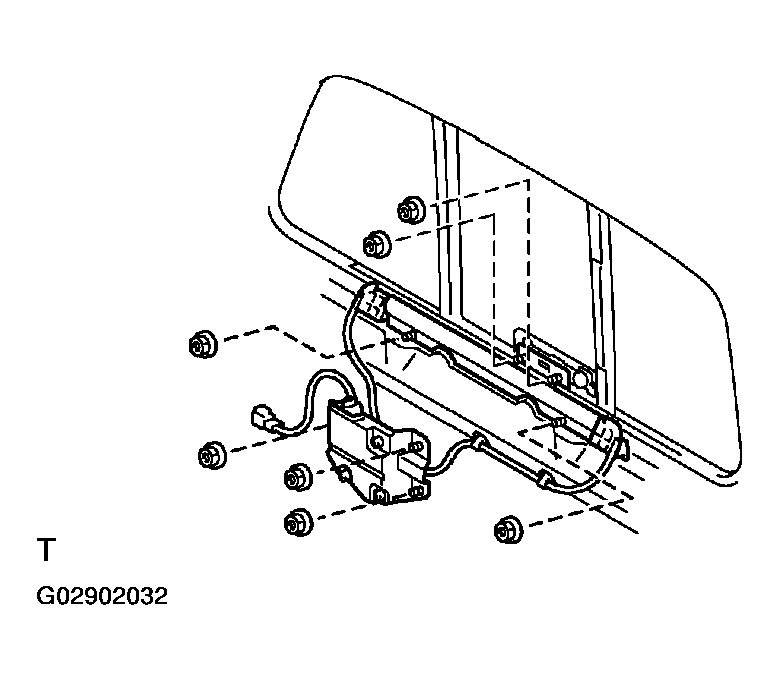
      1. INSTALL BACK WINDOW REGULATOR ASSEMBLY 
      2. Fig 10: Installing Back Window Regulator Assembly
        G02902032Courtesy of © TOYOTA, LICENSE AGREEMENT TMS1002
      1. Install the back window regulator assembly with the 7 nuts.
        1. Torque: 5.5 N.m (54 kgf.cm, 49 in..lbf) 
      2. Install the back door glass channel cover.
    8. Power Slide Type: 
      1. INSTALL BACK PANEL SILENCER PADS 
      2. Fig 11: Installing Back Panel Silencer Pads
        G02902033Courtesy of © TOYOTA, LICENSE AGREEMENT TMS1002
      1. Install the 4 clips and 2 back panel silencer pads.
      2. Install the tether anchor brackets with the 2 bolts.
        1. Torque: 20 N.m (200 kgf.cm, 15 ft.lbf) 
    9. INSTALL REAR PART OF ROOF HEADLINING 
      1. Standard Cab:
        1. Install the rear part of the roof headlining with the 2 clips.
      2. Access Cab:
        1. Install the rear part of the roof headlining with the 3 clips.
      3. INSTALL QUARTER TRIMS (See  INSTALLATION  ) 
      4. Standard Cab: 
        1. INSTALL BACK PANEL UPPER GARNISH 
        2. (See  INSTALLATION  ) 
      5. Standard Cab: 
        1. INSTALL COAT HOOK (See  INSTALLATION  ) 
      6. INSTALL ROOM LIGHT (See  INSTALLATION  ) 
      7. Access Cab (Standard Body Type), 

        Access Cab (Wide Body Type): 

        1. INSTALL ROOF SIDE RAIL GARNISHES 
        2. (See  INSTALLATION  ) 
      8. Standard Cab: 
        1. INSTALL FRONT PILLAR GARNISHES 
        2. (See  INSTALLATION  ) 
      9. INSTALL ASSIST GRIPS (See  INSTALLATION  ) 
      10. Access Cab (Standard Body Type), 

        Access Cab (Wide Body Type): 

        1. INSTALL ACCESS DOOR SCUFF PLATES 
        2. (See  INSTALLATION  ) 
      11. Standard Cab: 
        1. INSTALL FRONT DOOR SCUFF PLATES 
        2. (See  INSTALLATION  ) 
      12. Access Cab (Standard Body Type), 

        Access Cab (Wide Body Type): 

        1. INSTALL REAR SEAT (See  INSTALLATION  )