lemon-mirror:
Home >> Toyota >> 2003 >> Tundra Base, Automatic >> Repair and Diagnosis >> Body & Frame >> Windows >> Back Window Glass >> Removal

Back Window Glass: Removal

NOTE: For steps 2 to 10, refer to REMOVAL ).
  1. Access Cab (Standard Body Type), 
    1. Access Cab (Wide Body Type): 
    2. REMOVE REAR SEAT (See  REMOVAL  ) 
  2. Standard Cab: 
    1. REMOVE FRONT DOOR SCUFF PLATES 
    2. (See  REMOVAL  ) 
  3. Access Cab (Standard Body Type), 
    1. Access Cab (Wide Body Type): 
    2. REMOVE ACCESS DOOR SCUFF PLATES 
    3. (See  REMOVAL  ) 
  4. REMOVE ASSIST GRIPS (See  REMOVAL  ) 
  5. Standard Cab: 
    1. REMOVE FRONT PILLAR GARNISHES 
    2. (See  REMOVAL  ) 
  6. Access Cab (Standard Body Type), 
    1. Access Cab (Wide Body Type): 
    2. REMOVE ROOF SIDE RAIL GARNISHES 
    3. (See  REMOVAL  ) 
  7. REMOVE ROOM LIGHT (See  REMOVAL  ) 
  8. Standard cab: 
    1. REMOVE COAT HOOK (See  REMOVAL  ) 
  9. Standard Cab: 
    1. REMOVE BACK PANEL UPPER GARNISH 
    2. (See  REMOVAL  ) 
  10. REMOVE QUARTER TRIMS (See  REMOVAL  ) 
  11. REMOVE REAR PART OF ROOF HEADLINING 
    1. Standard Cab:

      Remove the 2 clips and the rear part of the roof headlining.

    2. Access Cab (Standard Body Type),

      Access Cab (Wide Body Type):

      1. Remove the 3 clips and the rear part of the roof headlining.
  12. Power Slide Type: 
    1. REMOVE BACK WINDOW REGULATOR ASSEMBLY 
    2. Fig 1: Removing Back Window Regulator Assembly
      G02902016Courtesy of © TOYOTA, LICENSE AGREEMENT TMS1002
    1. Standard cab:
      1. Remove the 2 bolts and tether anchor brackets.
    2. Remove the 4 clips and 2 back panel silencer pads.
    3. Using a screwdriver, remove the back door glass channel cover.
      Fig 2: Removing Back Door Glass Channel Cover
      G02902017Courtesy of © TOYOTA, LICENSE AGREEMENT TMS1002
      NOTE: Tape the screwdriver tip before use.
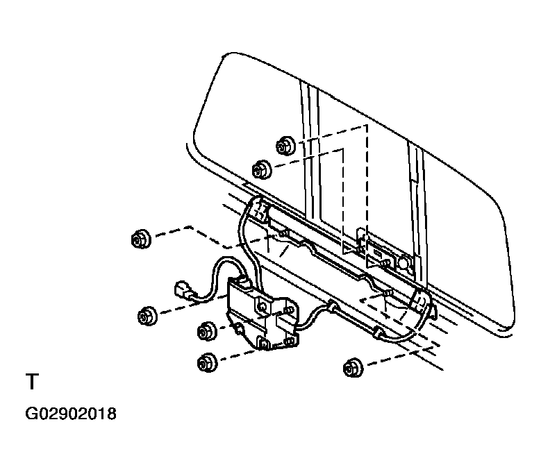
    4. Remove the 7 nuts and back window regulator assembly.
    5. Fig 3: Removing Nuts & Back Window Regulator Assembly
      G02902018Courtesy of © TOYOTA, LICENSE AGREEMENT TMS1002
  13. REMOVE BACK WINDOW GLASS 
    Fig 4: Removing Back Window Glass
    G02902019Courtesy of © TOYOTA, LICENSE AGREEMENT TMS1002
    1. Remove the 4 nuts.
    2. Using a screwdriver, remove the weatherstrip from the body.
      NOTE: Be careful not to damage the body paint.
      NOTE: Tape the screwdriver tip before use.
    3. Pass piano wire through from the interior.
    4. Tie both wire ends to wooden blocks or similar objects.
      NOTE: Apply protective tape to the outer surface to prevent the surface from being scratched.
      Fig 5: Applying Protective Tape To Outer Surface To Prevent Surface From Being Scratched
      G02902020Courtesy of © TOYOTA, LICENSE AGREEMENT TMS1002
      NOTE: When separating the glass, take care not to damage the paint and exterior.
    5. Cut off the adhesive by pulling the piano wire around it.
      Fig 6: Cutting Off Adhesive By Pulling Piano Wire Around
      G02902021Courtesy of © TOYOTA, LICENSE AGREEMENT TMS1002
      NOTE: Cut off the adhesive on the areas as shown in the illustration but leave the adhesive where the stud bolts exist.
    6. Pass piano wire through as shown in the illustration, and cut off the adhesive on the part adhered to the stud bolts.
    7. Fig 7: Passing Piano Wire Through
      G02902022Courtesy of © TOYOTA, LICENSE AGREEMENT TMS1002
    8. Remove the glass.
      NOTE: Leave as much of the adhesive on the body as possible when removing the glass.