lemon-mirror:
Home >> Toyota >> 2003 >> Tundra Base, Automatic >> Repair and Diagnosis >> Body & Frame >> Windows >> Power Window Control System >> Inspection

Power Window Control System: Inspection

  1. INSPECT POWER WINDOW MASTER SWITCH CONTINUITY 
    Fig 1: Identifying Power Window Master Switch Connector Terminals
    G02901775Courtesy of © TOYOTA, LICENSE AGREEMENT TMS1002
    POWER WINDOW MASTER SWITCH CONTINUITY (DRIVER'S SWITCH)

    Switch position Tester connection Specified condition
    UP 1 - 4, 3 - 9 Continuity
    OFF 1 - 3 - 4 Continuity
    DOWN (AUTO) 1 - 3, 4 - 9 Continuity
    POWER WINDOW MASTER SWITCH CONTINUITY (PASSENGER'S SWITCH: WINDOW UNLOCK)

    Switch position Tester connection Specified condition
    UP 1 - 10, 8 - 9 Continuity
    OFF 1 - 8 - 10 Continuity
    DOWN 1 - 8, 9 - 10 Continuity
    POWER WINDOW MASTER SWITCH CONTINUITY (PASSENGER'S SWITCH: WINDOW LOCK)

    Switch position Tester connection Specified condition
    UP 8 - 9 Continuity
    OFF 8 - 10 Continuity
    DOWN 9 - 10 Continuity

    If the continuity is not as specified, replace the switch.

  2. INSPECT ONE-TOUCH POWER WINDOW SYSTEM CURRENT OF CIRCUIT (USING AN AMMETER) 
    1. Disconnect the connector from the master switch.
    2. Connect the positive (+) lead from the ammeter to terminal 3 on the wire harness side connector and the negative (-) lead to the negative (-) terminal of the battery.
      Fig 2: Inspecting One-Touch Power Window System Current Of Circuit - Using An Ammeter (1 Of 2)
      G02901776Courtesy of © TOYOTA, LICENSE AGREEMENT TMS1002
    3. Connect the positive (+) lead from the battery to terminal 4 on the wire harness side connector.
    4. When the window goes down, check that the current is approximately 7 A.
    5. Check that the current increases to approximately 14.5 A or more when the window stops going down.
      Fig 3: Inspecting One-Touch Power Window System Current Of Circuit - Using An Ammeter (2 Of 2)
      G02901777Courtesy of © TOYOTA, LICENSE AGREEMENT TMS1002
      NOTE:

      Since the circuit breaker opens in 4-40 seconds after the window stops going down, the check must be performed before the circuit breaker starts operating

      If the result is not as specified, replace the switch.

  3. INSPECT ONE-TOUCH POWER WINDOW SYSTEM/CURRENT OF CIRCUIT (USING AN AMMETER WITH A CURRENT-MEASURING PROBE) 
    1. Remove the master switch with the connector connected.
    2. Attach a current-measuring probe to terminal 9 of the wire harness side connector.
      Fig 4: Inspecting One-Touch Power Window System/Current Of Circuit - Using An Ammeter With A Current-Measuring Probe (1 Of 2)
      G02901778Courtesy of © TOYOTA, LICENSE AGREEMENT TMS1002
    3. Turn the ignition switch ON and set the power window switch in the down position.
    4. When the window goes down, check that the current is approximately 7 A.
    5. Check that the current increases to approximately 14.5 A or more when the window stops going down.
      Fig 5: Inspecting One-Touch Power Window System/Current Of Circuit - Using An Ammeter With A Current-Measuring Probe (2 Of 2)
      G02901779Courtesy of © TOYOTA, LICENSE AGREEMENT TMS1002
    NOTE:

    Since the circuit breaker opens in 4 - 40 seconds after the window stops going down, the check must be performed before the circuit breaker starts operating.

    If the result is not as specified, replace the master switch.

  4. INSPECT POWER WINDOW CONTROL SWITCH CONTINUITY 
    Fig 6: Identifying Power Window Control Switch Connector Terminals
    G02901780Courtesy of © TOYOTA, LICENSE AGREEMENT TMS1002
    POWER WINDOW CONTROL SWITCH CONTINUITY

    Switch position Tester connection Specified condition
    UP 1 - 2, 3 - 4 Continuity
    OFF 1 - 2, 3 - 5 Continuity
    DOWN 1 - 4, 3 - 5 Continuity

    If the continuity is not as specified, replace the switch.

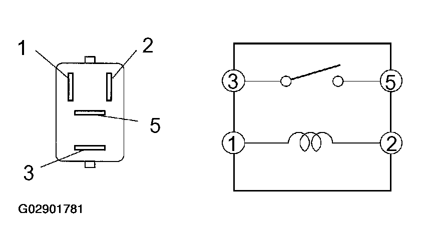
  5. INSPECT POWER RELAY CONTINUITY 
    Fig 7: Inspecting Power Relay Continuity
    G02901781Courtesy of © TOYOTA, LICENSE AGREEMENT TMS1002
    POWER RELAY CONTINUITY

    Condition Tester connection Specified condition
    Constant 1 - 2 Continuity
    Apply B+ between terminals 1 and 2 3 - 5 Continuity

    If the continuity is not as specified, replace the switch.

  6. Driver Side Door: 
    1. INSPECT POWER WINDOW MOTOR OPERATION 
    1. Connect the positive (+) lead from the battery to terminal 1 and the negative (-) lead to terminal 2, and check that the motor turns counterclockwise.
      Fig 8: Inspecting Power Window Motor Operation - Driver Side Door
      G02901782Courtesy of © TOYOTA, LICENSE AGREEMENT TMS1002
    2. Reverse the polarity, and check that the motor turns clockwise.

    If the operation is not as specified, replace the motor.

  7. Passenger Side Door: 
    1. INSPECT POWER WINDOW MOTOR OPERATION 
    1. Connect the positive (+) lead from the battery to terminal 1 and the negative (-) lead to terminal 2, and check that the motor turns counterclockwise.
      Fig 9: Inspecting Power Window Motor Operation - Passenger Side Door
      G02901783Courtesy of © TOYOTA, LICENSE AGREEMENT TMS1002
    2. Reverse the polarity, and check that the motor turns clockwise.

    If the operation is not as specified, replace the motor.

  8. Driver Side Door: 
    1. INSPECT POWER WINDOW MOTOR PTC THERMISTOR OPERATION 
    1. Disconnect the connector from the power window motor.
    2. Connect the positive (+) lead from the ammeter to terminal 1 on the wire harness side connector and the negative (-) lead to the negative terminal of the battery.
      Fig 10: Power Window Motor PTC Thermistor Operation - Driver Side Door (1 Of 2)
      G02901784Courtesy of © TOYOTA, LICENSE AGREEMENT TMS1002
    3. Connect the positive (+) lead from the battery to terminal 2 on the wire harness side connector, and raise the window to the fully closed position.
    4. Continue to apply voltage, and check that the current changes to less than 1 A in 4 to 90 seconds.
      Fig 11: Power Window Motor PTC Thermistor Operation - Driver Side Door (2 Of 2)
      G02901785Courtesy of © TOYOTA, LICENSE AGREEMENT TMS1002
    5. Disconnect the leads from the terminals.
    6. Approximately 60 seconds later, connect the positive (+) lead from the battery to terminal 1 and the negative (-) lead to terminal 2, and check that the window begins to descend.

    If the operation is not as specified, replace the motor.

  9. Passenger Side Door: 
    1. INSPECT POWER WINDOW MOTOR PTC THERMISTOR OPERATION 
    1. Disconnect the connector from the power window motor.
    2. Connect the positive (+) lead from the ammeter to terminal 2 on the wire harness side connector and the negative (-) lead to the negative terminal of the battery.
      Fig 12: Power Window Motor PTC Thermistor Operation - Passenger Side Door (1 Of 2)
      G02901786Courtesy of © TOYOTA, LICENSE AGREEMENT TMS1002
    3. Connect the positive (+) lead from the battery to terminal 1 on the wire harness side connector, and raise the window to the fully close position.
    4. Continue to apply voltage and check that the current changes to less than 1 A in 4 to 90 seconds.
      Fig 13: Power Window Motor PTC Thermistor Operation - Passenger Side Door (2 Of 2)
      G02901787Courtesy of © TOYOTA, LICENSE AGREEMENT TMS1002
    5. Disconnect the leads from the terminals.
    6. Approximately 60 seconds later, connect the positive (+) lead from the battery to terminal 2 and the negative (-) lead to terminal 1, and check that the window begins to descend.

    If the operation is not as specified, replace the motor.

  10. CHECK POWER WINDOW MASTER SWITCH CIRCUIT 

    Disconnect the connector from the master switch and check the connector on the wire harness side.

    Fig 14: Identifying Power Window Master Switch Connector Terminals
    G02901788Courtesy of © TOYOTA, LICENSE AGREEMENT TMS1002
    POWER WINDOW MASTER SWITCH CIRCUIT

    Tester connection Condition Specified condition
    1 - Ground Constant Continuity
    3 - 4 Constant Continuity
    8 - 10 Power window master switch OFF Continuity
    8 - 10 Power window master switch UP or DOWN Continuity
    9 - Ground Constant Battery positive voltage

    If the result is not as specified, inspect the circuits connected to other parts.

  11. CHECK INTEGRATION RELAY 
    Fig 15: Locating Integration Relay
    G02901789Courtesy of © TOYOTA, LICENSE AGREEMENT TMS1002

    Remove the integration relay from the driver side junction block, and check the voltage or continuity of each terminal on the junction block side. (See step 7 or 8 of INSPECTION ).