lemon-mirror:
Home >> Toyota >> 2003 >> Tundra Base, Automatic >> Repair and Diagnosis >> Suspension >> Wheel Alignment >> Front Wheel Alignment >> Inspection

Front Wheel Alignment: Inspection

    CAUTION: Before inspecting the wheel alignment, adjust the vehicle height to the specified value.
    If the vehicle height is not the specified value, try to adjust it by pushing down on or lifting the body.
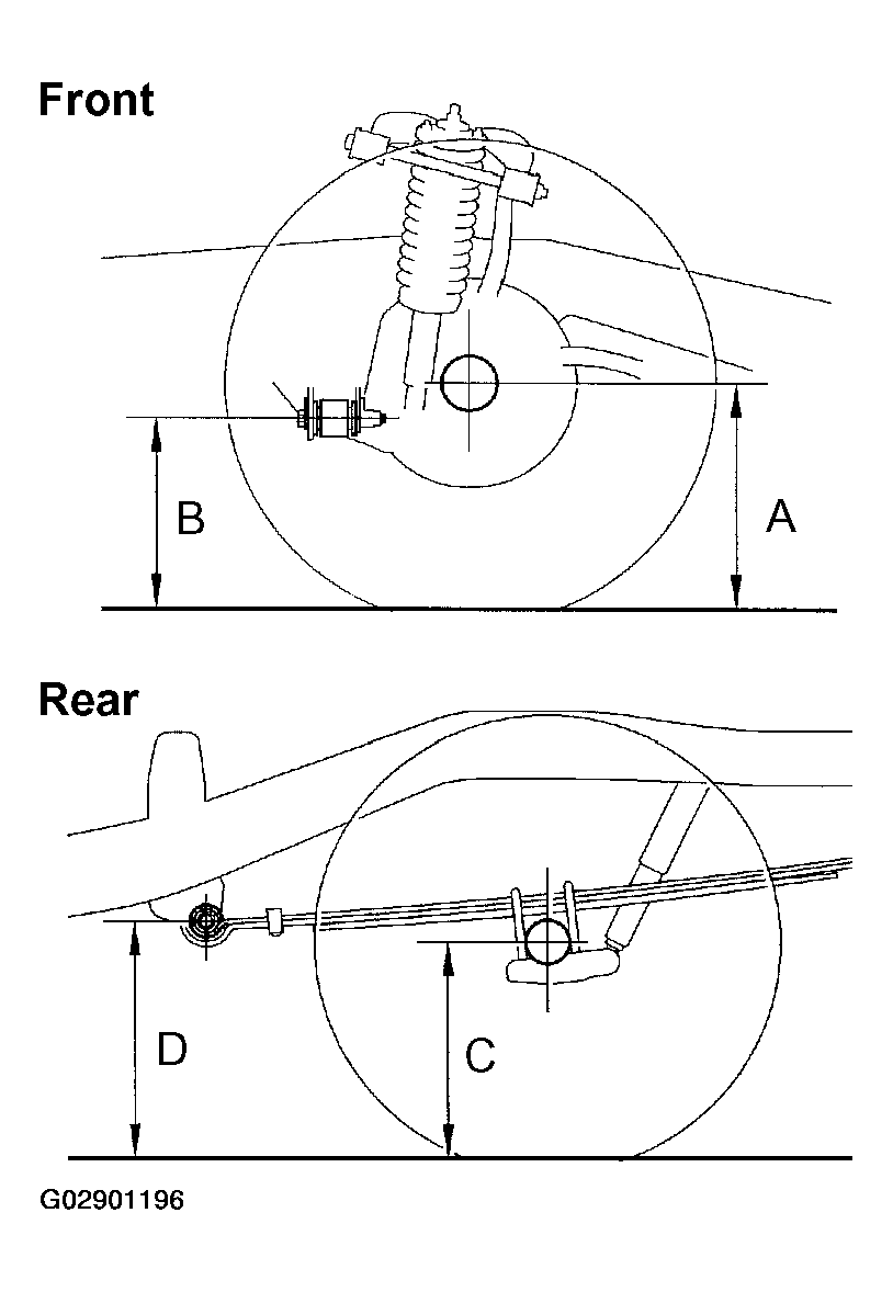
    Fig 1: Identifying Ground Clearance Measuring Points
    G02901196Courtesy of © TOYOTA, LICENSE AGREEMENT TMS1002
  1. MEASURE VEHICLE HEIGHT (See  SERVICE DATA  ) 

    Measuring points:

    1. Ground clearance of the front drive shaft center
    2. Ground clearance of the front adjusting cam bolt center
    3. Ground clearance of the rear axle shaft center
    4. Ground clearance of the leaf spring front side bushing center

    Vehicle height:

    Front: A - B

    Rear: C - D

  2. INSTALL CAMBER-CASTER-KINGPIN GAUGE OR POSITION VEHICLE ON WHEEL ALIGNMENT TESTER 

    Follow the specific instructions of the equipment manufacturer.

    Fig 2: Installing Camber-Caster-Kingpin Gauge
    G02901197Courtesy of © TOYOTA, LICENSE AGREEMENT TMS1002
  3. INSPECT CAMBER, CASTER AND STEERING AXIS INCLINATION (See  SERVICE DATA  ) 

    If the steering axis inclination is not within the specified value, after the camber and caster have been correctly adjusted, re-check the steering knuckle and front wheel for bearing or looseness.

  4. ADJUST CAMBER AND CASTER 
    1. Loosen the front and/or rear adjusting cam set bolts.
    2. NOTE:

      Try to adjust the camber and caster to the center of the specified values.

      Fig 3: Loosening Front And Rear Adjusting Cam Set Bolts
      G02901198Courtesy of © TOYOTA, LICENSE AGREEMENT TMS1002
    3. Adjust the camber and caster by front and/or rear adjusting cams (See adjustment chart).
    4. How to read adjustment chart (Example).
      Fig 4: Example - Adjustment Chart
      G02901199Courtesy of © TOYOTA, LICENSE AGREEMENT TMS1002
      1. Find the applicable wheel alignment standard value for the particular model.
      2. Mark the selected standard value on the adjustment chart.

        Example: 

        Camber: 0°10' (0.17°) 

        Caster: 3°OO' 

      3. Measure the present wheel alignment value with the vehicle in non-loaded condition.
      4. Mark the measured present value on the adjustment chart.

        Example: 

        Camber: 0°30' (0.50°) 

        Caster: 2°40' (2.67°) 

      5. As shown in Fig 4, read the distance from the measured value to the standard value, and adjust the front and/or rear adjusting cams accordingly.

        Amount to turn adjusting cams (by graduation): 

        Example: 

        Front cam: 1.3 (+) Direction 

        Rear cam: 3.3 (+) Direction 

        Fig 5: Identifying Adjusting Cams Turning Amount
        G02901200Courtesy of © TOYOTA, LICENSE AGREEMENT TMS1002
        Fig 6: Example - Camber Caster Adjustment Chart
        G02901201Courtesy of © TOYOTA, LICENSE AGREEMENT TMS1002
    5. Torque the front and/or rear adjusting cam set bolts.
      1. Torque: 130 N.m (1,325 kgf.cm, 96 ft.lbf) 
  5. INSPECT TOE-IN (See  SERVICE DATA  ) 

    If the toe-in is not within the specified value, adjust the rack ends.

    Fig 7: Inspecting Toe-In
    G02901202Courtesy of © TOYOTA, LICENSE AGREEMENT TMS1002
  6. ADJUST TOE-IN AND WHEEL ANGLE 
    1. Remove the 2 clips.
    2. Loosen the tie rod end lock nuts.
      Fig 8: Loosening Tie Rod End Lock Nuts
      G02901203Courtesy of © TOYOTA, LICENSE AGREEMENT TMS1002
    3. NOTE:

      Try to adjust the toe-in to the center of the specified value.

    4. Turn the right and left rack ends by an equal amount to adjust the toe-in.
    5. Make sure that the lengths of the right and left rack ends are the same.
      Fig 9: Checking That Lengths Of Right And Left Rack Ends Are The Same
      G02901204Courtesy of © TOYOTA, LICENSE AGREEMENT TMS1002
      1. Rack end length difference: 1.5 mm (0.059 in.) or less 
    6. Tighten the tie rod end lock nuts.
      1. Torque: 55 N.m (560 kgf.cm, 41 ft.lbf) 
    7. NOTE:

      Make sure that the boots are not twisted.

    8. Place the boots on the seats and install the clips.
    9. Inspect the wheel angle See SERVICE DATA .

    Turn the steering wheel fully and measure the turning angle.

    Fig 10: Identifying Turning Angle
    G02901205Courtesy of © TOYOTA, LICENSE AGREEMENT TMS1002

    Wheel turning angle: 

    If the right and left wheel turning angles differ from the specified value, readjust the toe-in and wheel angle within the specified value. At this time, make sure that the lengths of the right and left rack ends are the same.

    1. Rack end length difference: 1.5 mm (0.059 in.) or less