lemon-mirror:
Home >> Toyota >> 2004 >> Avalon XLS >> Repair and Diagnosis >> Body & Frame >> Windows >> Back Window Glass >> Installation

Back Window Glass: Installation

  1. CLEAN AND SHAPE CONTACT SURFACE OF BODY 
    1. Using a knife, cut away any rough areas on the body.

      HINT:

      Leave as much of the adhesive on the body as possible.

    2. Clean the cut surface of the adhesive with a shop rag saturated in cleaner.

      HINT:

      Even if all the adhesive has been removed, clean the body.

    Fig 1: Removing Adhesive
    G02879797Courtesy of © TOYOTA, LICENSE AGREEMENT TMS1002
  2. CLEAN REMOVED GLASS 
    1. Remove the damaged No. 2 stoppers.
    2. Using a scraper, remove the adhesive sticking to the glass.
    3. Clean the glass with cleaner.
    NOTE:
    • Be careful not to damage the glass.
    • Do not touch the glass face after cleaning it.
    Fig 2: Removing Adhesive Sticking Of Glass
    G02879798Courtesy of © TOYOTA, LICENSE AGREEMENT TMS1002
  3. REPLACE NO. 1 STOPPERS 
    1. Remove the damaged stoppers.
    2. Cut off the old adhesive around the stopper installation area.
      Fig 3: Removing Damaged Stoppers
      G02879799Courtesy of © TOYOTA, LICENSE AGREEMENT TMS1002
      NOTE: Be careful not to damage the body.
    3. Clean the installation area.
    4. Attach new stoppers to the body so that the notches on the body will align with the stoppers as shown in Fig 3 .

      HINT:

      Make sure that the stoppers are installed facing the correct direction.

  4. INSTALL NEW NO. 2 STOPPERS 

    Attach new stoppers to the glass so that the ceramic notches on the glass will align with the stoppers as shown in Fig 4 .

    A: 12 mm (0.47 in.) 

    Fig 4: Installing New Stoppers
    G02879800Courtesy of © TOYOTA, LICENSE AGREEMENT TMS1002
  5. INSTALL NEW BACK WINDOW OUTSIDE MOULDING 

    Install new back window outside moulding to the back window glass as shown in Fig 5 .

    HINT:

    • Install the back window outside moulding from the center of the glass at the lower side of the vehicle.
    • When installing the back window outside moulding, do not stretch it.
    Fig 5: Installing New Back Window Outside Moulding To Back Window Glass
    G02879801Courtesy of © TOYOTA, LICENSE AGREEMENT TMS1002
  6. POSITION GLASS 
    1. Place the glass in the correct position.
    2. Check that all contacting parts of the glass rim are set perfectly even.
    3. Place reference marks on the glass and body.
    4. Remove the glass.
    Fig 6: Placing Glass In Correct Position
    G02879802Courtesy of © TOYOTA, LICENSE AGREEMENT TMS1002
  7. CLEAN CONTACT SURFACE OF GLASS 

    Using a cleaner, clean the contact surface which is black-colored area around the entire glass rim.

    NOTE: Do not touch the glass face after cleaning it.
    Fig 7: Cleaning Contact Surface Of Glass
    G02879803Courtesy of © TOYOTA, LICENSE AGREEMENT TMS1002
  8. COAT CONTACT SURFACE OF BODY WITH PRIMER "M" 

    Using a brush, coat Primer M to the exposed part of body on the vehicle side.

    NOTE:
    • Allow 3 minutes or more to dry the primer coated surface.
    • Do not coat Primer M to the adhesive.
    • Do not keep any of the opened Primer M for later use.
    Fig 8: Coating Primer M To Exposed Part Of Body On Vehicle Side
    G02879804Courtesy of © TOYOTA, LICENSE AGREEMENT TMS1002
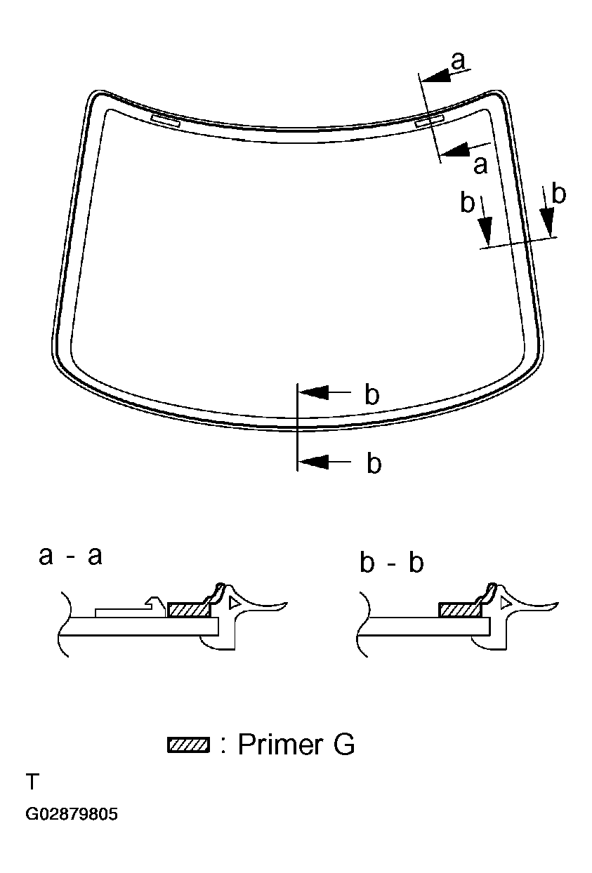
  9. COAT CONTACT SURFACE OF GLASS WITH PRIMER "G" 
    1. Using a brush or sponge, coat the edge of the glass and the contact surface with Primer G as shown in Fig 9 .
    2. When the primer is applied by mistake to the area other than the specified, wipe it off with a clean shop rag before the primer dries.
    NOTE:
    • Allow 3 minutes or more to dry the primer coated surface.
    • Do not keep any of the opened Primer G for later use.
    Fig 9: Coating Edge Of Glass And Contact Surface With Primer G
    G02879805Courtesy of © TOYOTA, LICENSE AGREEMENT TMS1002
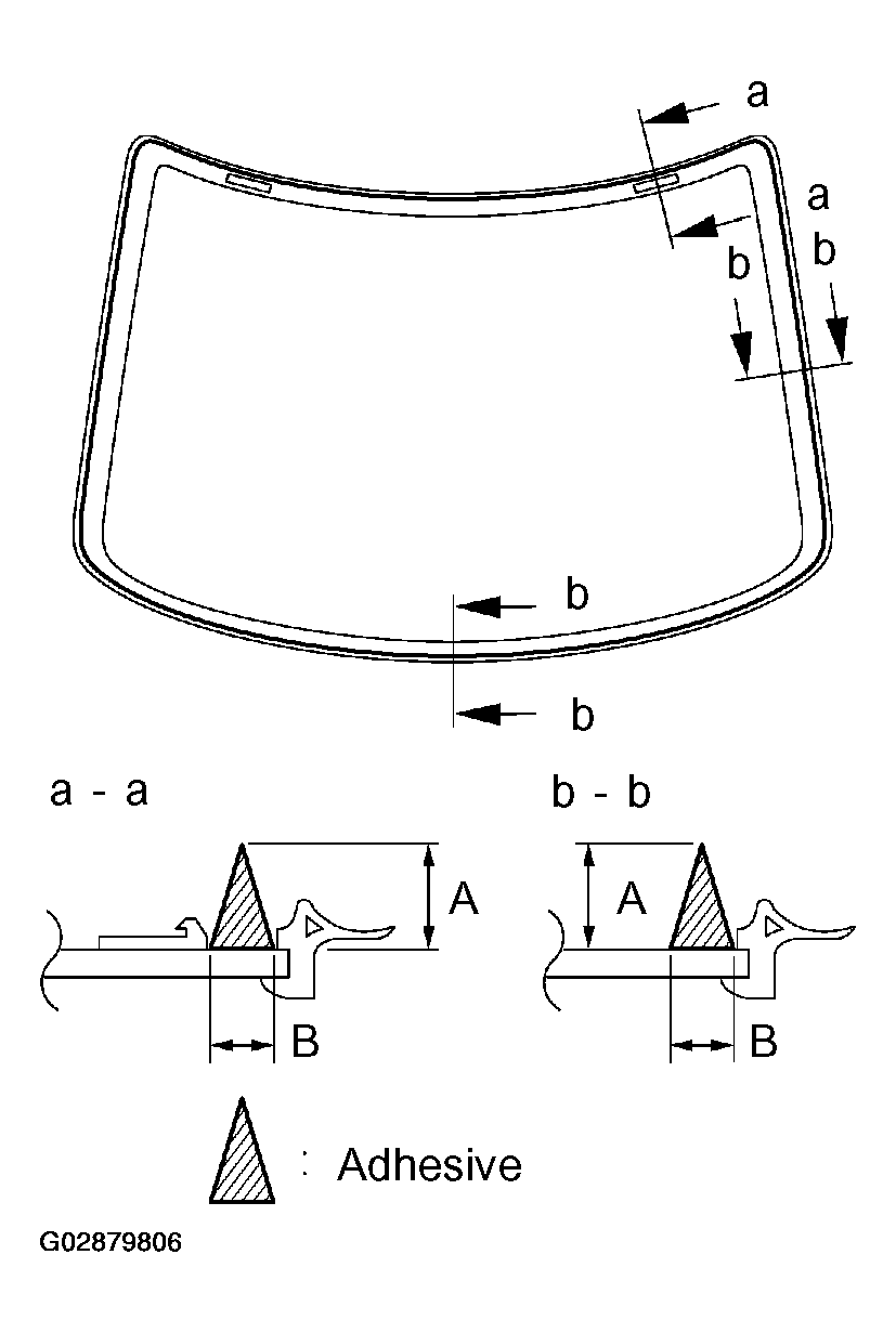
  10. APPLY ADHESIVE 
    1. Cut off the tip of the cartridge nozzle.

      Part No. 08850-00801 or equivalent 

      HINT:

      After cutting off the tip, use all adhesive within the time described in TEMPERATURE AND TACKFREE TIME FOR APPLYING ADHESIVE  .

      TEMPERATURE AND TACKFREE TIME FOR APPLYING ADHESIVE

      Temperature Tackfree time
      35 °C (95 °F) 15 minutes
      20°C (68 °F) 100 minutes
      5 °C (41 °F) 8 hours
    2. Load the cartridge into the sealer gun.
    3. Coat the glass with adhesive as shown in Fig 10 .

      A: 13.5 mm (0.531 in.) 

      B: 8.0 mm (0.315 in.) 

    Fig 10: Applying Adhesive
    G02879806Courtesy of © TOYOTA, LICENSE AGREEMENT TMS1002
  11. INSTALL GLASS 
    1. Position the glass so that the reference marks are lined up, and press in gently along the rim.
      Fig 11: Pressing Glass For Installation
      G02879807Courtesy of © TOYOTA, LICENSE AGREEMENT TMS1002

      HINT:

      Confirm that the moulding is attached to the body panel as shown in Fig 12 .

    2. Hold the back window glass in place securely with a protective tape or equivalent until the adhesive hardens.
    NOTE: Take care not to drive the vehicle during the time described in TEMPERATURE AND VEHICLE DRIVING TIMING  .
    TEMPERATURE AND VEHICLE DRIVING TIMING

    Temperature Minimum time prior to driving the vehicle
    35°C (95 °F) 1.5 hours
    20°C (68 °F) 5 hours
    5 °C (41 °F) 24 hours
    Fig 12: Attaching Moulding To Body Panel
    G02879808Courtesy of © TOYOTA, LICENSE AGREEMENT TMS1002
  12. INSPECT FOR LEAK AND REPAIR 
    NOTE: Conduct a leak test after hardening time has elapsed.
  13. CONNECT DEFOGGER WIRE CONNECTOR 
  14. INSTALL ROOF HEADLINING 
  15. w/Rear personal light: 

    INSTALL REAR PERSONAL LIGHT 

  16. INSTALL UPPER BACK SILENCER 
  17. INSTALL PACKAGE TRAY TRIM 
  18. INSTALL HIGH-MOUNTED STOP LIGHT 
  19. INSTALL ROOF SIDE INNER GARNISH 
  20. INSTALL REAR SEAT (See  INSTALLATION  )