lemon-mirror:
Home >> Toyota >> 2004 >> Avalon XLS >> Repair and Diagnosis >> Body & Frame >> Windows >> Windshield >> Installation

Body & Frame: Windows: Windshield: Installation

  1. CLEAN AND SHAPE CONTACT SURFACE OF BODY 
    1. Using a knife, cut away any rough areas on the body.

      HINT:

      Leave as much of the adhesive on the body as possible.

    2. Clean the cut surface of the adhesive with a piece of shop rag saturated in cleaner.

      HINT:

      Even if all the adhesive has been removed, clean the body.

    Fig 1: Removing Adhesive
    G02879760Courtesy of © TOYOTA, LICENSE AGREEMENT TMS1002
  2. CLEAN REMOVED GLASS 
    1. Remove the damaged No. 2 stoppers and dams.
    2. Using a scraper, remove the adhesive sticking to the glass.
    3. Clean the glass with cleaner.
      NOTE:
      • Be careful not to damage the glass.
      • Do not touch the glass face after cleaning it.
    Fig 2: Cleaning Removed Glass
    G02879761Courtesy of © TOYOTA, LICENSE AGREEMENT TMS1002
  3. REPLACE NO. 1 STOPPERS 
    1. Remove the damaged stoppers.
    2. Cut off the old adhesive around the stopper installation area.
      NOTE: Be careful not to damage the body.
    3. Clean the installation area.
    4. Attach new stoppers to the body so that the notches on the body will align with the stoppers as shown in Fig 3 .

      HINT:

      Make sure that the stoppers are installed facing in the correct direction.

    Fig 3: Removing Damaged Stoppers
    G02879762Courtesy of © TOYOTA, LICENSE AGREEMENT TMS1002
  4. INSTALL NEW NO. 2 STOPPERS 

    Attach new stoppers to the glass so that the ceramic notches on the glass will align with the stoppers as shown in Fig 4 .

    HINT:

    Make sure that the stoppers are installed facing the correct direction.

    A: 7.2 +/- 0.5 mm (0.283 +/- 0.020 in.) 

    Fig 4: Installing New Stoppers To Glass
    G02879763Courtesy of © TOYOTA, LICENSE AGREEMENT TMS1002
  5. INSTALL NEW RETAINERS 

    Attach new retainers to the glass with the ceramic notch on the glass aligned with the retainers as shown in Fig 5 .

    Fig 5: Attaching New Retainers To Glass
    G02879764Courtesy of © TOYOTA, LICENSE AGREEMENT TMS1002
  6. INSTALL NEW DAMS 

    Attach new dams to the glass as shown in Fig 6 .

    Fig 6: Installing New Dams To Glass
    G02879765Courtesy of © TOYOTA, LICENSE AGREEMENT TMS1002
  7. POSITION GLASS 
    1. Place the glass in the correct position.
    2. Check that all contacting parts of the glass rim are set perfectly even.
    3. Place reference marks on the glass and body.
    4. Remove the glass.
    Fig 7: Placing Glass In Correct Position
    G02879766Courtesy of © TOYOTA, LICENSE AGREEMENT TMS1002
  8. CLEAN CONTACT SURFACE OF GLASS 

    Using a cleaner, clean the contact surface which is black-colored area around the entire glass rim.

    NOTE: Do not touch the glass face after cleaning it.
    Fig 8: Cleaning Contact Surface Of Glass
    G02879767Courtesy of © TOYOTA, LICENSE AGREEMENT TMS1002
  9. COAT CONTACT SURFACE OF BODY WITH PRIMER "M" 

    Using a brush, coat Primer M to the exposed part of body on the vehicle side.

    NOTE:
    • Allow 3 minutes or more to dry the primer coated surface.
    • Do not coat Primer M to the adhesive.
    • Do not keep any of the opened Primer M for later use.
    Fig 9: Coating Contact Surface Of Body With Primer M
    G02879768Courtesy of © TOYOTA, LICENSE AGREEMENT TMS1002
  10. COAT CONTACT SURFACE OF GLASS WITH PRIMER "G" 
    1. Using a brush or sponge, coat the edge of the glass and the contact surface with Primer G as shown in Fig 10 .
    2. When the primer is applied by mistake to the area other than the specified, wipe it off with a clean shop rag before the primer dries.
      NOTE:
      • Allow 3 minutes or more to dry the primer coated surface.
      • Do not keep any of the opened Primer G for later use.
    Fig 10: Coating Edge Of Glass And Contact Surface With Primer G
    G02879769Courtesy of © TOYOTA, LICENSE AGREEMENT TMS1002
  11. APPLY ADHESIVE 
    1. Cut off the tip of the cartridge nozzle.

      Part No. 08850-00801 or equivalent 

      HINT:

      After cutting off the tip, use all adhesive within the time described in TEMPERATURE AND TACKFREE TIME FOR APPLYING ADHESIVE  .

      TEMPERATURE AND TACKFREE TIME FOR APPLYING ADHESIVE

      Temperature Tackfree time
      35°C (95°F) 15 minutes
      20°C (68°F) 100 minutes
      5 °C (41 °F) 8 hours
    2. Load the cartridge into the sealer gun.
    3. Coat the glass with adhesive as shown in Fig 11 .

      A: 13.5 mm (0.531 in.) 

      B: 8.0 mm (0.315 in.) 

    Fig 11: Applying Adhesive To Contact Surface Of Glass
    G02879770Courtesy of © TOYOTA, LICENSE AGREEMENT TMS1002
  12. INSTALL WINDSHIELD GLASS AND MOULDING 
    1. Install the glass, aligning the reference marks using a suction rubber.

      HINT:

      Check to see that the stoppers are attached to the body correctly

    2. Lightly press the glass front surface for close contact.
      Fig 12: Installing Windshield Glass
      G02879771Courtesy of © TOYOTA, LICENSE AGREEMENT TMS1002
    3. Correct insufficient or protruded adhesive agent using a spatula.

      HINT:

      Apply adhesive agent up to the windshield glass edge.

      Fig 13: Applying Adhesive Agent Up To Windshield Glass Edge
      G02879772Courtesy of © TOYOTA, LICENSE AGREEMENT TMS1002
    4. Install a new windshield moulding to the windshield glass before the adhesive agent hardens.

      HINT:

      Install the moulding, aligning the center of moulding with the center of body.

    5. Remove any excessive adhesive agent before it hardens.
    6. Hold the glass and moulding in place securely with a protective tape or equivalent until the adhesive hardens.
      Fig 14: Installing New Windshield Moulding To Windshield Glass (W/O Rain Gutter)
      G02879773Courtesy of © TOYOTA, LICENSE AGREEMENT TMS1002
      NOTE: Take care not to drive the vehicle during the time described in TEMPERATURE AND DRIVING TIMING  .
      TEMPERATURE AND DRIVING TIMING

      Temperature Minimum time prior to driving the vehicle
      35°C (95°F) 1.5 hours
      20°C (68°F) 5 hours
      5 °C (41 °F) 24 hours
  13. INSPECT FOR LEAK AND REPAIR 
    NOTE: Conduct a leak test after the hardening time has elapsed.
    Fig 15: Installing New Windshield Moulding To Windshield Glass (W/Rain Gutter)
    G02879774Courtesy of © TOYOTA, LICENSE AGREEMENT TMS1002
  14. w/Sliding roof: 

    INSTALL SLIDING ROOF OPENING TRIM 

  15. INSTALL ASSIST GRIP 
  16. INSTALL COWL TOP VENTILATOR LOUVER 
  17. INSTALL HOOD TO COWL TOP SEAL 
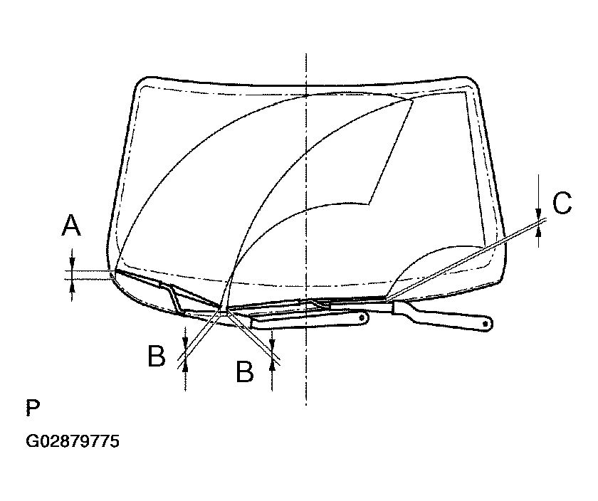
  18. INSTALL WIPER ARMS 
    1. Operate the wiper motor once and turn the wiper switch OFF.
    2. Install the wiper arms and tighten nuts by hand.
    3. Adjust the installation position of the wiper arms to the position as shown in Fig 16 .

      A: 52 mm (2.05 in.) 

      B:30 +/- 10 mm (1.18 +/- 0.39 in.) 

      C:21.3 mm (0.839 in.) 

    4. Torque the 2 nuts.

      Torque: 24 N.m (248 kgf.cm, 18 ft.lbf) 

    5. Install the 2 wiper arm head caps.
    Fig 16: Adjusting Installation Position Of Wiper Arms
    G02879775Courtesy of © TOYOTA, LICENSE AGREEMENT TMS1002
  19. INSTALL FRONT PILLAR GARNISH 
  20. INSTALL FRONT DOOR OPENING TRIMS 
  21. INSTALL ROOF CONSOLE BOX 
  22. INSTALL SUN VISORS AND HOLDERS 
  23. INSTALL INNER REAR VIEW MIRROR