lemon-mirror:
Home >> Toyota >> 2004 >> Celica GT, Automatic >> Repair and Diagnosis >> Body & Frame >> Windows >> Power Window Control System >> Inspection

Power Window Control System: Inspection

  1. INSPECT POWER WINDOW MASTER SWITCH CONTINUITY 
    SPECIFICATION CONDITION CHART

    Switch position Tester connection Specified condition
    UP 2 - 9, 17 - 18 Continuity
    OFF 9 - 17, 17 - 18 Continuity
    DOWN 2 - 18, 9 - 17 Continuity
    DOWN AUTO 2 - 18, 9 - 17 Continuity
    SPECIFICATION CONDITION CHART

    Switch position Tester connection Specified condition
    UP 1 - 11, 10 - 17 Continuity
    OFF 1 - 17, 10 - 17 Continuity
    DOWN 10 - 11, 1 - 17 Continuity
    SPECIFICATION CONDITION CHART

    Switch position Tester connection Specified condition
    UP 1 - 11 Continuity
    OFF 1 - 10 Continuity
    DOWN 10 - 11 Continuity

    If continuity is not as specified, replace the switch.

    Fig 1: Inspecting Power Window Master Switch
    G02896285Courtesy of © TOYOTA, LICENSE AGREEMENT TMS1002
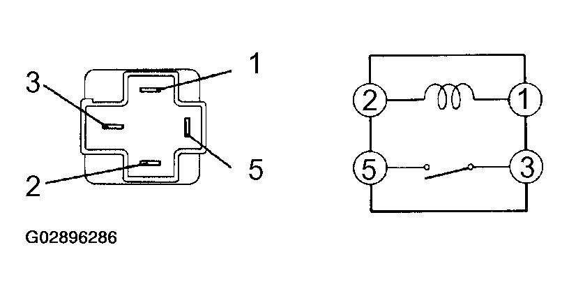
  2. INSPECT POWER MAIN RELAY CONTINUITY 
    SPECIFICATION CONDITION CHART

    Condition Tester connection Specified condition
    Constant 1 - 2 Continuity
    Apply B+ between terminals 1 and 2. 3 - 5 Continuity

    If continuity is not as specified, replace the relay.

    Fig 2: Inspecting Power Main Relay
    G02896286Courtesy of © TOYOTA, LICENSE AGREEMENT TMS1002
  3. Driver's door: 
    1. INSPECT POWER WINDOW MOTOR OPERATION 
    1. Connect the battery positive (+) lead to terminal 1 and the battery negative (-) lead to terminal 2, then check that the motor turns clockwise.
      Fig 3: Inspecting Power Window Motor Operation
      G02896287Courtesy of © TOYOTA, LICENSE AGREEMENT TMS1002
    2. Reverse the polarity, check that the motor turns counterclockwise.

    If operation is not as specified, replace the motor.

    Fig 4: Checking Motor Turns Counterclockwise
    G02896288Courtesy of © TOYOTA, LICENSE AGREEMENT TMS1002
  4. Passenger's door: 
    1. INSPECT POWER WINDOW MOTOR OPERATION 
    1. Connect the battery positive (+) lead to terminal 1 and the battery negative (-) lead to terminal 2, check that the motor turns clockwise.
      Fig 5: Connecting Battery Positive (+) Lead To Terminal 1
      G02896289Courtesy of © TOYOTA, LICENSE AGREEMENT TMS1002
    2. Reverse the polarity, and check that the motor turns counterclockwise.

    If operation is not as specified, replace the motor.

    Fig 6: Checking Motor Turns Counterclockwise
    G02896290Courtesy of © TOYOTA, LICENSE AGREEMENT TMS1002
  5. Driver's door: 
    1. INSPECT PTC OPERATION 
    1. Disconnect the connector from the window motor.
      Fig 7: Disconnecting Connector From Window Motor
      G02896291Courtesy of © TOYOTA, LICENSE AGREEMENT TMS1002
    2. Connect the ammeter positive (+) lead to terminal 1 of the wire harness side connector and the negative (-) lead to ammeter negative terminal of the battery.
    3. Connect the battery positive (+) lead to terminal 2 of the wire harness side connector, and raise the window to the fully closed position.
    4. Continue to apply voltage, and check that the current changes from approximately 14 A to less than 1 A within 4 to 90 seconds.
    5. Disconnect the leads from terminals.
    6. Approximately 90 seconds later, connect the battery positive (+) lead to terminal 1 and battery negative (-) lead to terminal 2, then check that the window begins to descend.
      Fig 8: Disconnecting Leads From Terminals
      G02896292Courtesy of © TOYOTA, LICENSE AGREEMENT TMS1002

    If operation is not as specified, replace the motor.

  6. Passenger's door: 
    1. INSPECT PTC OPERATION 
    1. Disconnect the connector from the power window switch.
    2. Connect the ammeter positive (+) lead to terminal 1 of the wire harness side connector and the ammeter negative (-) lead to negative terminal of the battery.
    3. Connect the positive (+) lead from the battery to terminal 2 of the wire harness side connector, and raise the window to the fully closed position.
      Fig 9: Inspecting PTC Operation
      G02896293Courtesy of © TOYOTA, LICENSE AGREEMENT TMS1002
    4. Continue to apply voltage, and check that the current changes from approximately 14 A to less than 1 A within 4 to 90 seconds.
    5. Disconnect the leads from terminals.
    6. Approximately 90 seconds later, connect the battery positive (+) lead to terminal 1 and the battery negative (-) lead to terminal 2, then check that the window begins to descend.
      Fig 10: Disconnecting Leads From Terminals
      G02896294Courtesy of © TOYOTA, LICENSE AGREEMENT TMS1002

    If operation is not as specified, replace the motor.