lemon-mirror:
Home >> Toyota >> 2004 >> Highlander Limited, FWD >> Repair and Diagnosis >> Electrical >> Horns >> Inspection

Repair and Diagnosis: Electrical: Horns: Inspection

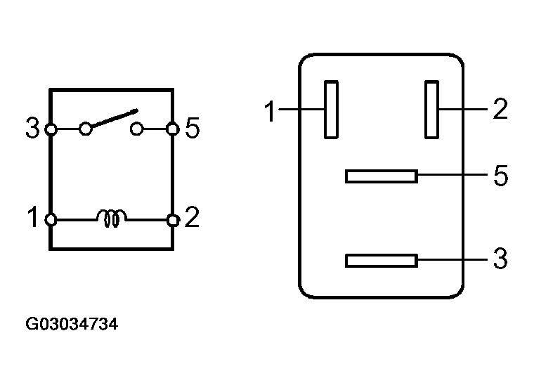
  1. INSPECT RELAY (HORN) 
    1. Remove the HORN relay from the engine room J/B.
    2. Measure the HORN relay resistance.

    Standard: 

    RELAY INSPECTION SPECIFIED CONDITION

    Tester Connection Specified Condition
    3 - 5 10 kΩ or higher
    3 - 5 Below 1Ω (when battery voltage is applied to terminals 1 and 2)
    Fig 1: Horn Relay Resistance Chart
    G03034734Courtesy of © TOYOTA, LICENSE AGREEMENT TMS1002
  2. INSPECT HIGH PITCHED HORN ASSY 
    1. Check operation of the horn.

    Standard: 

    HIGH PITCHED HORN ASSY MEASUREMENT CONDITION

    Measurement Condition Specified Operation
    Battery positive (+) --> Terminal 1
    Battery negative (-) --> Horn bracket
    Horn sounds

    If the result is not as specified, replace the horn assy.

    Fig 2: Checking Operation Of Horn (1 Of 2)
    G03034735Courtesy of © TOYOTA, LICENSE AGREEMENT TMS1002
  3. INSPECT LOW PITCHED HORN ASSY 
    1. Check operation of the horn.

    Standard: 

    LOW PITCHED HORN ASSY MEASUREMENT CONDITION

    Measurement Condition Specified Operation
    Battery positive (+) --> Terminal 1
    Battery negative (-) --> Horn bracket
    Horn sounds

    If the result is not as specified, replace the horn assy.

    Fig 3: Checking Operation Of Horn (2 Of 2)
    G03034736Courtesy of © TOYOTA, LICENSE AGREEMENT TMS1002