lemon-mirror:
Home >> Toyota >> 2004 >> Highlander Limited, FWD >> Repair and Diagnosis >> Engine Performance >> Engine Control Systems >> SFI System (3MZ-FE) >> Inspection

SFI System (3MZ-FE): Inspection

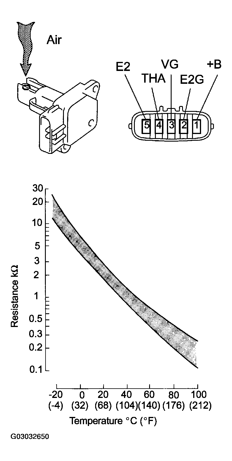
  1. INSPECT MASS AIR FLOW METER 
    1. Check the output voltage.
      1. Apply battery voltage across terminals 1 (+B) and 2 (E2G).
      2. Connect the positive (+) tester probe to terminal VG, and negative (-) tester probe to terminal E2G.
      3. Blow air into the Mass Air Flow (MAF) meter, and check that the voltage fluctuates.
    2. Measure the resistance between terminals 4 (THA) and 5 (E2).

    Standard: 

    MASS AIR FLOW METER TERMINALS RESISTANCE

    Condition Specified Condition
    -20°C (-4°F) 13.6 to 18.4 kΩ
    20°C (68°F) 2.21 to 2.69 kΩ
    60°C (140°F) 0.493 to 0.667 kΩ

    If the result is not as specified, replace the MAF meter.

    Fig 1: Mass Air Flow Meter Terminals Resistance Graph
    G03032650Courtesy of © TOYOTA, LICENSE AGREEMENT TMS1002
  2. INSPECT CAMSHAFT TIMING OIL CONTROL VALVE ASSY 
    1. Measure the resistance between the terminals.
      1. Standard: 6.9 to 7.9 a at 20°C (68°F) 

      If the result is not as specified, replace the OCV assy.

    2. Connect the battery's positive (+) lead to terminal 1 and negative (-) lead to terminal 2, and check the movement of the valve.
    NOTE: Confirm that the valve moves freely and does not become stuck in any position.

    If necessary, replace the OCV assy.

    HINT:

    If the valve cannot return properly because of foreign matter, a small pressure leak in the advanced direction may occur and a DTC will be output.

    Fig 2: Measuring Resistance Between Camshaft Timing Oil Control Valve Assy Terminals
    G03032651Courtesy of © TOYOTA, LICENSE AGREEMENT TMS1002
  3. INSPECT ACCELERATOR PEDAL ROD ASSY 
    1. Check the accelerator pedal position sensor (See DTC P0120 THROTTLE/PEDAL POSITION SENSOR/SWITCH "A" CIRCUIT, DTC P0122 THROTTLE/PEDAL POSITION SENSOR/SWITCH "A" CIRCUIT LOW INPUT, DTC P0123 THROTTLE/PEDAL POSITION SENSOR/SWITCH "A" CIRCUIT HIGH INPUT, DTC P0220 THROTTLE/PEDAL POSITION SENSOR/SWITCH "B" CIRCUIT, DTC P0222 THROTTLE/PEDAL POSITION SENSOR/SWITCH "B" CIRCUIT LOW INPUT, DTC P0223 THROTTLE/PEDAL POSITION SENSOR/SWITCH "B" CIRCUIT HIGH INPUT, DTC P2135 THROTTLE/PEDAL POSITION SENSOR/SWITCH "A'V'B" VOLTAGE CORRELATION ).
  4. INSPECT THROTTLE BODY ASSY 
    1. Check the throttle position sensor (See DTC P0120 THROTTLE/PEDAL POSITION SENSOR/SWITCH "A" CIRCUIT, DTC P0122 THROTTLE/PEDAL POSITION SENSOR/SWITCH "A" CIRCUIT LOW INPUT, DTC P0123 THROTTLE/PEDAL POSITION SENSOR/SWITCH "A" CIRCUIT HIGH INPUT, DTC P0220 THROTTLE/PEDAL POSITION SENSOR/SWITCH "B" CIRCUIT, DTC P0222 THROTTLE/PEDAL POSITION SENSOR/SWITCH "B" CIRCUIT LOW INPUT, DTC P0223 THROTTLE/PEDAL POSITION SENSOR/SWITCH "B" CIRCUIT HIGH INPUT, DTC P2135 THROTTLE/PEDAL POSITION SENSOR/SWITCH "A'V'B" VOLTAGE CORRELATION ).
    2. Check the throttle control motor.
      1. Measure the resistance between terminals 2 (M+) and 1 (M-).
        1. Resistance: 0.3 to 100 Ω at 20°C (68°F). 

    If the result is not as specified, replace the throttle body assy.

    Fig 3: Identifying Throttle Body Assy Terminals
    G03032652Courtesy of © TOYOTA, LICENSE AGREEMENT TMS1002
  5. INSPECT ENGINE COOLANT TEMPERATURE SENSOR 
    1. Measure the resistance between each terminal.

    Standard: 

    ENGINE COOLANT TEMPERATURE SENSOR TERMINALS RESISTANCE

    Condition Specified Condition
    20°C (68°F) 2.32 to 2.59 kΩ
    80°C (176°F) 0.310 to 0.326 kΩ

    If the result is not as specified, replace the sensor.

    NOTE: If checking the ECT sensor in the water, keep the terminals dry. After the check, wipe the sensor dry.
    Fig 4: Measuring Resistance Between Engine Coolant Temperature Sensor Terminals
    G03032653Courtesy of © TOYOTA, LICENSE AGREEMENT TMS1002
  6. INSPECT KNOCK SENSOR 
    1. Measure the resistance between the terminals.
      1. Resistance: 120 to 280 kΩ at 20°C (68°F) 

    If the result is not as specified, replace the sensor.

    Fig 5: Measuring Resistance Between Knock Sensor Terminals
    G03032654Courtesy of © TOYOTA, LICENSE AGREEMENT TMS1002
  7. INSPECT RELAY (Marking: EFI, A/F) 
    1. Remove the EFI relay from the engine room J/B.
    2. Remove the A/F relay from the engine room R/B No. 2.
    3. Measure the resistance of the relay.

    Standard: 

    EFI AND A/F RELAY TERMINALS RESISTANCE

    Tester Connection Specified Condition
    3 - 5 10 kΩ or higher
    3 - 5 Below 1Ω (when battery voltage is applied to terminals 1 and 2)

    If the result is not as specified, replace the relay.

    Fig 6: Measuring Resistance Between EFI And A/F Relay Terminals
    G03032655Courtesy of © TOYOTA, LICENSE AGREEMENT TMS1002
  8. INSPECT CIRCUIT OPENING RELAY 
    1. Remove the circuit opening relay from the R/B sub-assy.
    2. Measure the resistance of the relay.

    Standard: 

    CIRCUIT OPENING RELAY TERMINALS RESISTANCE

    Tester Connection Specified Condition
    3 - 5 10 kΩ or higher
    3 - 5 Below 1 Ω (when battery voltage is applied to terminals 1 and 2)

    If the result is not as specified, replace the relay.

    Fig 7: Measuring Resistance Between Circuit Opening Relay Terminals
    G03032656Courtesy of © TOYOTA, LICENSE AGREEMENT TMS1002