lemon-mirror:
Home >> Toyota >> 2004 >> Highlander Limited, FWD >> Repair and Diagnosis >> General Information >> Identification >> Introduction >> Identification Information >> Vehicle Identification And Serial Numbers

Vehicle Identification And Serial Numbers

  1. VEHICLE IDENTIFICATION NUMBER 
    1. The vehicle identification number is stamped on the vehicle identification number plate and certification label, as shown in the illustration.

      A: Vehicle Identification Number Plate 

      B: Certification Label 

      Fig 1: Identifying Vehicle Identification And Serial Numbers
      G02907584Courtesy of © TOYOTA, LICENSE AGREEMENT TMS1002
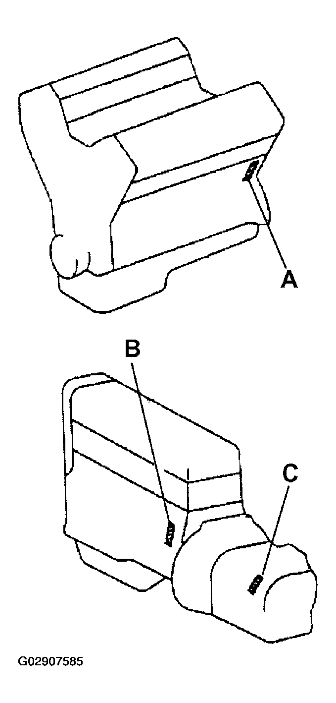
  2. ENGINE SERIAL NUMBER AND TRANSAXLE SERIAL NUMBER 
    1. The engine serial number is stamped on the cylinder block of the engine and the transmission serial number is stamped on the housing as shown in the illustration.

      A: 3MZ-FE 

      B: 2AZ-FE 

      C: U140E, U151E, U151F, U241E 

      Fig 2: Identifying Engine Serial Number And Transaxle Serial Number
      G02907585Courtesy of © TOYOTA, LICENSE AGREEMENT TMS1002