lemon-mirror:
Home >> Toyota >> 2004 >> Land Cruiser >> Repair and Diagnosis >> Electrical >> Gauges >> Combination Meter >> Inspection

Combination Meter: Inspection

  1. INSPECT COMBINATION METER CIRCUIT 

    Connect the connector "A", "B", "C" and "D" to the combination meter and inspect the wire harness side connectors from the back side as shown in Fig 2 .

    Fig 1: Identifying Combination Meter A, B, C & D Connector
    G02904388Courtesy of © TOYOTA, LICENSE AGREEMENT TMS1002
    Fig 2: Wire Harness Side Connectors Table
    G02904389Courtesy of © TOYOTA, LICENSE AGREEMENT TMS1002
    Fig 3: Ignition Combination Table
    G02904390Courtesy of © TOYOTA, LICENSE AGREEMENT TMS1002
    Fig 4: Circuit Connector Check Table
    G02904391Courtesy of © TOYOTA, LICENSE AGREEMENT TMS1002

    If circuit is not as specified, wiring diagram and inspect the circuits connected to other parts.

  2. INSPECT SPEEDOMETER/ON-VEHICLE 

    Using a speedometer tester, inspect the speedometer for allowable indication error and check the operation of the odometer.

    HINT:

    Tire wear and tire over or under inflation will increase the indication error.

    INSPECTING SPEEDOMETER

    USA (mph) CANADA (km/h)
    Standard indication Allowable range Standard indication Allowable range
    20 18 - 24 20 17 - 24
    40 38 - 44 40 38 - 46
    60 56 - 66 60 57.5 - 67
    80 78 - 88 80 77 - 88
    100 98 - 110 100 96 - 109
    120 118 - 132 120 115 - 130
    - 140 134 - 151.5
    - 160 153 - 173

    If error is excessive, replace the speedometer.

  3. INSPECT SPEEDOMETER RESISTANCE 
    1. While driving the vehicle at the speed of 10 km/h, check the voltage between the terminals 6 and 11 of the combination meter assy.
    1. STANDARD: Fluctuation between 10 to 14 V or less is repeated 7 times within 1 sec. 
    Fig 5: Checking Voltage Between Terminal 6 & 11
    G02904392Courtesy of © TOYOTA, LICENSE AGREEMENT TMS1002
  4. INSPECT VEHICLE SPEED SENSOR OPERATION 
    1. Connect the positive (+) lead from the battery to terminal 1 and negative (-) lead to terminal 2.
    2. Connect the positive (+) lead from the tester to terminal 3 and the negative (-) lead to terminal 2.
    3. Rotate the shaft.
    4. Check that there is voltage change from approx. 0 V to 11 V or more between terminals 2 and 3.

    HINT:

    The voltage change should be performed 4 times for every revolution is not as specified, replace the sensor.

  5. INSPECT TACHOMETER/ON-VEHICLE 
    1. Connect a tune-up test tachometer, and start the engine.
      Fig 6: Identifying Vehicle Speed Sensor Terminals
      G02904393Courtesy of © TOYOTA, LICENSE AGREEMENT TMS1002
      NOTE:
      • Reversing the connection of the tachometer will damage the transistors and diodes inside. 
      • When removing or installing the tachometer, be careful not to drop or subject it to heavy shocks. 
    2. Compare the tester and tachometer indications.
      1. DC 13.5 V 25°C at (77°F): 
    TESTER AND TACHOMETER INDICATIONS

    Standard indication Allowable range
    700 630 - 770
    1,000 900 - 1,100
    2,000 1,850 - 2,150
    3,000 2,800 - 3,200
    4,000 3,800 - 4,200
    5,000 4,800 - 5,200
    6,000 5,750 - 6,250
    7,000 6,700 - 7,300
  6. INSPECT FUEL SENDER GAUGE RESISTANCE 
    1. Apply voltage between terminals 2 and 3.
    2. Measure voltage between terminals 1 and 2 for each float position.
    FLOAT POSITION AND VOLTAGE

    Float position mm (in.) Voltage (V)
    F: Approx. 85.3 (3.36) Approx. 4.60 +/- 0.1
    1/2: Approx. 1.7 (0.67) Approx. 2.45 +/- 0.1
    E: Approx. 91.9 (3.62) Approx. 0.30 +/- 0.1

    If voltage value is not as specified, replace main sender gauge.

  7. INSPECT LOW OIL PRESSURE WARNING LIGHT 
    1. Disconnect the connector from the low oil pressure switch.
    2. Turn the ignition switch ON.
    3. Connect the terminal of wire harness side connector and ground, then check the warning light.
      Fig 7: Applying Voltage Between Terminal 2 & 3
      G02904394Courtesy of © TOYOTA, LICENSE AGREEMENT TMS1002
  8. INSPECT PARKING BRAKE WARNING LIGHT 
    1. Disconnect the connector from the parking brake switch and ground terminal on the wire harness side connector.
    2. Turn the ignition switch ON and check that the warning light lights up.
  9. INSPECT BRAKE WARNING LIGHT 
    1. Disconnect the connector from the brake fluid level warning switch and ground terminal on the wire harness side connector.
    2. Turn the ignition switch ON and check that the warning light lights up.
  10. INSPECT BRAKE FLUID LEVEL WARNING SWITCH 
    1. Remove the reservoir tank cap and retainer.
    2. Disconnect the connector.
    3. Check that the continuity exists between the terminal.
    4. Use siphon, etc., to take fluid out of the reservoir tank.
    5. Check that the continuity exists between terminals.
    6. Pour the fluid back in the reservoir tank.
  11. INSPECT OPEN DOOR WARNING LIGHT 
    1. Disconnect the connector from the driver door courtesy switch and ground terminal on the wire harness side connector.
    2. Turn the ignition switch ON and check that the warning light lights up.
  12. INSPECT SEAT BELT WARNING BUZZER 
    1. Disconnect the connector from the combination meter.
    2. Connect the positive (+) lead from the battery terminal 2 and negative (-) lead terminal 11.
    3. Check that the buzzer stop after 4 to 8 seconds.
    4. Check that the buzzer stops when connecting the terminal 20 to the GND.
      Fig 8: Locating Terminals 2, 11 & 20 Of Connectors C & D
      G02904395Courtesy of © TOYOTA, LICENSE AGREEMENT TMS1002
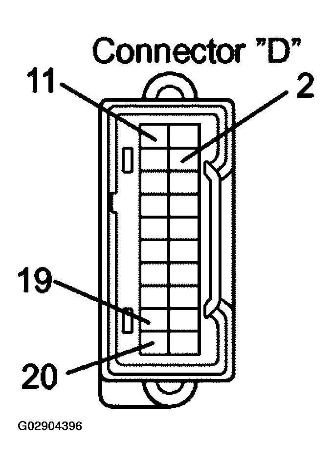
  13. INSPECT KEY UNLOCK WARNING BUZZER 
    1. Disconnect the connector from the combination meter.
    2. Connect the positive (+) lead from the battery terminal 2 and negative (-) lead terminal 11.
    3. Connect the negative (-) lead from battery terminal 19 and 20, check that the buzzer sound.
      Fig 9: Locating Terminals 2, 11, 19 & 20 Of Connector C
      G02904396Courtesy of © TOYOTA, LICENSE AGREEMENT TMS1002
  14. INSPECT SEAT BELT WARNING LIGHT 
    1. Disconnect the connector from the seat belt buckle switch and ground terminal on the wire harness side connector.
    2. Turn the ignition switch ON and check that the warning light lights up.
  15. INSPECT SEAT BELT BUCKLE SWITCH CONTINUITY 
    SEAT BELT BUCKLE SWITCH CONTINUITY

    Tester connection Belt fastened (Belt unfastened)
    Seat belt buckle SW (D) 1 - 4 ON (OFF)
    Seat belt buckle SW (P) 2 - 4 OFF (ON)

    If operation is not as specified, replace the switch.

    Fig 10: Checking Seat Belt Buckles Switch Using Tester
    G02904397Courtesy of © TOYOTA, LICENSE AGREEMENT TMS1002
  16. INSPECT SEAT BELT BUCKLE SWITCH CIRCUIT 

    Disconnect the switch connector and inspect the connector on wire harness side, as shown in Fig 11 .

    Fig 11: Inspecting Connector Seat Belt Buckle Switch Wiring Harness Side
    G02904398Courtesy of © TOYOTA, LICENSE AGREEMENT TMS1002
    CONTINUITY

    Tester connection Condition Specified condition
    4 - Ground Constant Continuity

    If continuity is not as specified, inspect the circuits connected to other parts.

  17. Passenger seat only: 
    1. INSPECT SEAT BELT WARNING OCCUPANT DETECTION SENSOR CONTINUITY 

    Check that continuity exists between the terminals 1 and 2 when pressing the sensing part.

    If operation is not as specified, replace the sensor.

    Fig 12: Checking Pressing Sensor Part Continuity Exists Between Terminals 1 & 2
    G02904399Courtesy of © TOYOTA, LICENSE AGREEMENT TMS1002
  18. INSPECT LIGHT CONTROL RHEOSTAT 
    1. Turn the rheostat knob OFF, and check that there is no continuity between terminal 5 and 4 (Rheostat knob turned to fully counterclockwise).
    2. Gradually, turn the rheostat knob from the dark side to bright side, and check that there is continuity between terminal 5 and 4 (Rheostat knob turned to clockwise).

    If operation is not as specified, replace the rheostat.

    Fig 13: Inspecting Light Control Rheostat
    G02904400Courtesy of © TOYOTA, LICENSE AGREEMENT TMS1002
  19. INSPECT INCLINATION SENSOR 
    1. With the combination meter in which the inclination sensor installed, connect the battery plus to the 1 terminal (IGN+) of the meter connector, and battery minus to the 11 terminal (E/G EARTH).
    2. Check whether or not the voltage is 5 V between the VCC and the GND terminals of the inclination sensor connector.
    3. Check the voltage between the OUT and the GND terminals when the inclination sensor is in level position and when it is inclined backward and forward.
      1. Standard Value: 
      2. Sensor in level position about 4.5 V 
      3. Sensor inclined about 0.5 V 
      Fig 14: Checking Voltage Between OUT & GND Terminals
      G02904401Courtesy of © TOYOTA, LICENSE AGREEMENT TMS1002