lemon-mirror:
Home >> Toyota >> 2004 >> Matrix Base, FWD, Automatic >> Repair and Diagnosis >> External Pages >> Different car >> Section 819 (Defogger System) >> Inspection

Section 819 (Defogger System): Inspection

WARNING: This page is about a different car, the 2003 Lexus IS 300. However, it is still accessible from the selected car via links, so may be relevant.
  1. INSPECT DEFOGGER SWITCH (See  INSPECTION  ) 
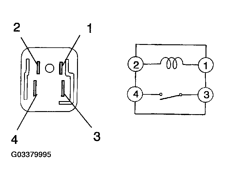
  2. INSPECT DEFOGGER RELAY CONTINUITY 
    DEFOGGER RELAY CONTINUITY

    Condition Tester connection Specified condition
    Always 1 - 2 Continuity
    Apply B+ between terminals 1 and 2. 3 - 4 Continuity

    If continuity is not as specified, replace the relay.

  3. INSPECT DEFOGGER RELAY CIRCUIT (See  REAR DEFOGGER RELAY CIRCUIT  ) 
    Fig 1: Inspecting Defogger Relay Continuity
    G03379995Courtesy of © TOYOTA, LICENSE AGREEMENT TMS1002
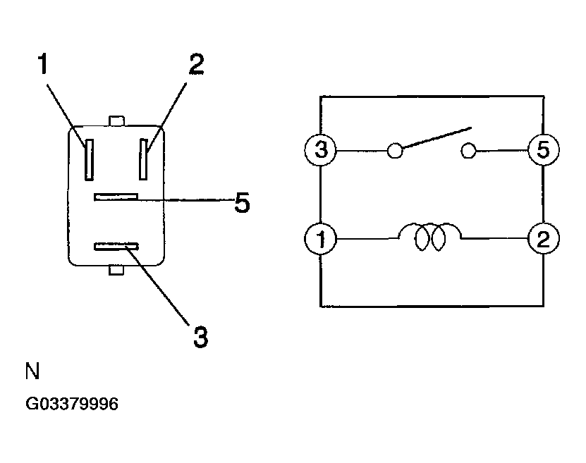
  4. INSPECT MIRROR DEFOGGER RELAY CONTINUITY 
    MIRROR DEFOGGER RELAY CONTINUITY

    Condition Tester connection Specified condition
    Always 1 - 2 Continuity
    Apply B+ between terminals 1 and 2. 3 - 5 Continuity

    If continuity is not as specified, replace the relay.

    Fig 2: Inspecting Mirror Defogger Relay Continuity
    G03379996Courtesy of © TOYOTA, LICENSE AGREEMENT TMS1002
  5. INSPECT DEFOGGER WIRE 
    NOTE:
    • When cleaning the glass, use a soft, dry cloth, and wipe the glass in the direction of the wire. Take care not to damage the wires.
    • Do not use detergents or glass cleaners with abrasive ingredients.
    • When measuring voltage, wrap a piece of tin foil around the tip of the negative probe and press the foil against the wire with your finger, as shown.
      Fig 3: Wrapping A Piece Of Tin Foil Around Tip Of Negative Probe
      G03379997Courtesy of © TOYOTA, LICENSE AGREEMENT TMS1002
    1. Turn the ignition switch ON.
    2. Turn the defogger switch ON.
    3. Inspect the voltage at the center of each heat wire, as shown.
      Fig 4: Measuring Voltage At Center Of Each Heat Wire
      G03379998Courtesy of © TOYOTA, LICENSE AGREEMENT TMS1002
      VOLTAGE CRITERIA

      Voltage Criteria
      Approx. 5V Okay (No break in wire)
      Approx. 10V or 0V Broken wire

      HINT:

      If there is approximately 10 V, the wire is broken between the center of the wire and the positive (+) end. If there is no voltage, the wire is broken between the center of the wire and ground.

    4. Place the voltmeter positive (+) lead against the defogger wire on the battery side.
    5. Place the voltmeter negative (-) lead with the foil strip against the wire on the ground side.
    6. Slide the positive (+) lead from battery to ground side.
    7. The point where the voltmeter deflects from several V to zero V is the place where the defogger wire is broken.
      Fig 5: Measuring Voltage Of Broken Defogger Wire
      G03379999Courtesy of © TOYOTA, LICENSE AGREEMENT TMS1002

      HINT:

      If the heat wire is not broken, the voltmeter indicates 0 V at the positive (+) end of the heat wire but gradually increases to about 12 V as the meter probe moves to the other end.

  6. IF NECESSARY, REPAIR DEFOGGER WIRE 
    1. Clean the broken wire tips with grease, wax and silicone remover.
    2. Place the masking tape along both sides of the wire for repair.
    3. Thoroughly mix the repair agent (Dupont paste No. 4817).
      Fig 6: Identifying Defogger Wire Repair Point
      G03380000Courtesy of © TOYOTA, LICENSE AGREEMENT TMS1002
    4. Using a fine tip brush, apply a small amount of the agent to the wire.
    5. After a few minutes, remove the masking tape.
    6. Do not repair the defogger wire for at least 24 hours.
      Fig 7: Applying A Small Amount Of Agent To Wire
      G03380001Courtesy of © TOYOTA, LICENSE AGREEMENT TMS1002
  7. w/ Mirror heater: INSPECT MIRROR DEFOGGER OPERATION 
    1. Connect the positive (+) lead from the battery to terminal 5 and the negative (-) lead to terminal 4.
    2. Check that the mirror becomes warm.

      HINT:

      It will take a short time for the mirror to become warm.

      Fig 8: Inspecting Mirror Defogger Operation
      G03380002Courtesy of © TOYOTA, LICENSE AGREEMENT TMS1002