lemon-mirror:
Home >> Toyota >> 2004 >> Prius >> Repair and Diagnosis >> Body & Frame >> Windows >> Power Window Control System - Diagnosis >> Inspection

Power Window Control System - Diagnosis: Inspection

  1. INSPECT POWER WINDOW REGULATOR MASTER SWITCH ASSY 
    1. Remove the master switch (see ENGINE HOOD/DOOR ).
    2. Measure the resistance between the terminals of the connector when the switch is operated.
      Fig 1: Inspecting Power Window Regulator Master Switch Assembly
      G02919621Courtesy of © TOYOTA, LICENSE AGREEMENT TMS1002

      Standard: 

      Driver switch 

      DRIVER SWITCH TESTER CONNECTION SPECIFIED CONDITION

      Window Lock Switch Condition Power Window Switch Condition Tester Connection Specified Condition
      Constant (ON/OFF) UP 1 - 9, 4 - 7 Below 1 Ω
      Constant (ON/OFF) AUTO UP 1 - 9, 4 - 7 Below 1 Ω
      Constant (ON/OFF) OFF 1 - 4, 1 - 9 Below 1 Ω
      Constant (ON/OFF) DOWN 1 - 4, 7 - 9 Below 1 Ω
      Constant (ON/OFF) AUTO DOWN 1 - 4, 7 - 9 Below 1 Ω

      Passenger switch 

      PASSENGER SWITCH TESTER CONNECTION SPECIFIED CONDITION

      Window Lock Switch Condition Power Window Switch Condition Tester Connection Specified Condition
      OFF UP 1 - 15, 6 - 13 Below 1 Ω
      OFF OFF 1 - 13, 1 - 15 Below 1 Ω
      OFF DOWN 1 - 13, 6 - 15 Below 1 Ω
      ON UP 1 - 15, 6 - 13 10 kΩ or higher Below 1 Ω
      ON OFF 13 - 15 Below 1 Ω
      ON DOWN 1 - 13, 6 - 15 10 kΩ or higher Below 1 Ω

      Rear LH switch 

      REAR LH SWITCH TESTER CONNECTION SPECIFIED CONDITION

      Window Lock Switch Condition Power Window Switch Condition Tester Connection Specified Condition
      OFF UP 1 - 10, 6 - 12 Below 1 Ω
      OFF OFF 1 - 12, 1 - 10 Below 1 Ω
      OFF DOWN 1 - 12, 6 - 10 Below 1 Ω
      ON UP 1 - 10, 6 - 12 10 kΩ or higher Below 1 Ω
      ON OFF 12 - 10 Below 1 Ω
      ON DOWN 1 - 12, 6 - 10 10 kΩ or higher Below 1 Ω

      Rear RH switch 

      REAR RH SWITCH TESTER CONNECTION SPECIFIED CONDITION

      Window Lock Switch Condition Power Window Switch Condition Tester Connection Specified Condition
      OFF UP 1 - 16, 6 - 18 Below 1 Ω
      OFF OFF 1 - 18, 1 - 16 Below 1 Ω
      OFF DOWN 1 - 18, 6 - 16 Below 1 Ω
      ON UP 1 - 16, 6 - 18 10 kΩ or higher Below 1Ω
      ON OFF 18 - 16 Below 1 Ω
      ON DOWN 1 - 18, 6-16 10 kΩ or higher Below 1 Ω
    3. Check the AUTO lamp master switch.

      Standard: 

      MEASUREMENT CONDITION AND SPECIFIED CONDITION

      Measurement Condition Specified Condition
      Battery positive (+) --> Terminal 11 AUTO lamp illuminates
      Battery negative (-) --> Terminal 1 AUTO lamp illuminates

    If the result is not as specified, replace the master switch assy.

    Fig 2: Inspecting Auto Lamp Master Switch
    G02919622Courtesy of © TOYOTA, LICENSE AGREEMENT TMS1002
  2. INSPECT POWER WINDOW REGULATOR SWITCH ASSY 
    1. Remove the power window regulator switch (see ENGINE HOOD/DOOR ).
    2. Measure the resistance between the terminals of the connector when the switch is operated.

      Standard: 

      POWER WINDOW REGULATOR SWITCH ASSY STANDARD

      Switch Condition Tester Connection Specified Condition
      UP 1 - 2, 3 - 4 Below 1 Ω
      OFF 1 - 2, 3 - 5 Below 1 Ω
      DOWN 1 - 4, 3 - 5 Below 1 Ω

      If the result is not as specified, replace the regulator switch assy.

    Fig 3: Identifying Power Window Regulator Switch Connector Terminal
    G02919623Courtesy of © TOYOTA, LICENSE AGREEMENT TMS1002
  3. INSPECT POWER WINDOW REGULATOR MOTOR ASSY 
    1. Check motor operation of the regulator motor.

      HINT:

      • The front LH and rear RH regulator motors should be inspected using the same procedure.
      • The front RH and rear LH regulator motors should be inspected using the same procedure.
        1. Remove the power window regulator motor (see ENGINE HOOD/DOOR ).
        2. Apply battery voltage to the motor terminals.
        3. Check that the motor operates smoothly.
      NOTE: Do not apply voltage to the terminals except 1 and 2.

      OK: 

      Front LH and rear RH 

      MEASUREMENT CONDITION SPECIFIED CONDITION

      Measurement Condition Specified Condition
      Battery positive (+) --> 2 Motor gear rotates clockwise
      Battery negative (-) --> 1 Motor gear rotates clockwise
      Battery positive (+) --> 1 Motor gear rotates counterclockwise
      Battery negative (-) --> 2 Motor gear rotates counterclockwise

      Front RH and rear LH 

      MEASUREMENT CONDITION AND SPECIFIED CONDITION

      Measurement Condition Specified Condition
      Battery positive (+) --> 1 Motor gear rotates clockwise
      Battery negative (-) --> 2 Motor gear rotates clockwise
      Battery positive (+) --> 2 Motor gear rotates counterclockwise
      Battery negative (-) --> 1 Motor gear rotates counterclockwise

      If the result is not as specified, replace the motor assy.

    2. Check the PTC operation inside the regulator motor.
    Fig 4: Inspecting Power Window Regulator Motor Operation
    G02919624Courtesy of © TOYOTA, LICENSE AGREEMENT TMS1002
    NOTE: The work must be performed with the power window regulator and door glass installed in the vehicle.
    Fig 5: Identifying Window Fully Closed Position
    G02919625Courtesy of © TOYOTA, LICENSE AGREEMENT TMS1002
    1. Disconnect the driver side power window regulator motor.
    2. Connect the ammeter's positive (+) lead to terminal 2 of the wire harness side connector and the negative (-) lead to battery's negative terminal.
    3. Connect the battery's positive (+) lead to terminal 1 of the wire harness side connector, and raise that window to the fully closed position.
    4. Continue to apply voltage, and check that the current changes to less than 1A within 4 to 90 seconds.
    5. Disconnect the leads from the terminals.
    6. Approximately 60 seconds later, connect the battery's positive (+) lead to terminal 2 and the negative (-) lead to terminal 1, and check that the window begins to lower.

    If the result is not as specified, replace the motor assy.

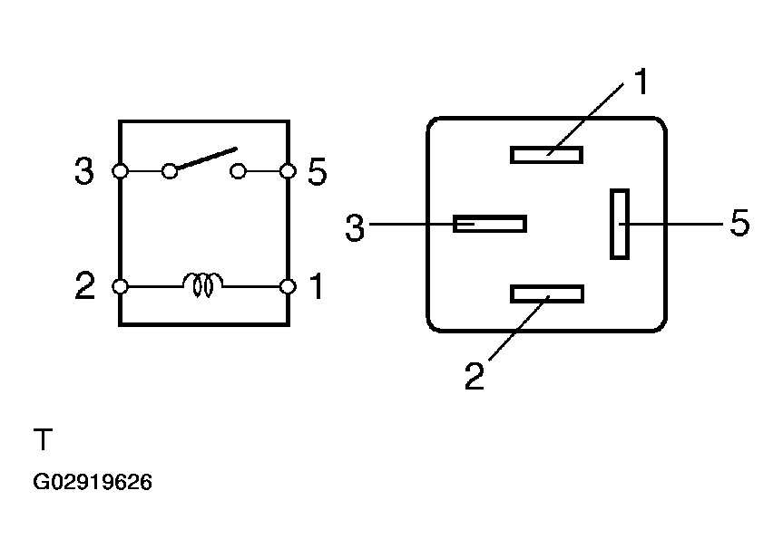
  4. INSPECT RELAY (IG1) 
    1. Remove the IG1 relay from the instrument panel J/B.
    2. Measure the resistance.

      Standard: 

      TESTER CONNECTION SPECIFIED CONDITION

      Tester Connection Specified Condition
      3-5 10 kΩ or higher
      3-5 Below 1 --> (when battery voltage is applied to terminals 1 and 2)

      If the result is not as specified, replace the relay.

    Fig 6: Inspecting Relay (IG1)
    G02919626Courtesy of © TOYOTA, LICENSE AGREEMENT TMS1002