lemon-mirror:
Home >> Toyota >> 2004 >> Prius >> Repair and Diagnosis >> Electrical >> Gauges >> Instrument Panel/Meter >> Instrument Panel Sub-ASSY >> Replacement

Instrument Panel Sub-ASSY: Replacement

HINT:

  1. TABLE OF BOLT, SCREW AND NUT 

    HINT:

    All bolts, screws and nuts relevant to installing and removing the instrument panel are shown along with their alphabet code in the table below.

    Fig 1: Bolts Description Chart
    G00934418Courtesy of © TOYOTA, LICENSE AGREEMENT TMS1002
  2. DISCONNECT BATTERY NEGATIVE TERMINAL (SEE  AIR BAG SAFETY PRECAUTIONS  ) 
  3. REMOVE INSTRUMENT PANEL REGISTER ASSY No. 1 
    1. Disengage the 2 claws and the 4 clips and then remove the instrument panel register assy No. 1.
      Fig 2: Removing Instrument Panel Register Assy No. 1
      G00934419Courtesy of © TOYOTA, LICENSE AGREEMENT TMS1002
  4. REMOVE INSTRUMENT PANEL FINISH PANEL SUB-ASSY LOWER 
    1. Remove the 2 screws < E >.
    2. Disconnect the hood lock control cable assy.
    3. Disengage the 4 claws and the 5 clips.
    4. Disconnect all connectors and then remove the instrument panel finish panel sub-assy lower.
    Fig 3: Removing Instrument Panel Finish Panel Sub-Assy Lower
    G00934420Courtesy of © TOYOTA, LICENSE AGREEMENT TMS1002
  5. REMOVE INSTRUMENT PANEL FINISH PANEL SUB-ASSY UPPER 
    1. Disengage the 3 claws and the 4 clips.
    2. Disconnect the connector and then remove the instrument panel finish panel sub-assy upper.
    Fig 4: Removing Instrument Panel Finish Panel Sub-Assy Upper
    G00934421Courtesy of © TOYOTA, LICENSE AGREEMENT TMS1002
  6. REMOVE INSTRUMENT PANEL REGISTER ASSY No. 3 
    1. Disengage the claw and the 5 clips.
    2. Disconnect the connector and then remove the instrument panel register assy No. 3
    Fig 5: Removing Instrument Panel Register Assy No. 3
    G00934422Courtesy of © TOYOTA, LICENSE AGREEMENT TMS1002
  7. REMOVE INSTRUMENT PANEL REGISTER ASSY No. 4 
    1. Disengage the 6 clips and then remove the instrument panel register assy No. 4.
    Fig 6: Removing Instrument Panel Register Assy No. 4
    G00934423Courtesy of © TOYOTA, LICENSE AGREEMENT TMS1002
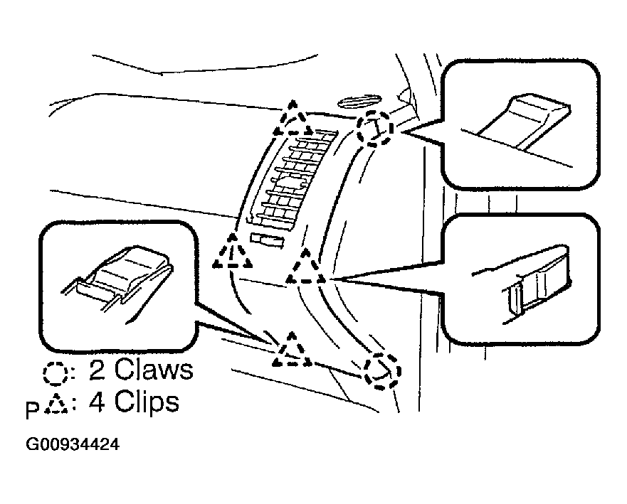
  8. REMOVE INSTRUMENT PANEL REGISTER ASSY No. 2 
    1. Disengage the 2 claws and the 4 clips, and then remove the instrument panel register assy No. 2.
    Fig 7: Removing Instrument Panel Register Assy No. 2
    G00934424Courtesy of © TOYOTA, LICENSE AGREEMENT TMS1002
  9. REMOVE MULTI-DISPLAY ASSY (SEE  REPLACEMENT  ) 
  10. REMOVE GLOVE COMPARTMENT DOOR STOPPER SUB-ASSY 
    1. Holding the part indicated in the illustration, remove the glove compartment door stopper sub-assy from the glove compartment door assy.
    Fig 8: Removing Glove Compartment Door Stopper Sub-Assy
    G00934425Courtesy of © TOYOTA, LICENSE AGREEMENT TMS1002
  11. REMOVE GLOVE COMPARTMENT DOOR ASSY 
    1. Push in at the locations indicated by arrows in the illustration and remove the stoppers.
      Fig 9: Removing Stoppers
      G00934426Courtesy of © TOYOTA, LICENSE AGREEMENT TMS1002
    2. Pull in the direction indicated by the arrow in the illustration and disengage the 2 hinges. Remove the glove compartment door assy.
    Fig 10: Removing Glove Compartment Door Assy
    G00934427Courtesy of © TOYOTA, LICENSE AGREEMENT TMS1002
  12. REMOVE INSTRUMENT PANEL CUSHION 
  13. REMOVE INSTRUMENT CLUSTER FINISH PANEL END 
  14. REMOVE INSTRUMENT PANEL HOLE COVER 
    1. Using a screwdriver, remove the 2 instrument panel hole covers.
  15. REMOVE GLOVE COMPARTMENT DOOR 
    1. Remove the 2 screws < C >.
    2. Disengage the claw and the 2 clips, and then remove the glove compartment door.
    Fig 11: Removing Glove Compartment Door
    G00934428Courtesy of © TOYOTA, LICENSE AGREEMENT TMS1002
  16. REMOVE INSTR PANEL SPEAKER PANEL SUB-ASSY No. 1 W/CTR SPEAKER (W/ JBL SOUND SYSTEM) (SEE  REPLACEMENT  ) 
  17. REMOVE FRONT PILLAR GARNISH CORNER PIECE LH (SEE ) 
  18. REMOVE FRONT PILLAR GARNISH CORNER PIECE RH (SEE ) 
  19. REMOVE FRONT PILLAR GARNISH LH (SEE ) 
  20. REMOVE FRONT PILLAR GARNISH RH (SEE ) 
  21. DISCONNECT PASSENGER AIRBAG CONNECTOR (SEE  REMOVAL & INSTALLATION  ) 
  22. REMOVE INSTRUMENT PANEL SUB-ASSY W/PASSENGER AIRBAG ASSY 
    1. Remove the 3 screws < D >.
    2. Remove the 2 bolts < A >.
    3. Pulling up the instrument panel, disengage the 6 claws and the 3 clips.
    4. Remove the instrument panel and passenger airbag as a single unit, being careful not to damage the steering wheel assy.
    Fig 12: Removing Instrument Panel And Passenger Airbag As A Single Unit
    G00934429Courtesy of © TOYOTA, LICENSE AGREEMENT TMS1002
  23. REMOVE INSTRUMENT PANEL WIRE No. 2 
    1. Disengage the 9 clamps and then remove the instrument panel wire No. 2.
    Fig 13: Removing Instrument Panel Wire No. 2
    G00934430Courtesy of © TOYOTA, LICENSE AGREEMENT TMS1002
  24. REMOVE COOLER (SOLAR SENSOR) THERMISTOR 
  25. REMOVE AUTOMATIC LIGHT CONTROL SENSOR (W/ DAY TIME RUNNING LIGHT SYSTEM) 
  26. REMOVE TELLTALE LAMP ASSY 
    1. Disengage the 2 claws and then remove the telltale lamp assy.
    Fig 14: Removing Telltale Lamp Assy
    G00934431Courtesy of © TOYOTA, LICENSE AGREEMENT TMS1002
  27. REMOVE INSTRUMENT CLUSTER FINISH PANEL ASSY 
    1. Remove the 8 screws < D > and then the instrument cluster finish panel assy.
    Fig 15: Removing Instrument Cluster Finish Panel Assy
    G00934432Courtesy of © TOYOTA, LICENSE AGREEMENT TMS1002
  28. REMOVE COMBINATION METER ASSY 
    1. Remove the 5 screws < D > and then the combination meter assy.
    Fig 16: Removing Combination Meter Assy
    G00934433Courtesy of © TOYOTA, LICENSE AGREEMENT TMS1002
  29. REMOVE INSTRUMENT PANEL MOUNTING BRACKET No. 1 
    1. Remove the 3 screws < D > and then the instrument panel mounting bracket No. 1.
    Fig 17: Removing Instrument Panel Mounting Bracket No. 1
    G00934434Courtesy of © TOYOTA, LICENSE AGREEMENT TMS1002
  30. REMOVE NAVIGATION ANTENNA ASSY (W/ NAVIGATION SYSTEM) (SEE  REPLACEMENT  ) 
  31. REMOVE INSTR PNL PASS L/DOOR AIR BAG ASSY (SEE  REMOVAL & INSTALLATION  ) 
  32. REMOVE INSTRUMENT PANEL CUSHION No. 1 
  33. REMOVE INSTRUMENT PANEL CUSHION No. 2 
  34. REMOVE INSTRUMENT PANEL CUSHION No. 3 
  35. REMOVE INSTRUMENT PANEL CUSHION No. 4 
  36. REMOVE INSTRUMENT PANEL CUSHION No. 5 
  37. REMOVE INSTRUMENT PANEL SUB-ASSY 
  38. INSTALL INSTRUMENT PANEL SUB-ASSY W/PASSENGER AIRBAG ASSY 
    1. Securely fit the forward-facing instrument panel claws to the body.
    2. Install the 3 screws < D >.
    3. Install the 2 passenger airbag fastening bolts < A >.
      1. Torque: 20 N.m (204 kgf.cm, 15 ft.lbf) 
    Fig 18: Installing Passenger Airbag Fastening Bolts
    G00934435Courtesy of © TOYOTA, LICENSE AGREEMENT TMS1002
  39. CONNECT BATTERY NEGATIVE TERMINAL (SEE  REPLACEMENT  ) 
  40. INSPECT SRS WARNING LIGHT (SEE  DIAGNOSTICS  ) 
  41. PERFORM INITIALIZATION (SEE  INITIALIZATION  )