lemon-mirror:
Home >> Toyota >> 2004 >> RAV4 Base, FWD, Automatic >> Repair and Diagnosis >> Electrical >> Gauges >> Combination Meter >> Inspection

Combination Meter: Inspection

  1. CHECK COMBINATION METER CIRCUIT 

    Check the meter terminals with the connectors connected.

    Fig 1: Checking Combination Meter Terminals
    G02926383Courtesy of © TOYOTA, LICENSE AGREEMENT TMS1002
    Fig 2: Tester Connection Specified Condition Table
    G02926384Courtesy of © TOYOTA, LICENSE AGREEMENT TMS1002

    HINT:

    • *1 : w/ ABS
    • *2 : w/o ABS
    • *3 : Reference the oscilloscope data in OSCILLOSCOPE DATA .
      Fig 3: Oscilloscope Data Chart
      G02926385Courtesy of © TOYOTA, LICENSE AGREEMENT TMS1002
      OSCILLOSCOPE DATA

      Item Contents
      Tool setting 10 V/DIV, 20 ms/DIV
      Vehicle condition Engine idle speed
    • *4 : Reference the oscilloscope data in OSCILLOSCOPE DATA .
      Fig 4: Oscilloscope Data Chart
      G02926386Courtesy of © TOYOTA, LICENSE AGREEMENT TMS1002
      OSCILLOSCOPE DATA

      Item Contents
      Tool setting 10V/DIV, 20ms/DIV
      Vehicle condition Engine idle speed
    • *5 : Reference the oscilloscope data in OSCILLOSCOPE DATA .
      Fig 5: Oscilloscope Data Chart
      G02926387Courtesy of © TOYOTA, LICENSE AGREEMENT TMS1002
      OSCILLOSCOPE DATA

      Item Contents
      Tool setting 5V/DIV, 100ms/DIV
      Vehicle condition Ignition switch ON

      "A" changes according to the coolant temperature.

      COOLANT TEMPERATURE CHANGES

      Coolant Temperature A
      30°C (86°F) or less Approx. 82 ms
      Approx. 75°C (167°F) Approx. 377 ms
      90°C (194°F) or more Approx. 410 ms
  2. CHECK SPEEDOMETER ON-VEHICLE 

    Using a speedometer tester, check if the speedometer reading is within the allowable range, and check operation of the odometer.

    HINT:

    Tire wear and tire over inflation/under inflation will skew speedometer tester reading.

    SPEEDOMETER ALLOWABLE RANGES

    USA (mph) CANADA (km/h)
    Standard indication Allowable range Standard indication Allowable range
    20 18 - 24 20 17 - 24
    40 38 - 44 40 38 - 46
    60 58 - 66 60 57.5 - 67
    80 78 - 88 80 77 - 88
    100 98 - 110 100 96 - 109
    120 118 - 132 120 115 - 130
        140 134 - 151.5
        160 153 - 173

    If the indicated value is out of the allowable range, replace the combination meter (see REMOVAL ).

  3. CHECK TACHOMETER ON-VEHICLE 
    1. Connect a tune-up test tachometer and start the engine.
      NOTE: Reversing the connection of the tachometer will damage the transistors and diodes inside.
    2. Compare the tester reading with the tachometer reading.

      RPM (DC 13.5 V, 25°C (77°F)) 

      ( ): Reference 

      TACHOMETER ALLOWABLE RANGE

      Standard Indication Allowable Range
      700 630 - 770
      (1,000) (900 - 1,100)
      (2,000) (1,850 - 2,150)
      3,000 2,800 - 3,200
      (4,000) (3,800 - 4,200)
      5,000 4,800 - 5,200
      (6,000) (5,750 - 6,250)
      7,000 6,700 - 7,300

      If the indicated value is out of the allowable range, replace the combination meter (see REMOVAL ).

  4. CHECK FUEL RECEIVER GAUGE OPERATION 

    HINT:

    Park the vehicle in a flat area.

    1. Disconnect the connector from the main fuel pump assembly.
    2. Fig 6: Disconnecting Connector From Main Fuel Pump Assembly
      G02926388Courtesy of © TOYOTA, LICENSE AGREEMENT TMS1002
    3. Turn the ignition switch ON and check if the receiver gauge needle indicates EMPTY.
    4. Connect terminals 2 and 3 of the wire harness side connector with a 3.4 W test bulb.
    5. Fig 7: Connecting Terminals 2 & 3 Of Wire Harness Side Connector
      G02926389Courtesy of © TOYOTA, LICENSE AGREEMENT TMS1002
    6. Turn the ignition switch ON and check if the bulb lights up and the receiver gauge needle indicates FULL.

      If operation is not as specified, inspect the main fuel sender gauge and sub sender gauge resistance.

  5. INSPECT MAIN FUEL SENDER GAUGE RESISTANCE 

    Measure the resistance between terminals 2 and 3 for each float position.

    Fig 8: Inspecting Main Fuel Sender Gauge Resistance
    G02926390Courtesy of © TOYOTA, LICENSE AGREEMENT TMS1002
    MAIN FUEL SENDER GAUGE RESISTANCE

    Float Position: mm (in.) Resistance (Ω)
    F: Approx. 70.0 (2.76) Approx. 2
    E: Approx. 167.6 (6.60) Approx. 54

    If the resistance is not as specified, replace the sender gauge.

  6. INSPECT SUB FUEL SENDER GAUGE RESISTANCE 

    Measure the resistance between terminals 1 and 2 for each float position.

    Fig 9: Inspecting Sub Fuel Sender Gauge Resistance
    G02926391Courtesy of © TOYOTA, LICENSE AGREEMENT TMS1002
    SUB FUEL SENDER GAUGE RESISTANCE

    Float Position: mm (in.) Resistance (Ω)
    F: Approx. 52.1 (2.05) Approx. 2
    E: Approx. 177.0 (6.97) Approx. 53

    If the resistance is not as specified, replace the sender gauge.

  7. CHECK LOW OIL PRESSURE WARNING LIGHT 
    1. Disconnect the connector from the warning switch and ground terminal of the wire harness side connector.
    2. Turn the ignition switch ON and check if the warning light lights up.
      Fig 10: Checking Low Oil Pressure Warning Light
      G02926392Courtesy of © TOYOTA, LICENSE AGREEMENT TMS1002

      If the warning light does not light up, test the LED or inspect the wire harness.

  8. INSPECT LOW OIL PRESSURE SWITCH CONTINUITY 
    1. Check if continuity exists between the terminal and ground with the engine stopped.
    2. Check if no continuity exists between the terminal and ground with the engine running.
      Fig 11: Checking Low Oil Pressure Switch Continuity
      G02926393Courtesy of © TOYOTA, LICENSE AGREEMENT TMS1002

      HINT:

      The oil pressure should be over 24.5 kPa (0.25 kgf/cm2 , 3.55 psi).

      If operation is not as specified, replace the switch.

  9. CHECK BRAKE WARNING SYSTEM LIGHT 
    1. Disconnect the connector from the brake fluid warning switch.
    2. Connect the terminals of the level warning switch wire harness side connector.
    3. Start the engine. Check if the warning light lights up.
      Fig 12: Checking Brake Warning System Light
      G02926394Courtesy of © TOYOTA, LICENSE AGREEMENT TMS1002

      If the warning light does not light up, test the LED or inspect the wire harness.

  10. CHECK BRAKE FLUID LEVEL WARNING SWITCH CONTINUITY 
    1. Remove the reservoir cap and strainer.
    2. Disconnect the connector.
    3. Check if no continuity exists between the terminals with the switch OFF (float up).
    4. Use a siphon or other instrument to take fluid out of the reservoir.
    5. Check if continuity exists between the terminals with the switch ON (float down).
    6. Pour the fluid back in the reservoir.
      Fig 13: Checking Brake Fluid Level Warning Switch Continuity
      G02926395Courtesy of © TOYOTA, LICENSE AGREEMENT TMS1002

      If operation is not as specified, replace the switch.

  11. CHECK PARKING BRAKE WARNING LIGHT 
    1. Disconnect the connector from the parking brake switch.
    2. Ground the terminal of the wire harness side connector.
    3. Start the engine. Check if the warning light lights up.
      Fig 14: Checking Parking Brake Warning Light
      G02926396Courtesy of © TOYOTA, LICENSE AGREEMENT TMS1002

      If the warning light does not light up, test the LED or inspect the wire harness.

  12. INSPECT PARKING BRAKE SWITCH CONTINUITY 
    1. Check if continuity exists between the terminal and switch body with the switch ON (switch pin released).
    2. Check if no continuity exists between the terminal and switch body with the switch OFF (switch pin pushed in).
      Fig 15: Checking Parking Brake Switch Continuity
      G02926397Courtesy of © TOYOTA, LICENSE AGREEMENT TMS1002

      If operation is not as specified, replace the switch or inspect the ground point.

  13. Except back door: CHECK OPEN DOOR WARNING LIGHT 
    1. Disconnect the connector from the door courtesy switch.
    2. Ground the terminal of the wire harness side connector.
    3. Start the engine. Check if the warning light lights up.
      Fig 16: Checking Open Door Warning Light (Except Back Door)
      G02926398Courtesy of © TOYOTA, LICENSE AGREEMENT TMS1002

      If the warning light does not light up, test the LED or inspect the wire harness.

  14. Back door only: CHECK OPEN DOOR WARNING LIGHT 
    1. Disconnect the connector from the back door courtesy switch and ground the terminal on the wire harness side connector.
    2. Start the engine. Check if the warning light lights up.
      Fig 17: Checking Open Door Warning Light (Back Door)
      G02926399Courtesy of © TOYOTA, LICENSE AGREEMENT TMS1002

      If the warning light does not light up, test the LED or inspect the wire harness.

  15. Driver's side: CHECK SEAT BELT WARNING LIGHT 
    1. Disconnect the connector from the buckle switch and ground the terminal on the wire harness side connector.
    2. Turn the ignition switch ON and check if the warning light lights up.
      Fig 18: Checking Seat Belt Warning Light (Driver's Side)
      G02926400Courtesy of © TOYOTA, LICENSE AGREEMENT TMS1002

      If the warning light does not light up, test the LED or inspect the wire harness.

  16. Driver's side: INSPECT BUCKLE SWITCH CONTINUITY 
    1. Check if continuity exists between terminals 2 and 3 of the connector (A) with the switch ON (belt unfastened).
    2. Check if no continuity exists between terminals 2 and 3 of the connector (A) with the switch OFF (belt fastened).
      Fig 19: Inspecting Buckle Switch Continuity (Driver's Side)
      G02926401Courtesy of © TOYOTA, LICENSE AGREEMENT TMS1002

      If the continuity is not as specified, replace the switch.

  17. Passenger's side: INSPECT BUCKLE SWITCH CONTINUITY 
    1. Check if continuity exists between terminals 1 and 2 of the connector (A) with the switch ON (belt unfastened).
    2. Check if no continuity exists between terminals 1 and 2 of the connector (A) with the switch OFF (belt fastened).
      Fig 20: Inspecting Buckle Switch Continuity (Passenger's Side)
      G02926402Courtesy of © TOYOTA, LICENSE AGREEMENT TMS1002

      If the continuity is not as specified, replace the switch.

  18. Passenger's seat only: INSPECT SEAT BELT WARNING OCCUPANT DETECTION SENSOR CONTINUITY 

    Press the sensing part and check if continuity exists between terminals 1 and 2.

    Fig 21: Inspecting Seat Belt Warning Occupant Detection Sensor Continuity (Passenger's Seat)
    G02926403Courtesy of © TOYOTA, LICENSE AGREEMENT TMS1002

    If the continuity is not as specified, replace the seat cushion pad with sensor.

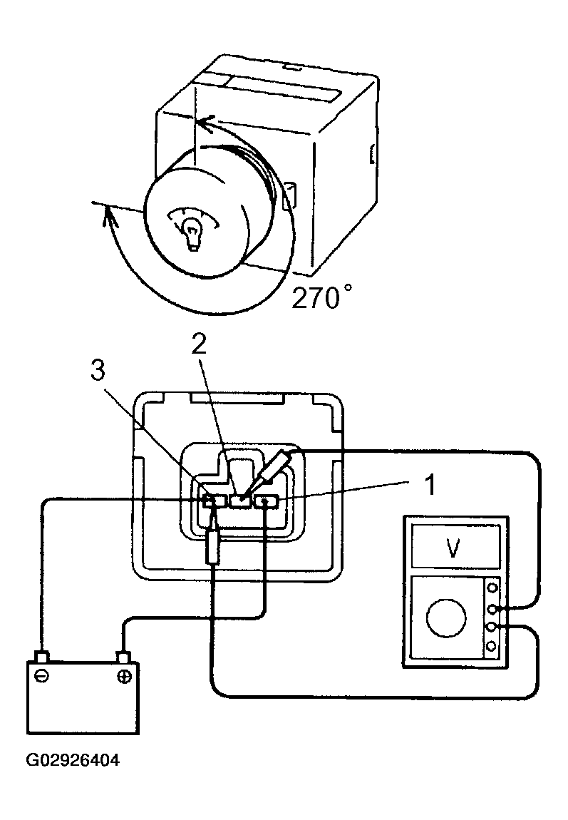
  19. INSPECT LIGHT CONTROL RHEOSTAT OPERATION 
    1. Connect the positive (+) lead from the battery to terminal 1 and negative lead (-) to terminal 3.
    2. Connect the positive (+) lead from the voltmeter to terminal 2 and negative lead to terminal 3.
    3. Turn the rheostat knob and check if the voltage changes.
      Fig 22: Inspecting Light Control Rheostat Operation
      G02926404Courtesy of © TOYOTA, LICENSE AGREEMENT TMS1002

      If the voltage is not as specified, replace the light control rheostat.