lemon-mirror:
Home >> Toyota >> 2004 >> RAV4 Base, FWD, Automatic >> Repair and Diagnosis >> Electrical >> Horns >> Inspection

Repair and Diagnosis: Electrical: Horns: Inspection

  1. INSPECT HORN SWITCH 
    1. Check if no continuity exists between terminal 6 of the connector and body ground.
    2. Check if continuity exists between terminal 6 of the connector and body ground when the horn contact plate is pressed against the steering wheel.
    3. Fig 1: Inspecting Horn Switch
      G02926560Courtesy of © TOYOTA, LICENSE AGREEMENT TMS1002

    If the continuity is not as specified, repair or replace the steering wheel or wire harness as necessary.

  2. INSPECT HORN OPERATION 

    Connect the positive (+) lead from the battery to the terminal and negative (-) lead to the horn body, Check if the horn sounds.

    Fig 2: Inspecting Horn Operation
    G02926561Courtesy of © TOYOTA, LICENSE AGREEMENT TMS1002

    If operation is not as specified, replace the horn.

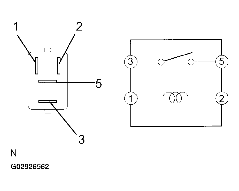
  3. INSPECT HORN RELAY (Marking: HORN) CONTINUITY 
    Fig 3: Inspecting Horn Relay
    G02926562Courtesy of © TOYOTA, LICENSE AGREEMENT TMS1002
    HORN RELAY CONTINUITY

    Tester Connection Specified Condition
    3 - 5 No continuity
    3 - 5 Continuity (When battery voltage is applied to terminals 1 and 2)

    If the continuity is not as specified, replace the relay.