lemon-mirror:
Home >> Toyota >> 2004 >> Sequoia Limited, RWD >> Repair and Diagnosis >> Suspension >> Wheel Alignment >> Front Wheel Alignment >> Inspection

Front Wheel Alignment: Inspection

NOTE: Be sure to perform the zero point calibration of steering angle, master cylinder pressure, yaw rate and deceleration sensors (See PRE-CHECK ).
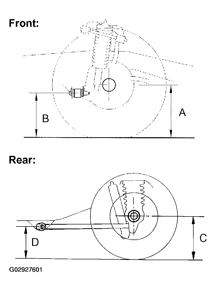
  1. MEASURE VEHICLE HEIGHT 

    Measuring points:

    1. Ground clearance of the front drive shaft center
    2. Ground clearance of the front adjusting cam bolt center
    3. Ground clearance of the rear axle shaft center
    4. Ground clearance of the rear lower control arm front bolt center

    Vehicle height: 

    Fig 1: Identifying Front & Rear Wheel
    G02927601Courtesy of © TOYOTA, LICENSE AGREEMENT TMS1002
    Fig 2: Vehicle Height Specification Table
    G02927602Courtesy of © TOYOTA, LICENSE AGREEMENT TMS1002
    NOTE: Before inspecting the wheel alignment, adjust the vehicle height to the specified value.

    If the vehicle height is not the specified value, try to adjust it by pushing down on or lifting the body.

  2. INSTALL CAMBER-CASTER-KINGPIN GAUGE OR POSITION VEHICLE ON WHEEL ALIGNMENT TESTER 

    Follow the specific instructions of the equipment manufacturer.

    Fig 3: Identifying Wheel Alignment Tester
    G02927603Courtesy of © TOYOTA, LICENSE AGREEMENT TMS1002
  3. INSPECT CAMBER, CASTER AND STEERING AXIS INCLINATION 

    Camber, caster and steering axis inclination: 

    Fig 4: Camber, Caster & Steering Axis Inclination Table
    G02927604Courtesy of © TOYOTA, LICENSE AGREEMENT TMS1002

    If the steering axis inclination is not within the specified value, after the camber and caster have been correctly adjusted, recheck the steering knuckle and front wheel for bearing or looseness.

  4. ADJUST CAMBER AND CASTER 
    1. Loosen the front and/or rear adjusting cam set bolts.
    2. Adjust the camber and caster by front and/or rear adjusting cams (See adjustment chart).
      NOTE: Try to adjust the camber and caster to the center of the specified values.
      Fig 5: Adjusting Camber & Caster
      G02927605Courtesy of © TOYOTA, LICENSE AGREEMENT TMS1002
    3. How to read adjustment chart (Example).
      1. Find the applicable wheel alignment standard value for the particular model.
      2. Mark the selected standard value on the adjustment chart.
        1. Example: 
        2. Camber: 0°08' (0.13°) 
        3. Caster: 2°59' (2.98°) 
      3. Measure the present wheel alignment value with the vehicle in non-loaded condition.
      4. Mark the measured present value on the adjustment chart.
        1. Example: 
        2. Camber: 0°20' (0.33°) 
        3. Caster: 2°59' (2.98°) 
      5. As shown in the example chart, read the distance from the measured value to the standard value, and adjust the front and/or rear adjusting cams accordingly.
      1. Amount to turn adjusting cams (by graduation): 
      2. Example: 
      3. Front cam: 1.4 (+ direction) 
      4. Rear cam: 1.3 (+ direction) 
      Fig 6: Alignment Adjustment Chart
      G02927606Courtesy of © TOYOTA, LICENSE AGREEMENT TMS1002
      Fig 7: Identifying Front Cam & Rear Cam Adjusting Direction
      G02927607Courtesy of © TOYOTA, LICENSE AGREEMENT TMS1002
      Fig 8: Alignment Adjustment Chart
      G02927608Courtesy of © TOYOTA, LICENSE AGREEMENT TMS1002
    4. Torque the front and/or rear adjusting cam set bolts.
    1. Torque: 130 N.m (1,325 kgf.cm, 96 ft.lbf) 
  5. INSPECT TOE-IN 

    Toe-in (total): 

    Fig 9: Inspecting Toe-In
    G02927609Courtesy of © TOYOTA, LICENSE AGREEMENT TMS1002
    Fig 10: Toe-In Specification Table
    G02927610Courtesy of © TOYOTA, LICENSE AGREEMENT TMS1002

    If the toe-in is not within the specified value, adjust the rack ends.

  6. ADJUST TOE-IN AND WHEEL ANGLE 
    1. Remove the 2 clips.
    2. Loosen the tie rod end lock nuts.
    3. Turn the right and left rack ends by an equal amount to adjust the toe-in.
      NOTE: Try to adjust the toe-in to the center of the specified value.
      Fig 11: Locating Tie Rod End Lock Nuts
      G02927611Courtesy of © TOYOTA, LICENSE AGREEMENT TMS1002
    4. Make sure that the lengths of the right and left rack ends are the same.
      1. Rack end length difference: 1.5 mm (0.059 in.) or less 
    5. Tighten the tie rod end lock nuts.
      1. Torque: 55 N.m (560 kgf.cm, 41 ft.lbf) 
    6. Place the boots on the seats and install the clips.
      NOTE: Make sure that the boots are not twisted.
      Fig 12: Identifying Rack End Length Difference
      G02927612Courtesy of © TOYOTA, LICENSE AGREEMENT TMS1002
    7. Inspect the wheel angle.

      Turn the steering wheel fully and measure the turning angle.

      Fig 13: Inspecting Wheel Angle
      G02927613Courtesy of © TOYOTA, LICENSE AGREEMENT TMS1002

    Wheel turning angle: 

    NOTE: Vehicle Model code information in the following chart is available in the MODEL CODE IDENTIFICATION article.
    WHEEL TURNING ANGLE

    Model Inside wheel Outside wheel: Reference
    UCK35L-GKSSKA 34°01' - 37°01' (34.01° - 37.01°) 32°08' (32.13°)
    UCK35L-GKSLKA 33°58' - 36°58' (33.96° - 36°96) 32°05' (32.09°)
    UCK45L-GKSSKA 34°12' - 37°12' (34.20° - 37.20°) 32°17' (32.28°)
    UCK45L-GKSLKA 34°10' - 37°10' (34.17° - 37.17°) 32°16' (32.26°)

    If the right and left wheel turning angles differ from the specified value, readjust the toe-in and wheel angle within the specified value. At this time, make sure that the lengths of the right and left rack ends are the same.

    1. Rack end length difference: 1.5 mm (0.059 in.) or less