lemon-mirror:
Home >> Toyota >> 2004 >> Sienna CE >> Repair and Diagnosis >> General Information >> Identification >> Introduction >> Repair Instruction >> Precaution

Repair Instruction: Precaution

  1. BASIC REPAIR HINT 
    1. HINTS ON OPERATIONS
      Fig 1: Basic Repair Hints
      G02932818Courtesy of © TOYOTA, LICENSE AGREEMENT TMS1002
      Fig 2: Basic Repair Hints Table
      G02932819Courtesy of © TOYOTA, LICENSE AGREEMENT TMS1002
    2. JACKING UP AND SUPPORTING VEHICLE
      1. Care must be taken when jacking up and supporting the vehicle. Be sure to lift and support the vehicle at the proper locations (See VEHICLE LIFT AND SUPPORT LOCATIONS ).
    3. PRECOATED PARTS
      1. Precoated parts such as bolts, nuts, etc., are coated with a seal lock adhesive at the factory.
      2. If a precoated part is retightened, loosened or caused to move in any way, it must be recoated with the specified adhesive.
      3. When reusing precoated parts, clean off the old adhesive and dry the part with compressed air. Then apply the specified seal lock adhesive to the bolt, nut or threads.
        NOTE: Check the torque with the lower limit value of the torque tolerance.
      4. Depending on the seal lock agent to be applied, there may be cases where it is necessary to leave it for a specified time until it hardens.
        Fig 3: Applying Seal Lock Adhesive To Fasteners (Example)
        G02932820Courtesy of © TOYOTA, LICENSE AGREEMENT TMS1002
    4. GASKETS
      1. When necessary, use a sealer on gaskets to prevent leaks.
    5. BOLTS, NUTS AND SCREWS
      1. Carefully follow all the specifications for tightening torques. Always use a torque wrench.
    6. FUSES
      1. When replacing fuses, be sure that a new fuse has the correct amperage rating. DO NOT exceed the rating, or use one with a lower rating.
        Fig 4: Identifying Medium & High Current Fuse
        G02932821Courtesy of © TOYOTA, LICENSE AGREEMENT TMS1002
        Fig 5: Fuse Description Chart
        G02932822Courtesy of © TOYOTA, LICENSE AGREEMENT TMS1002
    7. CLIPS
      1. The removal and installation methods of typical clips used in body parts are shown in the table below.
        NOTE: If the clip is damaged during a procedure, always replace it with a new clip.
        Fig 6: Identifying Clip Removal & Installation (1 Of 2)
        G02932823Courtesy of © TOYOTA, LICENSE AGREEMENT TMS1002
        Fig 7: Identifying Clip Removal & Installation (2 Of 2)
        G02932824Courtesy of © TOYOTA, LICENSE AGREEMENT TMS1002
    8. REMOVAL AND INSTALLATION OF VACUUM HOSES
      1. To disconnect vacuum hoses, pull them by holding the end, not the middle of the hose.
        Fig 8: Identifying Correct Way Of Disconnecting Vacuum Hoses
        G02932825Courtesy of © TOYOTA, LICENSE AGREEMENT TMS1002
      2. When disconnecting vacuum hoses, use tags to identify where they should be reconnected.
      3. After completing the job, double check that the vacuum hoses are properly connected. The label under the hood shows the proper layout.
      4. When using a vacuum gauge, never force the hose onto a connector that is too large. Use a step-down adapter for adjustment. Once the hose has been stretched, it may leak air.
        Fig 9: Tagging Vacuum Line Hoses
        G02932826Courtesy of © TOYOTA, LICENSE AGREEMENT TMS1002
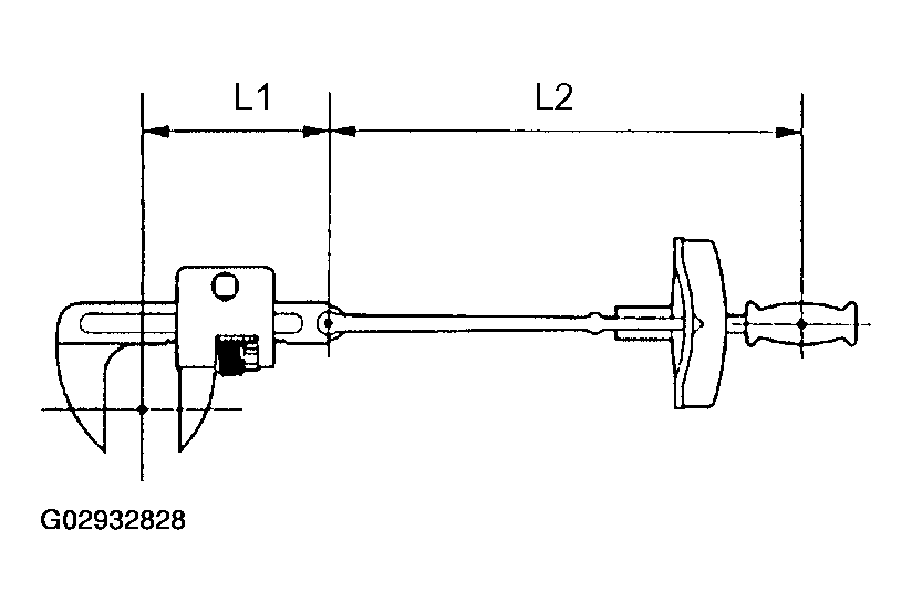
    9. TORQUE WHEN USING TORQUE WRENCH WITH EXTENSION TOOL
      1. When the torque wrench is combined with SST or an extension tool to extend the length, and you tighten until the torque wrench reads the specified torque value, the actual torque becomes excessive.
      2. In this article, only the specified torque is described. In case of using SST or extension tool, calculate the reading of the torque wrench by the following formula.
      3. Formula T'=T x L2/(L1 + L2)
        TORQUE WRENCH READING REFERENCE

        T Reading of torque wrench {N.m (kgf.cm, ft.lbf)}
        T Torque {N.m (kgf.cm, ft.lbf)}
        L1 Length of SST or extension tool (cm)
        L2 Length of torque wrench (cm)
        Fig 10: Identifying Torque Wrench Length & Extension Tool Length (1 Of 2)
        G02932827Courtesy of © TOYOTA, LICENSE AGREEMENT TMS1002
        Fig 11: Identifying Torque Wrench Length & Extension Tool Length (2 Of 2)
        G02932828Courtesy of © TOYOTA, LICENSE AGREEMENT TMS1002
  2. FOR VEHICLES EQUIPPED WITH SRS AIRBAG AND SEAT BELT PRETENSIONER 
    NOTE: The SIENNA is equipped with an SRS (Supplemental Restraint System), which includes the driver airbag, front passenger airbag, side airbag, curtain shield airbag and seat belt pretensioner.

    Failure to carry out the service operations in the correct sequence could cause the supplemental restraint system to unexpectedly deploy while servicing. This could cause a serious accident.

    Furthermore, if a mistake is made when servicing the supplemental restraint system, it is possible that the SRS will fail to operate when required. Before servicing (including removal or installation of parts, inspection or replacement), be sure to read the following items carefully. Then follow the correct procedures described.

    1. GENERAL NOTICE
      1. Malfunction symptoms of the supplemental restraint system are difficult to confirm so the diagnostic trouble codes become the most important source of information when troubleshooting. When troubleshooting the supplemental restraint system, always check the diagnostic trouble codes before disconnecting the battery (See AIR BAG SAFETY PRECAUTIONS ).
      2. Work must be started after 90 seconds from the time that the ignition switch is turned to the LOCK position and the negative (-) terminal cable is disconnected from the battery.

        (The supplemental restraint system is equipped with a back-up power source. So, if work is started within 90 seconds after disconnecting the negative (-) terminal cable from the battery, the SRS may deploy).

        When the negative (-) terminal cable is disconnected from the battery, memory of the clock and audio systems is cancelled. So, before starting work, make a record of the contents recorded in each memory system. Then, when work is finished, reset the clock and audio systems as before.

      3. Even in the case of a minor collision where the SRS does not deploy, the horn button assembly (See DISPOSAL PROCEDURES ), instrument panel passenger airbag assembly (See DISPOSAL PROCEDURES ), front seat airbag assembly (See DISPOSAL PROCEDURES ), curtain shield airbag assembly (See DISPOSAL PROCEDURES ) and seat belt pretensioner (See DISPOSAL PROCEDURES ) should be inspected.
      4. Never use the SRS related parts from another vehicle. When replacing the parts, replace them with new parts.
      5. Before repairs, remove the airbag sensor if there is a possibility of shock during repairs.
      6. Never disassemble and repair the airbag sensor assembly, horn button assembly, instrument panel passenger airbag assembly, front seat airbag assembly, curtain shield airbag assembly or seat belt pretensioner.
      7. If the airbag sensor assembly, the side airbag sensor assembly, the horn button assembly, the instrument panel passenger airbag assembly, the front seat airbag assembly or the curtain shield airbag assembly have been dropped, or if there are cracks, dents or other defects in the case, bracket or connector, replace them with new ones.
      8. Do not directly expose the airbag sensor assembly, the side airbag sensor assembly, the horn button assembly, the instrument panel passenger airbag assembly, the front seat airbag assembly, the curtain shield airbag assembly or the seat belt pretensioner to hot air or flames.
      9. Use a volt/ohmmeter with high impedance (10 kΩ/V minimum) for troubleshooting electrical circuits.
      10. Information labels are attached to the SRS components. Follow the instructions on the notices.
      11. After work on the supplemental restraint system is completed, check the SRS warning light (See AIR BAG SAFETY PRECAUTIONS ).
    2. SPIRAL CABLE (in Combination Switch)
      1. The steering wheel must be fitted correctly to the steering column with the spiral cable at the neutral position, otherwise cable disconnection and other troubles may occur. Refer to SPIRAL CABLE concerning the correct installation of the steering wheel.
        Fig 12: Locating Matchmarks On Spiral Cable
        G02932829Courtesy of © TOYOTA, LICENSE AGREEMENT TMS1002
    3. HORN BUTTON ASSEMBLY (with Airbag)
      1. When removing the horn button assembly or handling a new horn button, it should be placed with the top of the pad surface facing upward. Placing it with the pad surface facing downward may lead to a serious accident if the airbag deploys for some reasons. Also, do not place anything on the top of the horn button.
      2. Never measure the resistance of the airbag squib (This may cause the airbag to inflate, which is very dangerous).
      3. Grease should not be applied to the horn button assembly and the pad should not be cleaned with any type of detergent.
      4. Store the horn button assembly where the ambient temperature remains below 93°C (200°F), without high humidity and away from electrical noise.
      5. When using electric welding, disconnect the airbag connector (4 yellow pins) under the steering column near the combination switch connector before starting work.
      6. When disposing of the vehicle or the horn button assembly unit, the airbag should be deployed using SST before disposal (See DISPOSAL PROCEDURES ).

        Activate in a safe place away from electrical noise.

        Fig 13: Correct Way Of Placing Horn Button Assembly
        G02932830Courtesy of © TOYOTA, LICENSE AGREEMENT TMS1002
        Fig 14: Wrong Way of Checking SRS Components
        G02932831Courtesy of © TOYOTA, LICENSE AGREEMENT TMS1002
    4. INSTRUMENT PANEL PASSENGER AIRBAG ASSEMBLY
      1. Always place a removed or new instrument panel passenger airbag assembly with the airbag inflation direction facing upward. Placing the airbag assembly with the airbag inflation direction facing downward could cause a serious accident if the airbag deploys.
      2. Never measure the resistance of the airbag squib (This may cause the airbag to inflate, which is very dangerous).
      3. Grease should not be applied to the instrument panel passenger airbag assembly and the airbag door should not be cleaned with detergents of any kind.
      4. Store the airbag assembly where the ambient temperature remains below 93°C (200°F), without high humidity and away from electrical noise.
      5. When using electric welding, disconnect the airbag connector (4 yellow pins) installed on the assembly before starting work.
      6. When disposing of a vehicle or the airbag assembly unit, the airbag should be deployed using SST before disposal (See DISPOSAL PROCEDURES ).

        Activate in a safe place away from electrical noise.

        Fig 15: Correct Way Of Placing Instrument Panel Passenger Airbag Assembly
        G02932832Courtesy of © TOYOTA, LICENSE AGREEMENT TMS1002
        Fig 16: Wrong Way Of Checking SRS Components
        G02932833Courtesy of © TOYOTA, LICENSE AGREEMENT TMS1002
    5. FRONT SEAT AIRBAG ASSEMBLY
      1. Always place a removed or new front seat airbag assembly with the airbag inflation direction facing upward. Placing the airbag assembly with the airbag inflation direction facing downward could cause a serious accident if the airbag deploys.
      2. Never measure the resistance of the airbag squib (This may cause the airbag to inflate, which is very dangerous).
      3. Grease should not be applied to the front seat airbag assembly, and the airbag door should not be cleaned with detergents of any kind.
      4. Store the airbag assembly where the ambient temperature remains below 93°C (200°F), without high humidity and away from electrical noise.
      5. When using electric welding, disconnect the airbag connector (2 yellow pins) installed on the assembly before starting work.
      6. When disposing of a vehicle or the airbag assembly unit, the airbag should be deployed using SST before disposal (See DISPOSAL PROCEDURES ).

        Activate in a safe place away from electrical noise.

        Fig 17: Wrong Way Of Checking SRS Components
        G02932834Courtesy of © TOYOTA, LICENSE AGREEMENT TMS1002
    6. CURTAIN SHIELD AIRBAG ASSEMBLY
      1. Always place the removed or new curtain shield airbag assembly in a clear plastic bag, and keep it in a safe place.
        NOTE: Protective bag is not reusable.
        CAUTION: Never disassemble the curtain shield airbag assembly.
      2. Never measure the resistance of the airbag squib (This may cause the airbag to inflate, which is very dangerous).
      3. Grease should not be attached to the curtain shield airbag assembly, and the surface should not be cleared with detergents of any kind.
      4. Store the airbag assembly where the ambient temperature remains below 93°C (200°F), without high humidity and away from electrical noise.
      5. When using electric welding, disconnect the airbag connector (2 yellow pins) into the instrument panel before starting work.
      6. When disposing of a vehicle or the curtain shield airbag assembly unit, the airbag should be deployed using SST before disposal (See DISPOSAL PROCEDURES ).

        Activate in a safe place away from electrical noise.

        Fig 18: Storing Curtain Shield Airbag Assembly In A Clear Plastic Bag
        G02932835Courtesy of © TOYOTA, LICENSE AGREEMENT TMS1002
        Fig 19: Wrong Way Of Checking SRS Components
        G02932836Courtesy of © TOYOTA, LICENSE AGREEMENT TMS1002
    7. SEAT BELT PRETENSIONER
      1. Never measure the resistance of the seat belt pretensioner (This may cause the seat belt pretensioner to activate, which is very dangerous).
      2. Never disassemble the seat belt pretensioner.
      3. Never install the seat belt pretensioner on another vehicle.
      4. Store the seat belt pretensioner where the ambient temperature remains below 80°C (176°F) without high humidity and away from electrical noise.
      5. When using electric welding, disconnect the connector (2 yellow pins) before starting work.
      6. When disposing of a vehicle or the seat belt pretensioner unit, the seat belt pretensioner should be activated before disposal (See DISPOSAL PROCEDURES ). Perform the operation in a safe place away from electrical noise.
      7. The seat belt pretensioner is hot after being activated so allow some time for it to cool down sufficiently before disposal. Never apply water to cool down the seat belt pretensioner.
      8. Oil or water should not be put on the front seat outer belt and the front seat outer belt should not be cleaned with detergents of any kind.
        Fig 20: Wrong Way Of Checking Seat Belt Pretensioner
        G02932837Courtesy of © TOYOTA, LICENSE AGREEMENT TMS1002
    8. AIRBAG SENSOR ASSEMBLY
      1. Never reuse an airbag sensor assembly involved in a collision where the SRS has deployed.
      2. The connectors to the airbag sensor assembly should be connected or disconnected with the sensor mounted on the floor. If the connectors are connected or disconnected while the airbag sensor assembly is not mounted to the floor, it could cause the supplemental restraint system to deploy potentially resulting in injury.
      3. Work must be started after 90 seconds from the time that the ignition switch is turned to the LOCK position and the negative (-) terminal cable is disconnected from the battery, even if only loosening the set bolts of the airbag sensor assembly.
    9. WIRE HARNESS AND CONNECTOR
      1. The SRS wire harness is integrated with the instrument panel wire harness assembly. All the connectors in the system are a standard yellow color. If the SRS wire harness becomes disconnected or the connector becomes broken due to an accident, etc., repair or replace it.
  3. ELECTRONIC CONTROL 
    1. REMOVAL AND INSTALLATION OF BATTERY TERMINAL
      1. Before performing electronic work, disconnect the battery negative (-) terminal cable beforehand in order to prevent it from shorting and burning out.
      2. When disconnecting and installing the terminal cable, turn the ignition switch and lighting switch OFF and loosen the terminal nut completely. Perform these operations without twisting or prying the terminal.
      3. When the battery terminal cable is removed, the memories of the clock, radio, DTCs, etc. are erased. So before removing it, check them and make a note.
      4. When the battery negative (-) terminal cable is disconnected, memories of various systems are erased. Therefore, refer to the PRE-CHECK for each system to make sure whether or not the system needs to be initialized after the battery negative (-) terminal cable is disconnected. If necessary, be sure to initialize the system.
        Fig 21: Removing Negative Battery Terminal
        G02932838Courtesy of © TOYOTA, LICENSE AGREEMENT TMS1002
    2. HANDLING OF ELECTRONIC PARTS
      1. Do not open the cover or case of the ECU unless absolutely necessary (If the IC terminals are touched, the IC may be rendered inoperative by static electricity).
      2. To disconnect electronic connectors, pull the connector itself, not the wires.
      3. Be careful not to drop electronic components, such as sensors or relays. If they are dropped on a hard floor, they should be replaced and not be reused.
      4. When cleaning the engine with steam, protect the electronic components, air filter and emission-related components from water.
      5. Never use an impact wrench to remove or install temperature switches or temperature sensors.
      6. When checking the continuity at the wire connector, insert the tester probe carefully to prevent terminals from bending.
        Fig 22: Use Care While Handling Sensitive Parts
        G02932839Courtesy of © TOYOTA, LICENSE AGREEMENT TMS1002
  4. REMOVAL AND INSTALLATION OF FUEL CONTROL PARTS 
    1. PLACE FOR REMOVING AND INSTALLING OF FUEL SYSTEM PARTS
      1. Work in a place with good air ventilation and without anything that could cause combustion around you such as a welder, grinder, drill, electric motor or stove.
      2. Never work in a place such as a pit or nearby a pit, as there is a possibility that vaporized fuel will collect in those places.
    2. REMOVING AND INSTALLING OF FUEL SYSTEM PARTS
      1. Prepare a fire extinguisher before starting operation.
      2. To prevent static electricity, install a ground on the fuel changer, vehicle and fuel tank, and do not spray much water so as to prevent slipping.
      3. Never use any electric equipment like an electric motor or a working light, as they may create sparks or a high temperature.
      4. Never use an iron hammer, as it may create sparks.
      5. Dispose of shop rags containing fuel deposits separately.
  5. REMOVAL AND INSTALLATION OF ENGINE INTAKE PARTS 
    1. If any metal particle enters the inlet pass, it may have a bad effect on the engine and turbocharger.
    2. When removing and installing the inlet system parts, close the opening of the removed inlet system parts and the engine with a clean shop rag or gum tape.
    3. When installing the inlet system parts, check that no metal particles have entered.
      Fig 23: Covering Opening Of Engine Intake Part
      G02932840Courtesy of © TOYOTA, LICENSE AGREEMENT TMS1002
  6. HANDLING OF HOSE CLAMPS 
    1. Before removing the hose, check the clamp position to ensure that it can be restored securely.
    2. Replace a deformed or dented clamp with a new one.
    3. When reusing a hose, attach the clamp on the clamp track portion of the hose.
    4. For a spring type clamp, make an adjustment after installation by pushing in the direction of the arrow mark.
      Fig 24: Identifying Clamp Track & Spring Type Clamp
      G02932841Courtesy of © TOYOTA, LICENSE AGREEMENT TMS1002
  7. FOR VEHICLES EQUIPPED WITH MOBILE COMMUNICATION SYSTEMS 
    1. Install the antenna as far away from the ECU and sensors of the vehicle electronic systems as possible.
    2. Install an antenna feeder at least 20 cm (7.87 in.) away from the ECU and sensors of the vehicle electronic systems. For details of the ECU and sensors locations, refer to the section on applicable components.
    3. Prevent the antenna feeder from getting entangled with the other wiring, and keep the antenna feeder separate from other wiring as much as possible.
    4. Check that the antenna and feeder are correctly adjusted.
    5. Do not install any high-powered mobile communication systems.
      Fig 25: Identifying Mobile Communication Systems
      G02932842Courtesy of © TOYOTA, LICENSE AGREEMENT TMS1002
  8. WHEN SERVICING FULL-TIME 4WD VEHICLES 

    The full-time 4WD SIENNA is equipped with the open center differential system.

    If incorrect preparations or test procedures are used, the test will not only be unsuccessful, but may be dangerous as well.

    Therefore, before beginning any such servicing or test, be sure to check the following items:

    • Whether wheels should be touching ground or jacked up 
    • Transaxle gear position 
    • Maximum testing vehicle speed 
    • Maximum testing time 
    CAUTION:
    • Never accelerate or decelerate the vehicle suddenly
    • Observe the other cautions given for each individual test
    1. Before Beginning Test

      This vehicle does not have a center diff. lock mode or 4WD (Normal) Mode to allow only the front or rear wheel to be rotated.

      The test method for this vehicle is different from that for vehicles equipped with the center diff. lock mode or 4WD (Normal) Mode, so make sure to use the correct test method.

    2. Braking Force Test

      (Vehicle Speed: Below 0.5 km/h or 0.3 mph)

      When performing low-speed type brake tester measurements, observe the following instructions.

      1. Position the wheels to be tested (front or rear) on the tester.
      2. Shift the transaxle shift lever to "N" position.
      3. Idle the engine, operate the brake booster and perform the test.
        Fig 26: Positioning Car Wheels On Tester
        G02932843Courtesy of © TOYOTA, LICENSE AGREEMENT TMS1002
    3. Speedometer Test or Other Tests

      (Using Speedometer Tester or Chassis Dynamometer)

      When performing test at high speed or high load, use the methods shown below.

      Fig 27: Chassis Dynamometer Test Chart
      G02932844Courtesy of © TOYOTA, LICENSE AGREEMENT TMS1002
      NOTE:
      • Confirm that the vehicle is securely immobilized.
      • Never operate the brakes to drive the wheels or stop them suddenly.
    4. On-Vehicle Wheel Balancing

      When doing on-vehicle wheel balancing on a full-time 4WD vehicle, to prevent the wheels from rotating at different speeds in different directions from each other (which could damage the center differential), always be sure to observe the following precautions:

      1. All 4 wheels should be jacked up, clearing the ground completely.
      2. The parking brake lever should be fully released.
      3. None of the brakes should be allowed to drag.
      4. The wheels should be driven on the wheel balancer with the engine running.
        NOTE: When doing this, be careful of the other wheels, which will rotate at the same time.
      5. Avoid sudden acceleration, deceleration and braking.
      6. Carry out wheel balancing with the transaxle in D position.
        Fig 28: Performing On Vehicle Wheel Balancing
        G02932845Courtesy of © TOYOTA, LICENSE AGREEMENT TMS1002
  9. FOR VEHICLES EQUIPPED WITH TRACTION CONTROL (TRAC) SYSTEM 

    When using a 2-wheel drum tester such as a speedometer tester or chassis dynamometer, etc., or jacking up the front wheels and driving the wheels, always push in the TRAC cut ("TRAC OFF") switch and turn the TRAC system OFF.

    1. Confirm TRAC system is OFF
      1. Press the TRAC cut ("TRAC OFF") switch.
      2. Check that the TRAC OFF indicator light comes on when the TRAC system is turned OFF by the TRAC cut switch.
        NOTE: The SLIP indicator light should always operate right after the engine is restarted.
      3. Begin measurements.
        Fig 29: Locating TRAC Cut Switch & TRAC OFF Indicator Light
        G02932846Courtesy of © TOYOTA, LICENSE AGREEMENT TMS1002
      4. Press the TRAC cut switch to turn the TRAC to the operative mode and check that the TRAC OFF indicator light goes off.
        NOTE: The SLIP indicator light blinks when the TRAC system in operating.
        Fig 30: Identifying SLIP Indicator Light
        G02932847Courtesy of © TOYOTA, LICENSE AGREEMENT TMS1002
  10. FOR VEHICLES EQUIPPED WITH VEHICLE STABILITY CONTROL (VSC) SYSTEM 
    1. Notices when using dram tester
      1. When using a drum tester, be sure to start the engine with the ignition switch OFF, and connect SST to the terminals TS and CG of the DLC3 before the measurement in order to cancel the VSC operation.
        Fig 31: Identifying TS & CG Terminals Of DLC3 Connector
        G02932848Courtesy of © TOYOTA, LICENSE AGREEMENT TMS1002

        SST 09843-18040

        NOTE:
        • Confirm that the VSC warning light blinks.
        • The VSC system is reset when the engine is restarted.
        • Fasten the vehicle with lock chains.
    2. Notice of related operations to VSC
      1. Do not carry out unnecessary installation and removal as it might disorder the adjustment of the parts related to the VSC.
      2. Be sure to carry out the preparation for operation and the confirmation of operation completion in accordance with the instructions of the text and when the operations related to the VSC are performed.
  11. WHEN TOWING FULL-TIME 4WD VEHICLES 
    • Use one of the methods shown below to tow the vehicle.
    • If the vehicle has trouble with the chassis or drive train, use method 1 (flat bed truck).
      Fig 32: Towing Full Time 4WD Vehicle Chart (Correct Way)
      G02932849Courtesy of © TOYOTA, LICENSE AGREEMENT TMS1002
      NOTE: Do not use any towing method other than those shown above.
    • The towing methods shown below are dangerous and can damage the vehicle, so do not use them.
      Fig 33: Towing Full Time 4WD Vehicle Chart (Wrong Way)
      G02932850Courtesy of © TOYOTA, LICENSE AGREEMENT TMS1002
  12. FOR VEHICLES EQUIPPED WITH CATALYTIC CONVERTER 
    CAUTION: If a large amount of unburned gasoline flows into the converter, it may cause overheating and is a fire hazard. To prevent this, observe the following precautions.
    1. Use only unleaded gasoline.
    2. Avoid prolonged idling.

      Avoid idling the engine for more than 20 minutes.

    3. Avoid a spark jump test.
      1. Perform a spark jump test only when absolutely necessary. Perform this test as rapidly as possible.
      2. While testing, never race the engine.
    4. Avoid a prolonged engine compression measurement.

      Engine compression measurements must be performed as rapidly as possible.

    5. Do not run the engine when the fuel tank is nearly empty. This may cause the engine to misfire and create an extra load on the converter.