lemon-mirror:
Home >> Toyota >> 2004 >> Tundra Base, Automatic >> Repair and Diagnosis >> Suspension >> Wheel Alignment >> Front Wheel Alignment >> Inspection

Front Wheel Alignment: Inspection

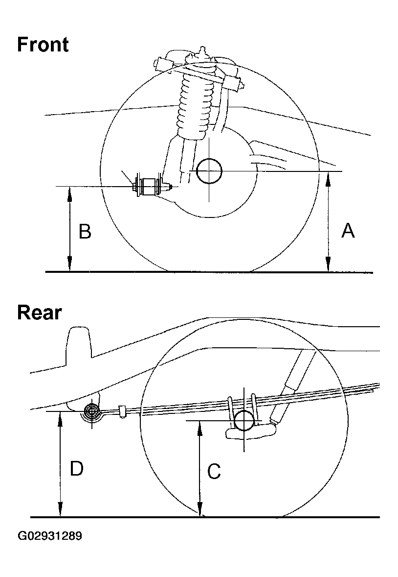
  1. MEASURE VEHICLE HEIGHT (See  SUSPENSION & AXLE SPECIFICATIONS  ) 

    Measuring points:

    A: Ground clearance of the front drive shaft center

    B: Ground clearance of the front adjusting cam bolt center

    C: Ground clearance of the rear axle shaft center

    D: Ground clearance of the leaf spring front side bushing center

    Vehicle height:

    Front: A - B

    Rear: C - D

    NOTE: Before inspecting the wheel alignment, adjust the vehicle height to the specified value.

    If the vehicle height is not the specified value, try to adjust it by pushing down on or lifting the body.

    Fig 1: Measuring Vehicle Height From Front & Rear
    G02931289Courtesy of © TOYOTA, LICENSE AGREEMENT TMS1002
  2. INSTALL CAMBER-CASTER-KINGPIN GAUGE OR POSITION VEHICLE ON WHEEL ALIGNMENT TESTER 

    Follow the specific instructions of the equipment manufacturer.

  3. INSPECT CAMBER, CASTER AND STEERING AXIS INCLINATION (See  SUSPENSION & AXLE SPECIFICATIONS  ) 

    If the steering axis inclination is not within the specified value, after the camber and caster have been correctly adjusted, re-check the steering knuckle and front wheel for bearing or looseness.

    Fig 2: Inspecting Camber Caster & Steering Axis Inclination
    G02931290Courtesy of © TOYOTA, LICENSE AGREEMENT TMS1002
  4. ADJUST CAMBER AND CASTER 
    1. Loosen the front and/or rear adjusting cam set bolts.
    2. Adjust the camber and caster by front and/or rear adjusting cams (See adjustment chart).

      HINT: Try to adjust the camber and caster to the center of the specified values.

      Fig 3: Loosening Front/Rear Adjusting Cam Set Bolts
      G02931291Courtesy of © TOYOTA, LICENSE AGREEMENT TMS1002
    3. How to read adjustment chart (Example).
      1. Find the applicable wheel alignment standard value for the particular model.
      2. Mark the selected standard value on the adjustment chart.

        Example: 

        Camber: 0°10' (0.17°) 

        Caster: 3°00' 

      3. Measure the present wheel alignment value with the vehicle in non-loaded condition.
      4. Mark the measured present value on the adjustment chart.

        Example: 

        Camber: 0°30' (0.50°) 

        Caster: 2°40' (2.67°) 

      5. As shown in the example chart, read the distance from the measured value to the standard value, and adjust the front and/or rear adjusting cams accordingly.

        Amount to turn adjusting cams (by graduation): 

        Example: 

        Front cam: 1.3 (+) Direction 

        Rear cam: 3.3 (+) Direction 

        Fig 4: Camber & Caster Adjustment Chart
        G02931292Courtesy of © TOYOTA, LICENSE AGREEMENT TMS1002
        Fig 5: Adjusting Front & Rear Cams
        G02931293Courtesy of © TOYOTA, LICENSE AGREEMENT TMS1002
        Fig 6: Front & Rear Cam Graduation Chart
        G02931294Courtesy of © TOYOTA, LICENSE AGREEMENT TMS1002
      6. Torque the front and/or rear adjusting cam set bolts.

        Torque: 130 N.m (1,325 kgf.cm, 96 ft.lbf) 

    4. INSPECT TOE-IN (See  SUSPENSION & AXLE SPECIFICATIONS  ) 

      If the toe-in is not within the specified value, adjust the rack ends.

    5. ADJUST TOE-IN AND WHEEL ANGLE 
      1. Remove the 2 clips.
        Fig 7: Inspecting Toe-in
        G02931295Courtesy of © TOYOTA, LICENSE AGREEMENT TMS1002
      2. Loosen the tie rod end lock nuts.
      3. Turn the right and left rack ends by an equal amount to adjust the toe-in.

        HINT: Try to adjust the toe-in to the center of the specified value.

        Fig 8: Loosening Tie Rod End Lock Nuts
        G02931296Courtesy of © TOYOTA, LICENSE AGREEMENT TMS1002
      4. Make sure that the lengths of the right and left rack ends are the same.

        Rack end length difference: 1.5 mm (0.059 in.) or less 

      5. Tighten the tie rod end lock nuts.

        Torque: 55 N.m (560 kgf.cm, 41 ft.lbf) 

      6. Place the boots on the seats and install the clips.

        HINT: Make sure that the boots are not twisted.

        Fig 9: Adjusting Lengths Of Right & Left Rack Ends
        G02931297Courtesy of © TOYOTA, LICENSE AGREEMENT TMS1002
      7. Inspect the wheel angle (See SUSPENSION & AXLE SPECIFICATIONS ).

        Turn the steering wheel fully and measure the turning angle.

        Wheel turning angle: 

        If the right and left wheel turning angles differ from the specified value, readjust the toe-in and wheel angle within the specified value. At this time, make sure that the lengths of the right and left rack ends are the same.

        Rack end length difference: 1.5 mm (0.059 in.) or less 

        Fig 10: Inspecting Wheel Turning Angle
        G02931298Courtesy of © TOYOTA, LICENSE AGREEMENT TMS1002