lemon-mirror:
Home >> Toyota >> 2005 >> Avalon XLS >> Repair and Diagnosis >> Electrical >> Horns >> Communication System >> System Diagram

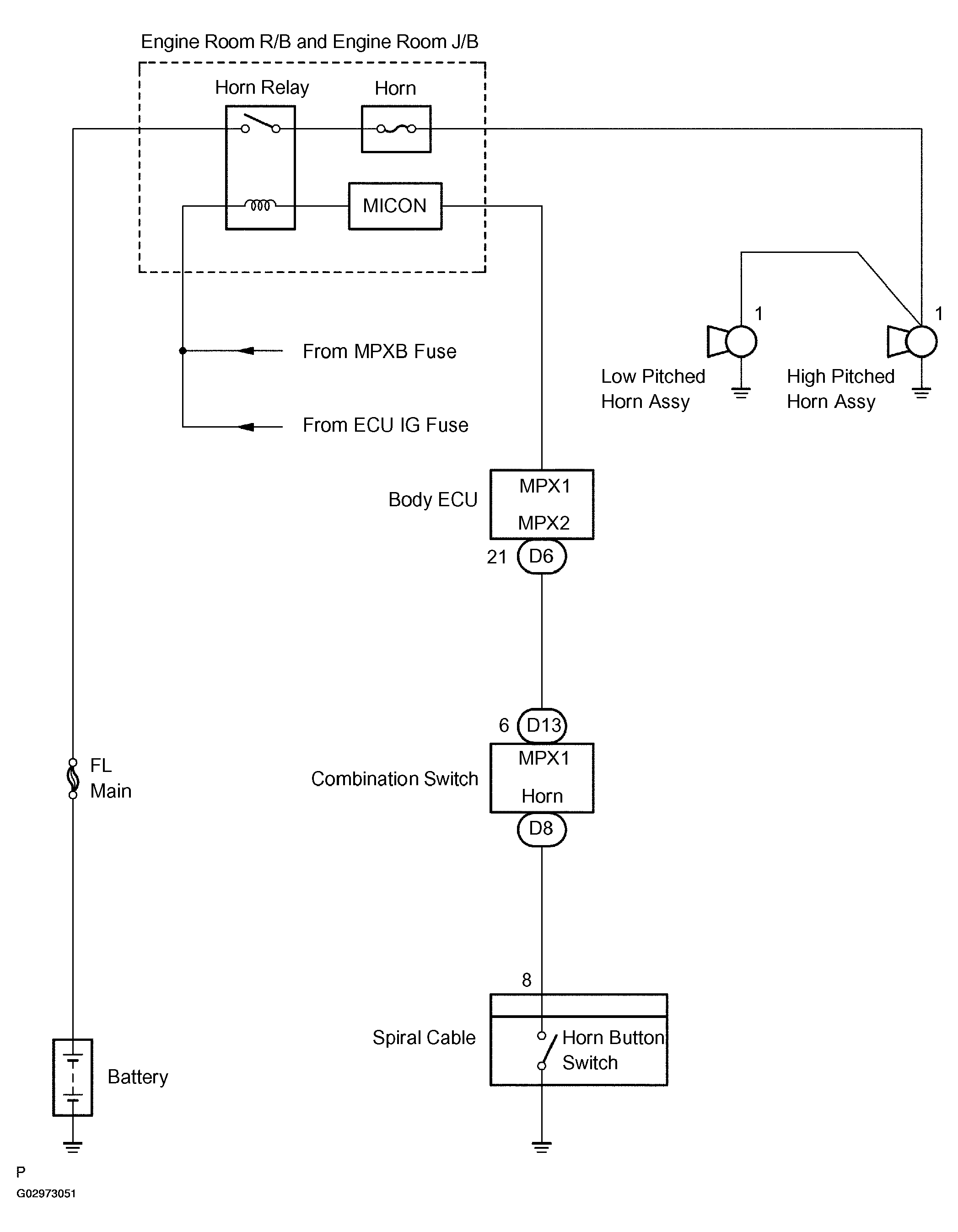
System Diagram

Fig 1: Communication System Diagram
G02973051Courtesy of © TOYOTA, LICENSE AGREEMENT TMS1002