lemon-mirror:
Home >> Toyota >> 2005 >> Avalon XLS >> Repair and Diagnosis >> Engine Performance >> Engine Control System (SFI) >> EVAP Inspection Procedure >> Inspection Procedure

Inspection Procedure

NOTE: A hand-held tester is required to conduct the following diagnostic troubleshooting procedure.

HINT:

  1. CONFIRM DTC 
    1. Turn the ignition switch off and wait for 10 seconds.
    2. Turn the ignition switch on (IG).
    3. Turn the ignition switch off and wait for 10 seconds.
    4. Connect the hand-held tester to the DLC3.
    5. Turn the ignition switch on (IG) and turn the tester on.
    6. Select the following menu items: DIAGNOSIS / ENHANCED OBD II / DTC INFO / CURRENT CODES.
    7. Confirm DTCs and freeze frame data.

    If any EVAP system DTCs are set, the malfunctioning area can be determined using the table below.

    Fig 1: DTC Malfunction Chart
    G02976314Courtesy of © TOYOTA, LICENSE AGREEMENT TMS1002
    NOTE: If the 0.02 inch reference pressure difference between the first and second checks is greater than the specification, the DTCs corresponding to the reference pressure (P043E, P043F, P0441, P0455, P0456, P2401 and P2420) will be all stored.
    1. NEXT: Go to next step. 
  2. PERFORM EVAP SYSTEM CHECK (AUTO OPERATION) 
    NOTE:
    • In the EVAP SYSTEM CHECK (AUTO OPERATION), the series of 5 EVAP SYSTEM CHECK steps is performed automatically. It takes a maximum of approximately 18 minutes.
    • Do not perform the EVAP SYSTEM CHECK when the fuel tank is more than 90 % full because the cut-off valve may be closed and making the leak check of the fuel tank unavailable.
    • Do not run the engine in this step.
    • When the temperature of the fuel is 35°C (95°F) or more, a large amount of vapor forms and any check results become inaccurate. When performing the EVAP SYSTEM CHECK, keep the temperature below 35°C (95°F).
    1. Connect the hand-held tester to the DLC3.
    2. Clear DTCs (see DTC CHECK/CLEAR  ).
    3. Select the following menu items on the tester: DIAGNOSIS / ENHANCED OBD II / SYSTEM CHECK / EVAP SYS CHECK / AUTO OPERATION.
    4. After the EVAP SYSTEM CHECK is completed, check for pending DTCs by selecting the following menu items: DIAGNOSIS / ENHANCED OBD II / DTC INFO / PENDING CODES.

    HINT:

    If no pending DTC is displayed, perform the Monitor Confirmation after this repair is completed. After this confirmation, check for pending DTCs. If no DTC is displayed, the EVAP system is normal.

    1. NEXT: Go to next step. 
  3. PERFORM EVAP SYSTEM CHECK (MANUAL OPERATION) 
    Fig 2: EVAP System Check Pattern
    G02976315Courtesy of © TOYOTA, LICENSE AGREEMENT TMS1002
    NOTE:
    • In the EVAP SYSTEM CHECK (MANUAL OPERATION), the series of 5 EVAP SYSTEM CHECK steps is performed manually.
    • Do not perform the EVAP SYSTEM CHECK when the fuel tank is more than 90 % full because the cut-off valve may be closed and making the leak check of the fuel tank unavailable.
    • Do not run the engine in this step.
    • When the temperature of the fuel is 35°C (95°F) or more, a large amount of vapor forms and any check results become inaccurate. When performing the EVAP SYSTEM CHECK, keep the temperature below 35°C (95°F).
    1. Connect the hand-held tester to the DLC3.
    2. Clear DTCs (see DTC CHECK/CLEAR  ).
    3. Select the following menu items: DIAGNOSIS / ENHANCED OBD II / SYSTEM CHECK / EVAP SYS CHECK / MANUAL OPERATION.
    1. NEXT: Go to next step. 
  4. PERFORM EVAP SYSTEM CHECK (STEP 1/5) 
    Fig 3: EVAP System Check Pattern
    G02976316Courtesy of © TOYOTA, LICENSE AGREEMENT TMS1002
    1. Check the EVAP pressure in step 1/5.

      Result: 

      TEST RESULT

      DTCs(1) Test Results Suspected Trouble Areas Proceed To
      - Virtually no variation in EVAP pressure Not yet determined A
      P0451 EVAP pressure fluctuates by +/- 0.3 kPa (2.25 mmHg) or more Pressure sensor noising B
      (1) The DTCs relating to the EVAP system displayed on the hand-held tester when checking.
    1. B: Go to step   30 . 
    2. A: Go to next step. 
  5. PERFORM EVAP SYSTEM CHECK (STEP 1/5 TO 2/5) 
    Fig 4: Identifying EVAP System Check Pattern
    G02976317Courtesy of © TOYOTA, LICENSE AGREEMENT TMS1002
    1. Check the EVAP pressure in steps 1/5 and 2/5.

      Result: 

      TEST RESULT

      DTCs(1) Test Results Suspected Trouble Areas Proceed To
      - Virtually no variation in EVAP pressure during step 1/5. Then it decreases to 0.02 inch leak pressure standard(1) Not yet determined A
      P2402 Small difference between EVAP pressures during steps 1/5 and 2/5 Vacuum pump stuck ON B
      (1) The DTCs relating to the EVAP system displayed on the hand-held tester when checking.

      HINT:

      The first 0.02 inch leak pressure standard is the value determined in step 2/5.

    1. B: Go to step   23 . 
    2. A: Go to next step. 
  6. PERFORM EVAP SYSTEM CHECK (STEP 2/5) 
    Fig 5: Identifying EVAP System Check Pattern
    G02976318Courtesy of © TOYOTA, LICENSE AGREEMENT TMS1002

    HINT:

    Make a note of the pressures checked in steps (a) and (b) below.

    1. Check the EVAP pressure 4 seconds after the vacuum pump is activated*1.
    2. Check the EVAP pressure again when it has stabilized. This pressure is the 0.02 inch leak pressure standard.

    *1: The vacuum pump begins to operate as step 1/5 is proceeded to step 2/5.

    Result: 

    Fig 6: DTC Trouble Area Chart
    G02976319Courtesy of © TOYOTA, LICENSE AGREEMENT TMS1002
    1. B: Go to step   11 . 
    2. C: Go to step   30 . 
    3. D: Go to step   19 . 
    4. A: Go to next step. 
  7. PERFORM EVAP SYSTEM CHECK (STEP 2/5 TO 3/5) 
    Fig 7: EVAP System Check Pattern
    G02976320Courtesy of © TOYOTA, LICENSE AGREEMENT TMS1002
    1. Check the EVAP pressure increase in step 3/5.

      Result: 

      TEST RESULT

      DTCs(1) Test Results Suspected Trouble Areas Proceed To
      - EVAP pressure increases by 0.3 kPa (2.25 mmHg) or more within 10 seconds of proceeding from step 2/5 to step 3/5 Not yet determined A
      P2420 No variation in EVAP pressure even after proceeding from step 2/5 to step 3/5 Vent valve stuck open (vent) B
      P0451 No variation in EVAP pressure during steps 1/5 through 3/5 Pressure sensor malfunction C
      (1) The DTCs relating to the EVAP system displayed on the hand-held tester when checking.
    1. B: Go to step   20 . 
    2. C: Go to step   30 . 
    3. A: Go to next step. 
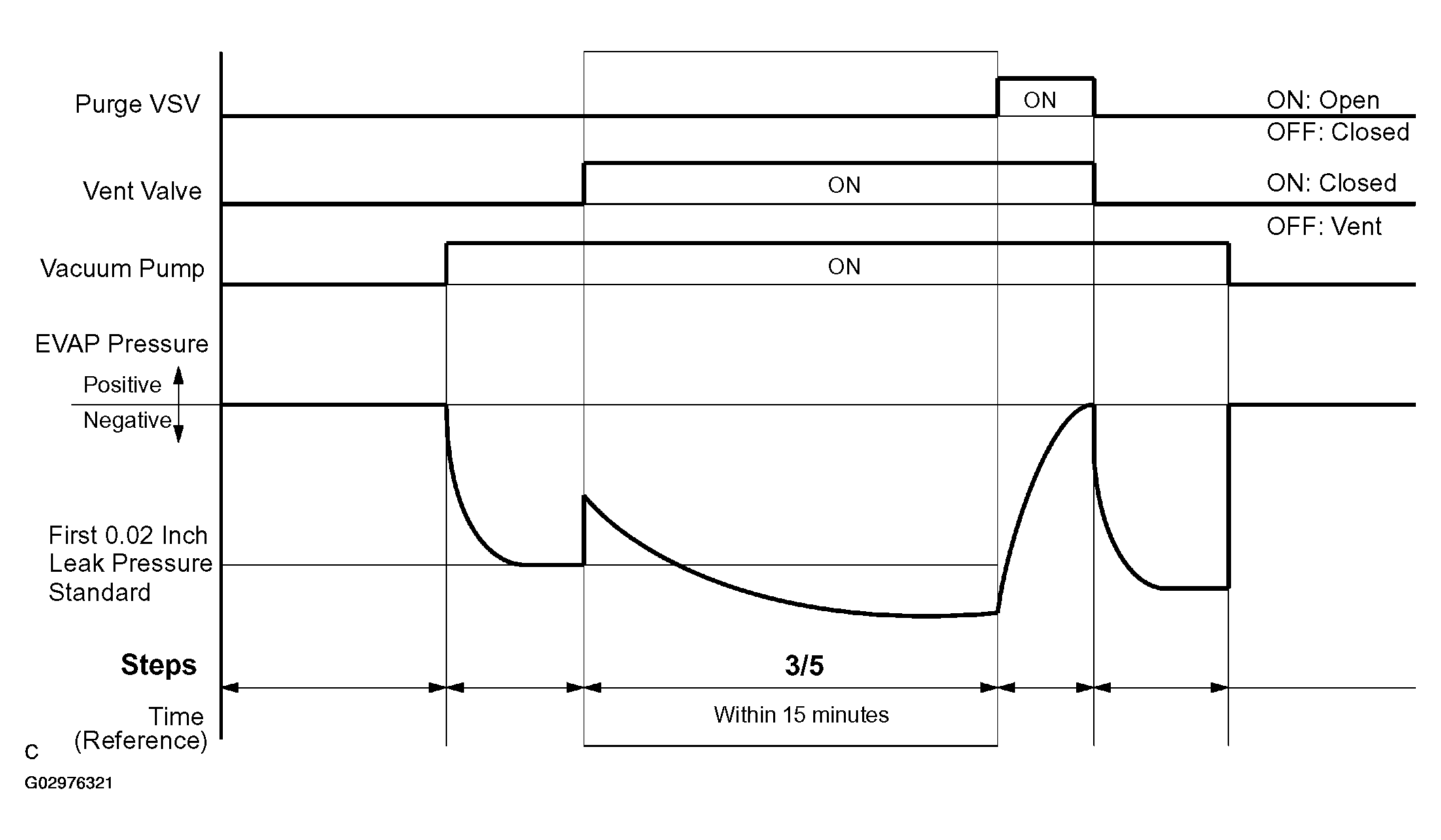
  8. PERFORM EVAP SYSTEM CHECK (STEP 3/5) 
    Fig 8: EVAP System Check Pattern (STEP 3/5)
    G02976321Courtesy of © TOYOTA, LICENSE AGREEMENT TMS1002
    1. Wait until the EVAP pressure change is less than 0.1 kPa (0.75 mmHg) for 30 seconds.
    2. Measure the EVAP pressure and record it.

    HINT:

    A few minutes are required for the EVAP pressure to become saturated. When there is little fuel in the fuel tank, it takes up to 15 minutes.

    1. NEXT: Go to next step. 
  9. PERFORM EVAP SYSTEM CHECK (STEP 4/5) 
    Fig 9: EVAP System Check Pattern (STEP 4/5)
    G02976322Courtesy of © TOYOTA, LICENSE AGREEMENT TMS1002
    1. Check the EVAP pressure in step 4/5.
      TEST RESULT

      DTCs(1) Test Results Suspected Trouble Areas Proceed To
      - EVAP pressure increases by 0.3 kPa (2.25 mmHg) or more within 10 seconds of proceeding from step 3/5 to step 4/5 Not yet determined A
      P0441 EVAP pressure increases by 0.3 kPa (2.25 mmHg) or more within 10 seconds of proceeding from step 3/5 to step 4/5 Problems in EVAP hose between pure VSV and intake manifold B
      P0441 Variation in EVAP pressure is less than 0.3 kPa (2.25 mmHg) for 10 seconds, after proceeding from step 3/5 to step 4/5 Purge VSV stuck closed C
      (1) The DTCs relating to the EVAP system displayed on the hand-held tester when checking.
    1. B: Go to step   15 . 
    2. C: Go to step   12 . 
    3. A: Go to next step. 
  10. PERFORM EVAP SYSTEM CHECK (STEP 5/5) 
    Fig 10: EVAP System Check Pattern (STEP 5/5)
    G02976323Courtesy of © TOYOTA, LICENSE AGREEMENT TMS1002
    1. Check the EVAP pressure in step 5/5.
    2. Compare the EVAP pressure in step 3/5 and the second 0.02 inch leak pressure standard (step 5/5).

      Result: 

      Fig 11: DTC Trouble Area Chart
      G02976324Courtesy of © TOYOTA, LICENSE AGREEMENT TMS1002
    1. A: Go to step   36 . 
    2. B: Go to step   12 . 
  11. PERFORM ACTIVE TEST USING HAND-HELD TESTER (STEP 3/5) 
    Fig 12: Identifying Active Test Using Hand-Held Tester Pattern
    G02976325Courtesy of © TOYOTA, LICENSE AGREEMENT TMS1002
    1. Check the EVAP pressure in step 3/5.

      Result: 

      TEST RESULT

      DTCs(1) Test Results Suspected Trouble Areas Proceed To
      P043F EVAP pressure is less than [0.02 inch leak pressure standard] measured in step 2/5 0.02 inch orifice high-flow A
      P2401 EVAP pressure is almost the same as [0.02 inch leak pressure standard] measured in step 2/5 Vacuum pump stuck OFF B
      (1) The DTCs relation to the EVAP system displayed on the hand-held tester when checking

      HINT:

      The first 0.02 inch leak pressure standard is the value determined in step 2/5.

    1. A: Go to step   30 . 
    2. B: Go to step   23 . 
  12. PERFORM ACTIVE TEST USING HAND-HELD TESTER (PURGE VSV) 
    1. Select the following menu items on the tester: DIAGNOSIS / ENHANCED OBD II/ ACTIVE TEST / EVAP VSV (ALONE).
    2. Disconnect the hose (connected to the canister) from the purge VSV.
    3. Start the engine.
    4. Using the tester, turn off the purge VSV (EVAP VSV: OFF).
    5. Confirm that the purge VSV has no suction with your fingers.
    6. Using the tester, turn on the purge VSV (EVAP VSV: ON).
    7. Confirm that the purge VSV has suction with your fingers.
      Fig 13: Locating Hose
      G02976326Courtesy of © TOYOTA, LICENSE AGREEMENT TMS1002

      Result: 

      Fig 14: Test Result Chart
      G02976327Courtesy of © TOYOTA, LICENSE AGREEMENT TMS1002
    8. Reconnect the hose.
    1. B: Go to step   14 . 
    2. C: Go to step   15 . 
    3. A: Go to next step. 
  13. CHECK FUEL TANK CAP ASSY 
    1. Check that the fuel tank cap is correctly installed.
    2. Confirm that the fuel tank cap is tightened until a few click sounds are heard.

      HINT:

      If an EVAP tester is available, check the fuel tank cap using the tester.

      1. Remove the fuel tank cap and install it onto a fuel tank cap adaptor.
      2. Connect an EVAP tester pump hose to the adaptor, and pressurize the cap to 3.2 to 3.7 kPa (24 to 28 mmHg) using the EVAP tester pump.
      3. Seal the adaptor and wait for 2 minutes.
      4. Check the pressure. If the pressure is 2 kPa (15 mmHg) or more, the fuel tank cap is normal.
      5. Reinstall the fuel tank cap.

        Result: 

        Fig 15: Test Result Chart
        G02976328Courtesy of © TOYOTA, LICENSE AGREEMENT TMS1002
    1. A: Go to step   29 . 
    2. B: Go to step   27 . 
    3. C: Go to step   28 . 
  14. INSPECT VACUUM SWITCHING VALVE NO.1 
    Fig 16: Locating Hose
    G02976329Courtesy of © TOYOTA, LICENSE AGREEMENT TMS1002
    1. Turn the ignition switch off.
    2. Disconnect the B31 purge VSV connector.
    3. Disconnect the hose (connected to the canister) from the purge VSV.
    4. Start the engine.
    5. Confirm that the purge VSV has no suction with your fingers.

      Result: 

      TEST RESULT

      Test Results Suspected Trouble Areas Proceed To
      No suction ECM A
      Suction applied Purge VSV B
    6. Reconnect the purge VSV connector.
    7. Reconnect the hose.
    1. A: Go to step   35 . 
    2. B: Go to step   31 . 
  15. CHECK EVAP HOSE (PURGE VSV - THROTTLE BODY) 
    1. Disconnect the hose (connected to the throttle body) from the purge VSV.
    2. Start the engine.
    3. Confirm that the hose has suction with your fingers.
      Fig 17: Locating Hose
      G02976330Courtesy of © TOYOTA, LICENSE AGREEMENT TMS1002

      Result: 

      Fig 18: Test Result Suspect Area Chart
      G02976331Courtesy of © TOYOTA, LICENSE AGREEMENT TMS1002
    4. Reconnect the hose.
    1. B: Go to step   26 . 
    2. A: Go to next step. 
  16. INSPECT VACUUM SWITCHING VALVE NO.1 (PURGE VSV) 
    1. Remove the purge VSV.
    2. Apply battery voltage to the terminals of the purge VSV.
    3. Using compressed air, confirm that air flows from port A to port B.
      Fig 19: Applying Battery Voltage To Terminals Of Purge VSV
      G02976332Courtesy of © TOYOTA, LICENSE AGREEMENT TMS1002

      Result: 

      TEST RESULT

      Test Results Suspected Trouble Areas Proceed To
      Air flows - A
      No air flow Purge VSV B
    4. Install the purge VSV.
    1. B: Go to step   31 . 
    2. A: Go to next step. 
  17. CHECK WIRE HARNESS AND CONNECTOR (POWER SOURCE OF PURGE VSV) 
    1. Disconnect the B31 purge VSV connector.
    2. Turn the ignition switch on (IG).
    3. Measure the voltage between terminal 1 of the purge VSV connector and the body ground.
      Fig 20: Identifying Connector
      G02976333Courtesy of © TOYOTA, LICENSE AGREEMENT TMS1002

      Result: 

      TEST RESULT

      Test Results Suspected Trouble Areas Proceed To
      Between 11 V and 14 V - A
      Other than result above Wire harness or connectors between purge VSV and ECM B
    4. Reconnect the purge VSV connector.
    1. B: Go to step   32 . 
    2. A: Go to next step. 
  18. CHECK WIRE HARNESS AND CONNECTOR (PURGE VSV - ECM) 
    1. Disconnect the B45 ECM connector and the B31 purge VSV connector.
    2. Measure the resistance between the terminals of the purge VSV connector and ECM connector.

      Standard: 

      TESTER CONNECTION SPECIFIED CONDITION

      Tester Connections Specified Conditions
      B45-34 (PRG) - B31-1 Below 1 Ω
      B45-34 (PRG) - Body ground 10 kΩ or higher
      B31-1 - Body ground 10 kΩ or higher
      Fig 21: Disconnecting B45 ECM Connector And B31 Purge VSV Connector
      G02976334Courtesy of © TOYOTA, LICENSE AGREEMENT TMS1002
    3. Reconnect the purge VSV connector.
    4. Reconnect the ECM connector.
      Fig 22: Identifying VSV Connector
      G02976335Courtesy of © TOYOTA, LICENSE AGREEMENT TMS1002
    1. OK: Go to step   35 . 
    2. NG: Go to step   32 . 
  19. PERFORM ACTIVE TEST USING HAND-HELD TESTER (FOR VENT VALVE) 
    1. Turn the ignition switch on (IG).
    2. Select the following menu items on the tester: DIAGNOSIS / ENHANCED OBD II / ACTIVE TEST / VENT VALVE.
    3. Measure the voltage between terminal VPMP of the ECM connector and the body ground when the vent valve is turned ON (close) and OFF (vent) using the tester.
      Fig 23: Identifying Terminals Of VPMP Of ECM Connector
      G02976336Courtesy of © TOYOTA, LICENSE AGREEMENT TMS1002

      Result: 

      TEST RESULT

      Test Results Suspected Trouble Areas Proceed To
      Between 9 V and 14 V when OFF Below 3 V when ON Vent valve A
      Below 3 V when OFF and ON ECM B
    1. A: Go to step   22 . 
    2. B: Go to step   35 . 
  20. PERFORM ACTIVE TEST USING HAND-HELD TESTER (FOR VENT VALVE) 
    1. Turn the ignition switch on (IG).
    2. Select the following menu items on the tester: DIAGNOSIS / ENHANCED OBD II / ACTIVE TEST / VENT VALVE (ALONE).
    3. Measure the voltage between terminal VPMP of the ECM connector and the body ground when the vent valve is turned ON (close) and OFF (vent) using the tester.
      Fig 24: Measuring Voltage Between Terminal VPMP Of ECM Connector
      G02976337Courtesy of © TOYOTA, LICENSE AGREEMENT TMS1002

      Result: 

      TEST RESULT

      Test Results Suspected Trouble Areas Proceed To
      Below 3 V when OFF and ON Power source of vent valve A
      Between 9 V and 14 V when OFF Below 3 V when ON Vent valve B
      Between 9 V and 14 V when OFF and ON ECM C
    1. B: Go to step   22 . 
    2. C: Go to step   35 . 
    3. A: Go to next step. 
  21. INSPECT PUMP MODULE (POWER SOURCE FOR VENT VALVE) 
    1. Turn the ignition switch off.
    2. Disconnect the L12 canister connector.
    3. Turn the ignition switch on (IG).
    4. Measure the voltage between terminal 9 of the canister connector and the body ground.
      Fig 25: Locating L12 Canister Connector
      G02976338Courtesy of © TOYOTA, LICENSE AGREEMENT TMS1002
      Fig 26: Identifying Canister Connector
      G02976339Courtesy of © TOYOTA, LICENSE AGREEMENT TMS1002

      Result: 

      TEST RESULT

      Test Results Suspected Trouble Areas Proceed To
      Between 9 V and 14 V - A
      Between 0 V and 3 V Power source wire harness of vent valve B
    5. Reconnect the canister connector.
    1. B: Go to step   32 . 
    2. A: Go to next step. 
  22. INSPECT PUMP MODULE (VENT VALVE OPERATION) 
    1. Turn the ignition switch off.
    2. Disconnect the L12 canister connector.
    3. Apply the battery voltage to terminals 9 and 8 of the pump module.
    4. Touch the pump module to confirm the vent valve operation.
      Fig 27: Identifying Charcoal Canister Assy
      G02976340Courtesy of © TOYOTA, LICENSE AGREEMENT TMS1002

      Result: 

      TEST RESULT

      Test Results Suspected Trouble Areas Proceed To
      Operating Wire harness between vent valve and ECM A
      Not operating Vent valve B
    5. Reconnect the canister connector.
    1. A: Go to step   32 . 
    2. B: Go to step   30 . 
  23. PERFORM ACTIVE TEST USING HAND-HELD TESTER (FOR PUMP MODULE(VACUUM PUMP)) 
    1. Select the following menu items on the tester: DIAGNOSIS / ENHANCED OBD II / ACTIVE TEST / VACUUM PUMP.
    2. Measure the voltage between terminal MPMP of the ECM connector and the body ground when the vacuum pump is turned ON and OFF using the tester.
      Fig 28: Measuring Voltage Between Terminal MPMP Of ECM Connector
      G02976341Courtesy of © TOYOTA, LICENSE AGREEMENT TMS1002

      Result: 

      TEST RESULT

      Tests Results Suspected Trouble Areas Proceed To
      Between 0 V and 3 V when OFF Between 9 V and 14 V when ON - A
      Between 9 V and 14 V when OFF Between 0 V and 3 V when ON ECM B
    1. B: Go to step   35 . 
    2. A: Go to next step. 
  24. CHECK WIRE HARNESS AND CONNECTOR (PUMP MODULE - ECM) 
    1. Turn the ignition switch off.
    2. Disconnect the L12 canister connector.
    3. Turn the ignition switch on (IG).
    4. Select the following menu items on the tester: DIAGNOSIS / ENHANCED OBD II / ACTIVE TEST / VACUUM PUMP.
    5. Turn the vacuum pump ON.
    6. Measure the voltage between terminal 1 of the canister connector and the body ground.
      Fig 29: Locating L12 Canister Connector
      G02976342Courtesy of © TOYOTA, LICENSE AGREEMENT TMS1002
      Fig 30: Identifying Canister Connector
      G02976343Courtesy of © TOYOTA, LICENSE AGREEMENT TMS1002

      Result: 

      TEST RESULT

      Test Results Suspected Trouble Areas Proceed To
      Between 9 V and 14 V - A
      Between 0 V and 3 V Wire harness between ECM and vacuum pump B
    7. Reconnect the canister connector.
    1. B: Go to step   32 . 
    2. A: Go to next step. 
  25. CHECK WIRE HARNESS AND CONNECTOR (PUMP MODULE - GROUND) 
    1. Disconnect the L12 canister connector.
    2. Turn the ignition switch off.
    3. Measure the resistance between terminal 6 of the canister connector and the body ground.
      Fig 31: Identifying Canister Connector
      G02976344Courtesy of © TOYOTA, LICENSE AGREEMENT TMS1002

      Result: 

      TEST RESULT

      Test Results Suspected Trouble Areas Proceed To
      Below 1 Ω Vacuum pump A
      10 kΩ or more Wire harness between vacuum pump and body ground B
    4. Reconnect the canister connector.
    1. A: Go to step   30 . 
    2. B: Go to step   32 . 
  26. INSPECT THROTTLE W/MOTOR BODY ASSY 
    1. Stop the engine.
    2. Disconnect the EVAP hose from the throttle body.
    3. Start the engine.
    4. Confirm that the port of the throttle body has suction with your fingers.

      Result: 

      TEST RESULT

      Test Results Suspected Trouble Areas Proceed To
      Suction applied EVAP hose between throttle body and purge VSV A
      No suction Throttle body B
    5. Reconnect the EVAP hose.
    1. A: Go to step   33 . 
    2. B: Go to step   34 . 
  27. CORRECTLY REINSTALL OR REPLACE FUEL TANK CAP 

    HINT:

    • When reinstalling the fuel tank cap, tighten it until a few click sounds are heard.
    • When replacing the fuel tank cap, use a fuel tank cap that meets OEM specifications, and install it until a few click sounds are heard.
    1. NEXT: Go to step   37 . 
  28. REPLACE FUEL TANK CAP ASSY 

    HINT:

    When installing the fuel tank cap, tighten it until a few click sounds are heard.

    1. NEXT: Go to step   37 . 
  29. REPAIR EVAP LEAK PART 
    1. Prepare a rubber hose with a 15 to 18.5 mm inside diameter.
    2. Reinstall the fuel tank cap.
    3. Using SST, pinch the rubber tube to close the canister passage.

      SST 00002-6872A

    4. Connect a pressure gauge to the service port (green cap near the air cleaner box).
    5. Pressurize the EVAP system to 3.2 to 3.7 kPa (24 to 28 mmHg).
      Fig 32: Cutting Rubber Using SST
      G02976345Courtesy of © TOYOTA, LICENSE AGREEMENT TMS1002
    6. Apply soapy water to the piping and connecting parts of the EVAP system. Check for areas where bubbles appear. This indicates leaking points.
    7. Repair or replace leaking points.

    HINT:

    • If the system has leaks, a whistling sound will be heard.
    • Disconnect the hose between the canister and the fuel tank from the canister. Close the canister hose connected to the fuel tank, and conduct an inspection. In this way, the fuel tank can be excluded as an area suspected of causing fuel leaks.
      Fig 33: Identifying Pressure Hose
      G02976346Courtesy of © TOYOTA, LICENSE AGREEMENT TMS1002
    1. NEXT: Go to step   37 . 
  30. REPLACE CHARCOAL CANISTER ASSY 
    1. NEXT: Go to step   37 . 
  31. REPLACE VACUUM SWITCHING VALVE NO.1 (PURGE VSV) 
    1. Disconnect the connector and 2 hoses from the purge VSV.
    2. Remove the purge VSV.
    3. Install a new purge VSV.
    4. Reconnect the connector and 2 hoses.
      Fig 34: Locating Purge VSV
      G02976347Courtesy of © TOYOTA, LICENSE AGREEMENT TMS1002
    1. NEXT: Go to step   37 . 
  32. REPAIR OR REPLACE WIRE HARNESS OR CONNECTOR 
    1. NEXT: Go to step   37 . 
  33. REPLACE EVAP HOSE (THROTTLE BODY - PURGE VSV) 
    1. NEXT: Go to step   37 . 
  34. INSPECT THROTTLE W/MOTOR BODY ASSY 
    1. Remove the throttle body (see REPLACEMENT ).
    2. Check that the EVAP purge port of the throttle body is not clogged. If necessary, replace the throttle body.
    1. NEXT: Go to step   37 . 
  35. REPLACE ECM (SEE  REPLACEMENT  ) 
    1. NEXT: Go to step   37 . 
  36. REPAIR OR REPLACE PARTS AND COMPONENTS INDICATED BY OUTPUT DTCS 
    1. Repair the malfunctioning areas indicated by the DTCs that had been confirmed when the vehicle was brought in.
    1. NEXT: Go to step 37 
  37. PERFORM EVAP SYSTEM CHECK (AUTO OPERATION) 
    NOTE:
    • In the EVAP SYSTEM CHECK (AUTO OPERATION), the series of 5 EVAP SYSTEM CHECK steps is performed automatically. It takes a maximum of approximately 18 minutes.
    • Do not perform the EVAP SYSTEM CHECK when the fuel tank is more than 90 % full because the cut-off valve may be closed and making the leak check of the fuel tank unavailable.
    • Do not run the engine in this step.
    • When the temperature of the fuel is 35°C (95°F) or more, a large amount of vapor forms and any check results become inaccurate. When performing an EVAP SYSTEM CHECK, keep the temperature below 35°C (95°F).
    1. Clear DTCs (see DTC CHECK/CLEAR  ).
    2. Select the following menu items on the tester: DIAGNOSIS / ENHANCED OBD II / SYSTEM CHECK / EVAP SYS CHECK / AUTO OPERATION.
    3. After the SYSTEM CHECK is completed, check for pending DTCs by selecting the following menu items: DIAGNOSIS / ENHANCED OBD II / DTC INFO / PENDING CODES.

    HINT:

    If no pending DTC is found, the repair has been successfully completed.

    1. NEXT: COMPLETED