lemon-mirror:
Home >> Toyota >> 2005 >> Avalon XLS >> Repair and Diagnosis >> General Information >> Identification >> Introduction >> Identification Information >> Vehicle Identification And Serial Numbers

Vehicle Identification And Serial Numbers

  1. VEHICLE IDENTIFICATION NUMBER 
    1. The vehicle identification number is stamped on the vehicle identification number plate and certification label, as shown in the illustration.

      A : Vehicle Identification Number Plate 

      B : Certification Label 

      Fig 1: Identifying Vehicle Identification Number
      G02974380Courtesy of © TOYOTA, LICENSE AGREEMENT TMS1002
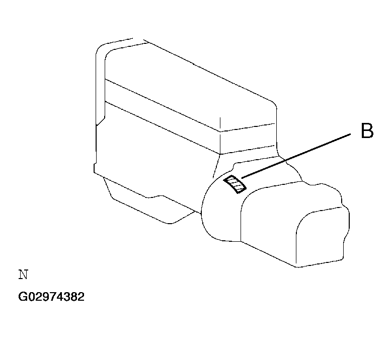
  2. ENGINE SERIAL NUMBER AND TRANSMISSION SERIAL NUMBER 
    1. The engine serial number is stamped on the cylinder block of the engine and the transmission serial number is stamped on the housing as shown in the illustration.

      A : Engine Serial Number 

      B : Transmission Serial Number 

      Fig 2: Locating Engine Serial Number
      G02974381Courtesy of © TOYOTA, LICENSE AGREEMENT TMS1002
      Fig 3: Locating Transmission Serial Number
      G02974382Courtesy of © TOYOTA, LICENSE AGREEMENT TMS1002