lemon-mirror:
Home >> Toyota >> 2005 >> Avalon XLS >> Repair and Diagnosis >> General Information >> Identification >> Introduction >> Repair Instruction >> Precaution

Repair Instruction: Precaution

  1. BASIC REPAIR HINT 
    1. HINTS ON OPERATIONS
      Fig 1: Precaution - Hints On Operations (1 Of 2)
      G02974383Courtesy of © TOYOTA, LICENSE AGREEMENT TMS1002
      Fig 2: Precaution - Hints On Operations (2 Of 2)
      G02974384Courtesy of © TOYOTA, LICENSE AGREEMENT TMS1002
    2. JACKING UP AND SUPPORTING VEHICLE
      1. Care must be taken when jacking up and supporting the vehicle. Be sure to lift and support the vehicle at the proper locations (see VEHICLE LIFT AND SUPPORT LOCATIONS  ).
    3. PRECOATED PARTS
      1. Precoated parts are bolts and nuts that are coated with a seal lock adhesive at the factory.
      2. If a precoated part is retightened, loosened or moved in any way, it must be re-coated with the specified adhesive.
      3. When reusing a precoated part, clean off the old adhesive and dry the part with compressed air. Then apply new seal lock adhesive appropriate to that part.
      4. Some seal lock agents harden slowly. You may have to wait for the seal lock agent to harden.
        Fig 3: Identifying Seal Lock Adhesive
        G02974385Courtesy of © TOYOTA, LICENSE AGREEMENT TMS1002
    4. GASKETS
      1. When necessary, use a sealer on gaskets to prevent leaks.
    5. BOLTS, NUTS AND SCREWS
      1. Carefully follow all the specifications for tightening torques. Always use a torque wrench.
        NOTE: Perform the torque with the lower limit value of the torque tolerance.
    6. FUSES
      1. When inspecting a fuse, check that the wire of the fuse is not broken.
      2. When replacing fuses, be sure that the new fuse has the correct amperage rating. Do not exceed the rating or use one with a lower rating.
        Fig 4: Identifying Incorrect And Correct Fuses
        G02974386Courtesy of © TOYOTA, LICENSE AGREEMENT TMS1002
        Fig 5: Identifying Fuses Symbol
        G02974387Courtesy of © TOYOTA, LICENSE AGREEMENT TMS1002
    7. CLIPS
      1. The removal and installation methods of typical clips used in body parts are shown in the table below.

        HINT:

        If clips are damaged during a procedure, always replace the damaged clip with a new clip.

        Fig 6: Removing And Installing Methods Of Typical Clips (1 Of 2)
        G02974388Courtesy of © TOYOTA, LICENSE AGREEMENT TMS1002
        Fig 7: Removing And Installing Methods Of Typical Clips (2 Of 2)
        G02974389Courtesy of © TOYOTA, LICENSE AGREEMENT TMS1002
    8. REMOVAL AND INSTALLATION OF VACUUM HOSES
      1. To disconnect a vacuum hose, pull and twist from the end of the hose. Do not pull from the middle of the hose as this may cause damage.
        Fig 8: Identifying Incorrect And Correct Vacuum Hoses
        G02974390Courtesy of © TOYOTA, LICENSE AGREEMENT TMS1002
      2. When disconnecting vacuum hoses, use tags to identify where they should be reconnected.
      3. After completing the job, double check that the vacuum hoses are properly connected. The label under the hood shows the proper layout.
      4. When using a vacuum gauge, never force the hose onto a connector that is too large. Use a step-down adapter if necessary. Once the hose has been stretched, it may leak air.
        Fig 9: Disconnecting Vacuum Hoses
        G02974391Courtesy of © TOYOTA, LICENSE AGREEMENT TMS1002
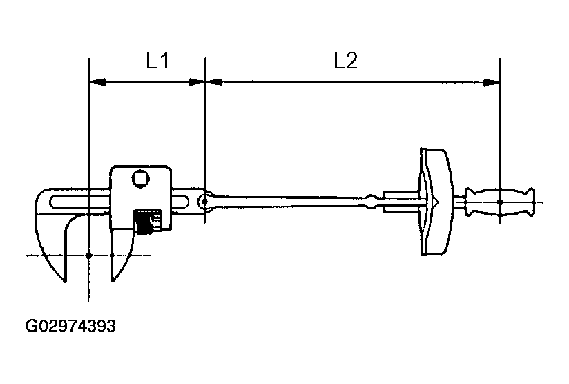
    9. TORQUE WHEN USING TORQUE WRENCH WITH EXTENSION TOOL
      1. Use the formula below to calculate special torque values for situations where SST or an extension tool is combined with the torque wrench. Formula: T' = Tx L2/(L1 + L2)
        Fig 10: Identifying Length Of SST
        G02974392Courtesy of © TOYOTA, LICENSE AGREEMENT TMS1002
        TORQUE WRENCH REFERENCE

        T' Reading of torque wrench {N.m (kgf.cm, ft.lbf)}
        T Torque {N.m {kgf.cm, ft.lbf)}
        L1 Length of SST or extension tool {cm (in.)}
        L2 Length of torque wrench {cm (in.)}
      NOTE: If an extension tool or SST is combined with a torque wrench and the wrench is tightened to the torque specification in this information, the actual torque will be excessive and parts will be damaged.
      Fig 11: Identifying Torque Wrench
      G02974393Courtesy of © TOYOTA, LICENSE AGREEMENT TMS1002
  2. FOR VEHICLES EQUIPPED WITH SRS AIRBAG AND SEAT BELT PRETENSIONER 

    The AVALON is equipped with a Supplemental Restraint System (SRS).

    CAUTION: Failure to carry out the service operations in the correct sequence could cause the SRS to unexpectedly deploy during servicing and lead to serious injury. Furthermore, if a mistake is made when servicing the SRS, it is possible that the SRS may fail to operate properly. Before servicing (including removal or installation of parts, inspection or replacement), be sure to read the following section carefully.
    1. GENERAL NOTICE
      1. As the malfunction symptoms of the SRS are difficult to confirm, the Diagnostic Trouble Codes (DTCs). DTCs become the most important source of information when troubleshooting. When troubleshooting the SRS, always check the DTCs before disconnecting the battery (see DTC CHECK/CLEAR ).
      2. Work must be started at least 90 seconds after the ignition switch is turned to the LOCK position and the negative (-) terminal cable is disconnected from the battery.

        (The SRS is equipped with a back-up power source. If work is started within 90 seconds after turning the ignition switch to LOCK and disconnecting the negative (-) terminal cable from the battery, the SRS may deploy).

        When the negative (-) terminal cable is disconnected from the battery, clock and audio system memory is erased. Before starting work, make a note of the settings of each memory system. When work is finished, reset the clock and audio systems as before.

        CAUTION: Never use a back-up power source (battery or other) to avoid erasing system memory. The back-up power source may inadvertently power the SRS and cause it to deploy.
      3. In minor collisions where the SRS does not deploy, the horn button assembly, instrument panel passenger airbag assembly, curtain shield airbag assembly, front seat airbag assembly, instrument panel lower airbag assembly and seat belt pretensioner should be inspected before further use of the vehicle (see appropriate DISPOSAL procedure in SUPPLEMENTAL RESTRAINT SYSTEM article. , , , , ).
      4. Never use SRS parts from another vehicle. When replacing parts, use new parts.
      5. Before repairs, remove the airbag sensor if impacts are likely to be applied to the sensor during repairs.
      6. Never disassemble and repair the airbag sensor assembly, horn button assembly, instrument panel passenger airbag assembly, curtain shield airbag assembly, front seat airbag assembly, instrument panel lower airbag assembly or seat belt pretensioner.
      7. Replace the center airbag sensor assembly, side airbag sensor assembly, horn button assembly or the instrument panel passenger airbag assembly, curtain shield airbag assembly, front seat airbag assembly or instrument panel lower airbag assembly if: 1) damage has occurred from being dropped, or 2) cracks, dents or other defects in the case, bracket or connector are present.
      8. Do not directly expose the airbag sensor assembly, horn button assembly, instrument panel passenger airbag assembly, front seat airbag assembly, curtain shield airbag assembly or seat belt pretensioner to hot air or flames.
      9. Use a voltmeter/ohmmeter with high impedance (10 kΩ/V minimum) for troubleshooting electrical circuits.
      10. Information labels are attached to the SRS components. Follow the instructions on the labels.
      11. After work on the SRS is completed, check the SRS warning lamp (see DIAGNOSIS SYSTEM ).
    2. SPIRAL CABLE (in Combination Switch)
      1. The steering wheel must be fitted correctly to the steering column with the spiral cable at the neutral position, otherwise cable disconnection and other problems may occur. Refer to REPLACEMENT for information about correct installation of the steering wheel.
        Fig 12: Identifying Mark (In Combination Switch)
        G02974394Courtesy of © TOYOTA, LICENSE AGREEMENT TMS1002
    3. HORN BUTTON ASSEMBLY (with Airbag)
      1. When removing the horn button assembly or handling a new horn button, it should be placed with the pad surface facing up. See illustration below.

        Placing the horn button with the pad surface facing down may lead to a serious accident if the airbag accidentally inflates. Also, do not place anything on top of the horn button.

      2. Never measure the resistance of the airbag squib. This may cause the airbag to inflate, which could cause serious injury.
      3. Grease or detergents of any kind should not be applied to the steering wheel pad.
      4. Store the horn button assembly in an area where the ambient temperature is below 93°C (200°F), the humidity is not high and electrical noise is not nearby.
      5. When using electric welding anywhere on the vehicle, disconnect the airbag ECU connectors (4 pins). These connectors contain shorting springs. This feature reduces the possibility of the airbag or seat belt pretensioner deploying due to currents entering the squib wiring.
      6. When disposing of the vehicle or the horn button assembly by itself, the airbag should be inflated using an SST before disposal (see DISPOSAL ). Activate in a safe place away from electrical noise.
        Fig 13: Identifying Incorrect And Correct Horn Button Assembly
        G02974395Courtesy of © TOYOTA, LICENSE AGREEMENT TMS1002
        Fig 14: Precaution - Never Use An Ohmmeter On An Airbag
        G02974396Courtesy of © TOYOTA, LICENSE AGREEMENT TMS1002
    4. INSTRUMENT PANEL PASSENGER AIRBAG ASSY
      1. Always place a removed or new instrument panel passenger airbag assembly with the airbag inflation direction facing up.

        Placing the airbag assembly with the airbag inflation direction facing down could cause a serious accident if the airbag inflates.

      2. Never measure the resistance of the airbag squib. This may cause the airbag to inflate, which could cause serious injury.
      3. Grease or detergents of any kind should not be applied to the instrument panel passenger airbag assembly.
      4. Store the airbag assembly in an area where the ambient temperature is below 93°C (200°F), the humidity is not high and electrical noise is not nearby.
      5. When using electric welding anywhere on the vehicle, disconnect the airbag ECU connectors (4 pins). These connectors contain shorting springs. This feature reduces the possibility of the airbag deploying due to currents entering the squib wiring.
      6. When disposing of a vehicle or the airbag assembly unit by itself, the airbag should be deployed using SST before disposal (see DISPOSAL ).

        Activate in a safe place away from electrical noise.

        Fig 15: Identifying Incorrect And Correct Passenger Airbag Assembly
        G02974397Courtesy of © TOYOTA, LICENSE AGREEMENT TMS1002
        Fig 16: Precaution - Never Use An Ohmmeter On An Airbag
        G02974398Courtesy of © TOYOTA, LICENSE AGREEMENT TMS1002
    5. CURTAIN SHIELD AIRBAG ASSEMBLY
      1. Always place the removed or new curtain shield airbag assembly in a clear plastic bag, and keep it in a safe place.
        NOTE: Plastic bag is not re-useable.
        CAUTION: Never disassemble the curtain shield airbag assembly.
      2. Never measure the resistance of the airbag squib. This may cause the airbag to inflate, which could cause serious injury.
      3. Grease or detergents of any kind should not be applied to the curtain shield airbag assembly.
      4. Store the airbag assembly in an area where the ambient temperature is below 93°C (200°F), the humidity is not high and electrical noise is not nearby.
      5. When using electric welding anywhere on the vehicle, disconnect the airbag ECU connectors (2 pins). These connectors contain shorting springs. This feature reduces the possibility of the airbag deploying due to currents entering the squib wiring.
      6. When disposing of a vehicle or the curtain shield airbag assembly unit, the airbag should be deployed using SST before disposal (see DISPOSAL ).

        Activate in a safe place away from electrical noise.

        Fig 17: Identifying Incorrect And Correct Plastic Bag Usage
        G02974399Courtesy of © TOYOTA, LICENSE AGREEMENT TMS1002
        Fig 18: Precaution - Never Use An Ohmmeter On An Airbag
        G02974400Courtesy of © TOYOTA, LICENSE AGREEMENT TMS1002
    6. FRONT SEAT AIRBAG ASSEMBLY
      1. Always place a removed or new front seat airbag assembly with the airbag inflation direction facing up.

        Placing the airbag assembly with the airbag inflation direction facing downward could cause a serious accident if the airbag deploys.

      2. Never measure the resistance of the airbag squib. This may cause the airbag to inflate, which could cause serious injury.
      3. Grease or detergents of any kind should not be applied to the front airbag assembly.
      4. Store the airbag assembly in an area where the ambient temperature is below 93°C (200°F), the humidity is not high and electrical noise is not nearby.
      5. When using electric welding anywhere on the vehicle, disconnect the airbag ECU connectors (2 pins). These connectors contain shorting springs. This feature reduces the possibility of the airbag deploying due to currents entering the squib wiring.
      6. When disposing of a vehicle or the airbag assembly unit by itself, the airbag should be deployed using SST before disposal (see DISPOSAL ).

        Activate in a safe place away from electrical noise.

        Fig 19: Precaution - Never Use An Ohmmeter On An Airbag
        G02974401Courtesy of © TOYOTA, LICENSE AGREEMENT TMS1002
    7. INSTRUMENT PANEL LOWER AIRBAG ASSEMBLY
      1. Always store a removed or new instrument panel lower airbag assembly with the airbag inflating direction facing upward.

        Placing the airbag assembly with the airbag inflation direction facing downward could cause a serious accident if the airbag inflates.

      2. Never measure the resistance of the airbag squib. This may cause the airbag to inflate, which could cause serious injury.
      3. Grease or detergents of any kind should not be applied to the front seat airbag assembly.
      4. Store the instrument panel lower airbag assembly where the ambient temperature remains below 93°C (200°F), without high humidity and away from electrical noise.
      5. When using electric welding, first disconnect the airbag connector (2 pins) installed on the instrument panel lower airbag assembly before starting work.
      6. When disposing of a vehicle or the instrument panel lower airbag assembly unit by itself, the air-bag should be inflated using an SST before disposal (see DISPOSAL ).

        Activate in a safe place away from electrical noise.

        Fig 20: Identifying Incorrect And Correct Lower Airbag Assembly
        G02974402Courtesy of © TOYOTA, LICENSE AGREEMENT TMS1002
        Fig 21: Precaution - Never Use An Ohmmeter On An Airbag
        G02974403Courtesy of © TOYOTA, LICENSE AGREEMENT TMS1002
    8. SEAT BELT PRETENSIONER
      1. Never measure the resistance of the seat belt pretensioner. This may cause the seat belt pre-tensioner to activate, which could cause serious injury.
      2. Never disassemble the seat belt pretensioner.
      3. Never install the seat belt pretensioner on another vehicle.
      4. Store the seat belt pretensioner in an area where the ambient temperature is below 80°C (176°F), the humidity is not high and electrical noise is not nearby.
      5. When using electric welding anywhere on the vehicle, disconnect the airbag ECU connectors (2 pins). These connectors contain shorting springs. This feature reduces the possibility of the airbag deploying due to currents entering the squib wiring.
      6. When disposing of a vehicle or the seat belt pretensioner unit by itself, the seat belt pretensioner should be activated before disposal (see DISPOSAL ). Activate in a safe place away from electrical noise.
      7. As the seat belt pretensioner is hot after being activated, allow some time for it to cool down sufficiently before disposal. Never apply water to try to cool down the seat belt pretensioner.
      8. Grease, detergents, oil or water should not be applied to the front seat outer belt.
        Fig 22: Precaution - Never Use An Ohmmeter On Pretensioner
        G02974404Courtesy of © TOYOTA, LICENSE AGREEMENT TMS1002
    9. AIRBAG SENSOR ASSEMBLY
      1. Never reuse an airbag sensor assembly that has been involved in a collision where the SRS has deployed.
      2. The connectors to the airbag sensor assembly should be connected or disconnected with the sensor mounted on the floor. If the connectors are connected or disconnected while the airbag sensor assembly is not mounted to the floor, the SRS may activate.
      3. Work must be started at least 90 seconds after the ignition switch is turned to the LOCK position and the negative (-) terminal cable is disconnected from the battery, even if only loosening the set bolts of the airbag sensor assembly.
    10. WIRE HARNESS AND CONNECTOR
      1. The SRS wire harness is integrated with the instrument panel wire harness assembly. All the connectors in the system are a standard yellow color. If the SRS wire harness becomes disconnected or the connector becomes broken, repair or replace it.
  3. ELECTRONIC CONTROL 
    1. REMOVAL AND INSTALLATION OF BATTERY TERMINAL
      NOTE: After disconnecting the negative (-) terminal, it is necessary to perform the initialization of certain systems, (see INITIALIZATION  )
    2. REMOVAL AND INSTALLATION OF BATTERY CABLE
      1. Before performing electronic work, disconnect cable from the negative (-) battery terminal to prevent component and wire damage caused by accidental short circuits.
      2. When disconnecting the terminal cable, turn the ignition switch and headlamp dimmer switch OFF and loosen the terminal nut completely. Perform these operations without twisting or prying the terminal. Remove the battery cable from the battery terminal.
      3. Clock settings, radio settings, audio system memory, DTCs and other data are erased when the battery cable is disconnected. Write down any necessary data before disconnecting the battery cable.
        Fig 23: Removing Battery Cable
        G02974405Courtesy of © TOYOTA, LICENSE AGREEMENT TMS1002
    3. HANDLING OF ELECTRONIC PARTS
      1. Do not open the cover or case of the ECU unless absolutely necessary. If the IC terminals are touched, the IC may be rendered inoperative by static electricity.
      2. Do not pull the wires when disconnecting electronic connectors. Pull the connector itself.
      3. Be careful not to drop electronic components, such as sensors or relays. If they are dropped on a hard surface, they should be replaced.
      4. When cleaning the engine with steam, protect the electronic components, air filter and emission-related components from water.
      5. Never use an impact wrench to remove or install temperature switches or temperature sensors.
      6. When measuring the resistance of a wire connector, insert the tester probe carefully to prevent terminals from bending.
        Fig 24: Identifying Incorrect Electronic Parts
        G02974406Courtesy of © TOYOTA, LICENSE AGREEMENT TMS1002
  4. REMOVAL AND INSTALLATION OF FUEL CONTROL PARTS 
    1. PLACE FOR REMOVING AND INSTALLING OF FUEL SYSTEM PARTS
      1. Work in a location with good air ventilation that does not have welders, grinders, drills, electric motors, stoves, or any other ignition sources.
      2. Never work in a pit or near a pit as vaporized fuel will collect in those places.
    2. REMOVING AND INSTALLING OF FUEL SYSTEM PARTS
      1. Prepare a fire extinguisher before starting operation.
      2. To prevent static electricity, install a ground wire to the fuel changer, vehicle and fuel tank, and do not spray the surrounding area with water. Be careful when performing work in this area, as the work surface will become slippery. Do not clean up gasoline spills with water, as this may cause the gasoline to spread, and possibly create a fire hazard.
      3. Avoid using electric motors, working lights and other electric equipment that can cause sparks or high temperatures.
      4. Avoid using iron hammers as they may create sparks.
      5. Dispose of fuel-contaminated cloth separately using a fire resistant container.
  5. REMOVAL AND INSTALLATION OF ENGINE INTAKE PARTS 
    1. If any metal particles enter inlet pass, this may damage the engine.
    2. When removing and installing inlet system parts, cover the openings of the removed parts and engine openings. Use gummed tape or other suitable materials.
    3. When installing inlet system parts, check that no metal particles have entered the engine or the installed part.
      Fig 25: Covering Opening Of Engine Intake Parts
      G02974407Courtesy of © TOYOTA, LICENSE AGREEMENT TMS1002
  6. HANDLING OF HOSE CLAMPS 
    1. Before removing the hose, check the clamp position so that it can be reinstalled in the same position.
    2. Replace any deformed or dented clamps with new ones.
    3. When reusing a hose, attach the clamp on the clamp track portion of the hose.
    4. For a spring type clamp, you may want to spread the tabs slightly after installation by pushing in the direction of the arrow marks as shown in the illustration.
      Fig 26: Removing Hose Clamps
      G02974408Courtesy of © TOYOTA, LICENSE AGREEMENT TMS1002
  7. FOR VEHICLES EQUIPPED WITH MOBILE COMMUNICATION SYSTEMS 
    1. Install the antenna as far away from the ECU and sensors of the vehicle electronic systems as possible.
    2. Install an antenna feeder at least 20 cm (7.87 in.) away from the ECU and sensors of the vehicle electronic systems. For details of the ECU and sensors locations, refer to the information on applicable components.
    3. Keep the antenna and feeder separate from other wirings as much as possible. This will prevent signals from the communication equipment from affecting vehicle equipment and vice-versa.
    4. Check that the antenna and feeder are correctly adjusted.
      Fig 27: Identifying Vehicles Equipped With Mobile Communication Systems
      G02974409Courtesy of © TOYOTA, LICENSE AGREEMENT TMS1002
    5. Do not install any high-powered mobile communication system.
  8. FOR VEHICLES EQUIPPED WITH VEHICLE STABILITY (VSC) SYSTEM 
    1. NOTICES WHEN USING DRUM TESTER
      1. Before beginning testing, disable the VSC. To disable the VSC, turn the ignition switch OFF and connect SST to terminals TS and CG of the DLC3.

        SST 09843-18040

      2. Fig 28: Identifying DLC3 Connector Terminals
        G02974410Courtesy of © TOYOTA, LICENSE AGREEMENT TMS1002
      NOTE:
      • Confirm that the VSC warning light blinks.
      • VSC system will be reset when the engine is restarted.
      • For safety, secure the vehicle with restraint chains while using a wheel dynamometer.
    2. NOTICES OF RELATED OPERATIONS TO VSC
      1. Do not carry out unnecessary installation and removal as it might affect the adjustment of VSC related parts.
      2. Be sure to follow the instructions for work preparation and final confirmation of proper operation of the VSC system.
  9. FOR VEHICLES EQUIPPED WITH CATALYTIC CONVERTER CAUTION: 

    If a large amount of unburned gasoline or gasoline vapors flow into the converter, it may cause overheating and create a fire hazard. To prevent this, observe the following precautions. 

    1. Use only unleaded gasoline.
    2. Avoid prolonged idling.

      Avoid idling the engine for more than 20 minutes.

    3. Avoid a spark jump test.
      1. Perform a spark jump test only when absolutely necessary. Perform this test as rapidly as possible.
      2. While testing, never race the engine.
    4. Avoid a prolonged engine compression measurement.

      Engine compression measurements must be performed as rapidly as possible.

    5. Do not run the engine when the fuel tank is nearly empty. This may cause the engine to misfire and create an extra load on the converter.