lemon-mirror:
Home >> Toyota >> 2005 >> Camry Base, Automatic >> Repair and Diagnosis >> Body & Frame >> Windows >> Windshield/WINDOWGLASS/Mirror >> Windshield Glass >> Replacement

Windshield Glass: Replacement

HINT:

  1. REMOVE FR WIPER ARM RH (See  WINDSHIELD WIPER MOTOR ASSY  ) 
  2. REMOVE FR WIPER ARM LH (See  WINDSHIELD WIPER MOTOR ASSY  ) 
  3. REMOVE COWL TOP VENTILATOR LOUVER SUB-ASSY (See  WINDSHIELD WIPER MOTOR ASSY  ) 
  4. REMOVE FRONT DOOR OPENING TRIM WEATHERSTRIP RH (See  WINDSHIELD WIPER MOTOR ASSY  ) 
  5. REMOVE FRONT DOOR OPENING TRIM WEATHERSTRIP LH (See  WINDSHIELD WIPER MOTOR ASSY  ) 
  6. REMOVE FRONT PILLAR GARNISH RH (w/o CURTAIN SHIELD AIR BAG) (See  REPLACEMENT  ) 
  7. REMOVE FRONT PILLAR GARNISH LH (w/o CURTAIN SHIELD AIR BAG) (See  REPLACEMENT  ) 
  8. REMOVE FRONT PILLAR GARNISH RH (w/ CURTAIN SHIELD AIR BAG) (See  REPLACEMENT  ) 
  9. REMOVE FRONT PILLAR GARNISH LH (w/ CURTAIN SHIELD AIR BAG) (See  REPLACEMENT  ) 
  10. REMOVE ROOF CONSOLE BOX ASSY (See  REPLACEMENT  ) 
  11. REMOVE RH VISOR ASSY (See  REPLACEMENT  ) 
  12. REMOVE LH VISOR ASSY (See  REPLACEMENT  ) 
  13. REMOVE VISOR HOLDER (See  REPLACEMENT  ) 
  14. REMOVE ROOF HEADLINING ASSY (See  REPLACEMENT  ) 

    HINT:

    It is not necessary to completely remove the roof headlining. Slightly lower the front section of the roof headlining so that the windshield glass can be removed later in step 17.

  15. REMOVE INNER REAR VIEW MIRROR ASSY (See  INNER REAR VIEW MIRROR ASSY   ) 
  16. REMOVE WINDSHIELD MOULDING OUTER UPPER 
    1. Using a knife, cut off the moulding, as shown in the illustration.
      NOTE: Be careful not to damage the vehicle body with the knife.
    2. Remove the remaining moulding.

      HINT:

      Make a partial cut in the moulding. Then pull and remove it by hand.

      Fig 1: Identifying Windshield Glass
      G02595310Courtesy of © TOYOTA, LICENSE AGREEMENT TMS1002
  17. REMOVE WINDSHIELD GLASS 

    HINT:

    In some cases, 1-piece type and 2-piece type stoppers are installed in the same vehicle.

    Fig 2: Removing Windshield Glass Stoppers
    G02595311Courtesy of © TOYOTA, LICENSE AGREEMENT TMS1002
    1. From the interior, insert piano wires between the vehicle body and glass, as shown in the illustration.
    2. Tie objects that can serve as handles (for example, wooden blocks) to all wire ends.
      Fig 3: Inserting Piano Wires Between Vehicle Body And Glass
      G02595312Courtesy of © TOYOTA, LICENSE AGREEMENT TMS1002

      HINT:

      Apply protective tape to the outer surface of the vehicle body to prevent its surface from being scratched.

      NOTE:
      • w/ Curtain shield airbag:

        When working around the curtain shield airbag, be careful not to damage the airbag.

      • When separating the glass from the vehicle, be careful not to damage the vehicle's paint or interior / exterior ornaments.
      • To prevent the safety pad from being scratched when removing the glass, place a plastic sheet between the piano wire and safety pad.
    3. Cut through the adhesive by pulling the piano wire around the glass.
    4. Disengage the stoppers.
    5. Using a suction cup, remove the glass.
    NOTE: Leave as much adhesive on the vehicle body as possible when removing the glass.
  18. CLEAN WINDSHIELD GLASS 
    1. Using a scraper, remove the damaged stoppers, dam and adhesive sticking to the glass.
    2. Clean the outer circumference of the glass with white gasoline.
    NOTE:
    • Do not touch the glass after cleaning it.
    • Even if using new glass, clean the glass with white gasoline.
    Fig 4: Identifying Plastic Sheet
    G02595313Courtesy of © TOYOTA, LICENSE AGREEMENT TMS1002
    Fig 5: Cleaning Windshield Glass
    G02595314Courtesy of © TOYOTA, LICENSE AGREEMENT TMS1002
  19. CLEAN VEHICLE BODY 
    1. Clean and shape the contact surface of the vehicle body.
    1. Using a knife, cut away any rough adhesive on the contact surface of the vehicle body to ensure the appropriate surface shape.
      Fig 6: Identifying Adhesive On Contact Surface
      G02595315Courtesy of © TOYOTA, LICENSE AGREEMENT TMS1002
      NOTE: Be careful not to damage the vehicle body.

      HINT:

      Leave as much adhesive on the vehicle body as possible.

    2. Clean the contact surface of the vehicle body with a piece of shop rag saturated with cleaner.

    HINT:

    Even if all the adhesive has been removed, clean the vehicle body.

  20. INSTALL WINDSHIELD GLASS STOPPER NO.2 
    1. Coat the installation part of the stopper with Primer G.
      NOTE:
      • Allow the primer coating to dry for 3 minutes or more.
      • Throw away any leftover Primer G.
      • Do not apply too much Primer G.
    2. Install 2 new stoppers onto the glass, as shown in the illustration.
    Fig 7: Installing Windshield Glass Stopper No.2
    G02595316Courtesy of © TOYOTA, LICENSE AGREEMENT TMS1002

    Specification: 

    MEASUREMENT REFERENCE

    Area Measurement
    A 7.7 mm (0.303 in.)
    B 40.0 mm (1.575 in.)
  21. INSTALL WINDSHIELD GLASS STOPPER NO.1 
    1. Install 2 new stoppers to the vehicle body, as shown in the illustration.
      Fig 8: Installing Windshield Glass Stopper No.1
      G02595317Courtesy of © TOYOTA, LICENSE AGREEMENT TMS1002
  22. INSTALL WINDSHIELD GLASS RETAINER 
    1. Install 2 new retainers onto the glass, as shown in the illustration.
      Fig 9: Identifying Windshield Glass Retainer
      G02595318Courtesy of © TOYOTA, LICENSE AGREEMENT TMS1002
  23. INSTALL WINDOW GLASS ADHESIVE DAM 
    1. Coat the installation part of the windshield glass adhesive dam with Primer G.
      NOTE:
      • Allow the primer coating to dry for 3 minutes or more.
      • Throw away any leftover Primer G.
      • Do not apply too much primer.
    2. Install a new dam, as shown in the illustration.
      Fig 10: Identifying Window Glass Adhesive Dam
      G02595319Courtesy of © TOYOTA, LICENSE AGREEMENT TMS1002

      Specification: 

      MEASUREMENT REFERENCE

      Area Measurement
      a 7.0 mm (0.276 in.)
      b 35.0 mm (1.378 in.)
  24. INSTALL WINDSHIELD GLASS 
    1. Position the glass
      1. Using a suction cup, place the glass in the correct position.
      2. Check that the whole contact surface of the glass rim is perfectly even.
      3. Place reference marks between the glass and vehicle body.
        NOTE: Check that the stoppers are attached to the vehicle body correctly.

        HINT:

        When reusing the glass, check and correct the reference mark's positions.

      4. Using a suction cup, remove the glass.
        Fig 11: Placing Reference Marks Between Glass And Vehicle Body
        G02595320Courtesy of © TOYOTA, LICENSE AGREEMENT TMS1002
    2. Using a brush, coat the exposed part of the vehicle body on the vehicle side with Primer M.
      NOTE:
      • Allow the primer coating to dry for 3 minutes or more.
      • Do not coat the adhesive with Primer M.
      • Throw away any leftover Primer M.
      • Do not apply too much Primer M.
    3. Using a brush or sponge, coat the edge of the glass and the contact surface with Primer G.

      HINT:

      If the area other than that specified is coated by accident, wipe off the primer with a clean shop rag before it dries.

      NOTE:
      • Allow the primer coating to dry for 3 minutes or more.
      • Throw away any leftover Primer G.
      • Do not apply too much Primer G.
      Fig 12: Coating Exposed Part Using Brush
      G02595321Courtesy of © TOYOTA, LICENSE AGREEMENT TMS1002
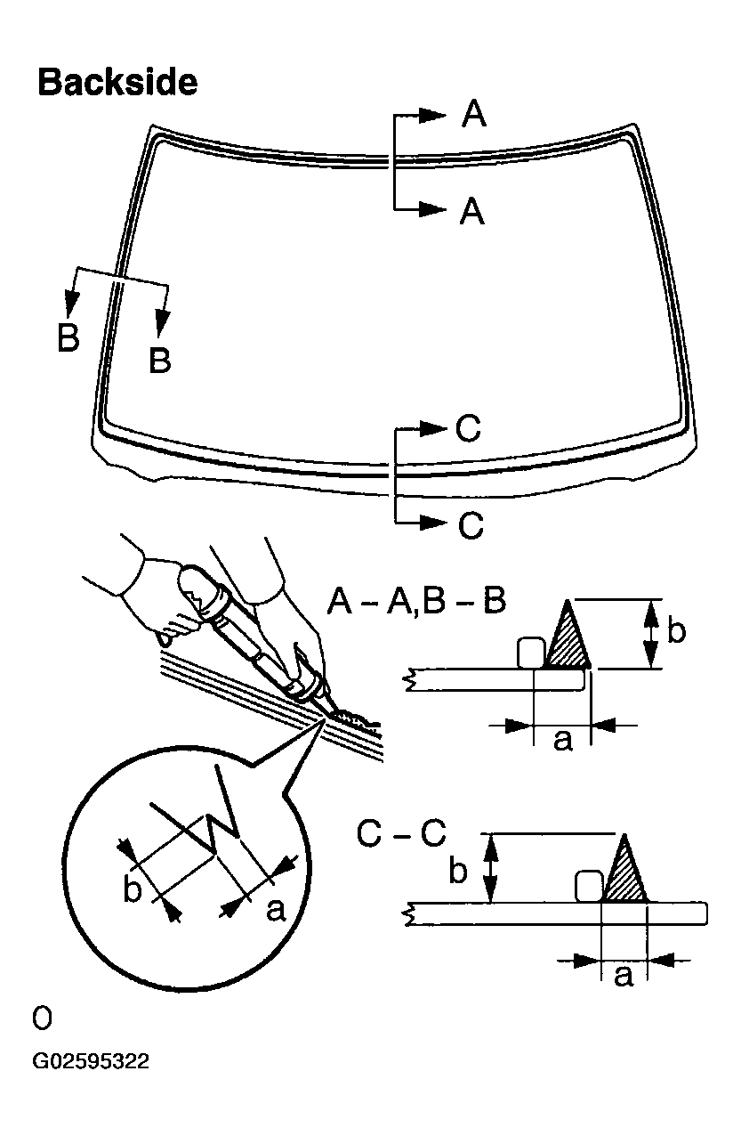
    4. Apply adhesive.

      Adhesive: Part No. 08850-00801 or equivalent 

      1. Cut off the tip of the cartridge nozzle, as shown in the illustration.

        HINT:

        After cutting off the tip, use all adhesive within the time described in the table below.

        Usage time frame: 

        TEMPERATURE REFERENCE

        Temperature Usage Time Frame
        35°C (95°F) 15 minutes
        20°C (68°F) 1 hour 40 minutes
        5°C (41°F) 8 hours
      2. Load the sealer gun with the cartridge.
      3. Coat the glass with adhesive, as shown in the illustration.

        Specification: 

        MEASUREMENT REFERENCE

        Area Measurement
        a 8.0 mm (0.315 in.)
        b 12.0 mm (0.472 in.)
        Fig 13: Applying Adhesive
        G02595322Courtesy of © TOYOTA, LICENSE AGREEMENT TMS1002
    5. Install the glass.
      1. Using a suction cup, position the glass so that the reference marks are aligned. Press it in gently along the rim.
        NOTE:
        • Allow the primer coating to dry for 3 minutes or more.
        • Check that the stoppers are attached to the vehicle body correctly.
        • Check that the vehicle body and glass have a small gap between them.
      2. Lightly press the front surface of the glass to ensure that the glass is securely fit to the vehicle body.
        Fig 14: Positioning Glass Using Suction Cup
        G02595323Courtesy of © TOYOTA, LICENSE AGREEMENT TMS1002
      3. Using a scraper, remove any excess or protruding adhesive.
        Fig 15: Applying Adhesive On Glass Rim
        G02595324Courtesy of © TOYOTA, LICENSE AGREEMENT TMS1002

    HINT:

    Apply adhesive on the glass rim.

    NOTE: Do not drive the vehicle for the amount of time described in the table below.

    Minimum time: 

    TEMPERATURE REFERENCE

    Temperature Minimum time prior to driving vehicle
    35°C (95°F) 1 hour 30 minutes
    20°C (68°F) 5 hours
    5°C (41°F) 24 hours
  25. INSTALL WINDSHIELD MOULDING OUTER UPPER 
    1. Using a brush or sponge, coat the edge of the glass and the contact surface with Primer G.
      NOTE:
      • Allow the primer coating to dry for 3 minutes or more.
      • Throw away any leftover Primer G.
      • Do not apply too much Primer G.
    2. Install the moulding.
  26. CHECK FOR LEAKS AND REPAIR 
    1. Conduct a leak test after the adhesive has completely hardened.
    2. Seal any leaks with auto glass sealer.