lemon-mirror:
Home >> Toyota >> 2005 >> Celica GT, Automatic >> Repair and Diagnosis >> Engine Performance >> Engine Control Systems >> SFI System >> Fuel Pump >> Reassembly

Fuel Pump: Reassembly

  1. INSTALL FUEL SUCTION FILTER 

    Install the suction filter with a new clip.

    Fig 1: Installing Fuel Suction Filter
    G02600743Courtesy of © TOYOTA, LICENSE AGREEMENT TMS1002
  2. INSTALL FUEL PUMP 

    Connect the fuel pump to the fuel filter.

    Fig 2: Installing Fuel Pump
    G02600744Courtesy of © TOYOTA, LICENSE AGREEMENT TMS1002
  3. INSTALL FUEL PRESSURE REGULATOR 
    1. Install the O-ring to the pressure regulator.

      HINT:

      Apply a light coat of gasoline to a new O-ring, and install it to the pressure regulator.

    2. Connect the pressure regulator to the fuel filter.
  4. INSTALL NO. 1 FUEL SUCTION SUPPORT 
    1. Connect the fuel pump harness to the No. 1 fuel suction support and fuel pump.
    2. Install the No. 1 fuel suction support to the fuel filter.
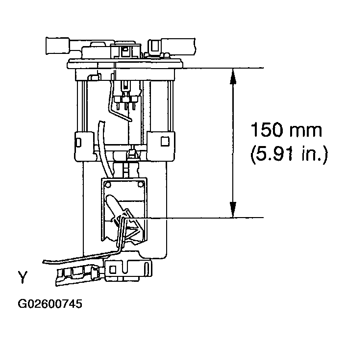
    3. Install the fuel sender gauge to the fuel pump filter so that the distance between the No. 1 fuel suction support and the float fulcrum of the fuel sender gauge is 150 mm (5.91 in.).
      Fig 3: Installing Fuel Sender Gauge To Fuel Pump Filter
      G02600745Courtesy of © TOYOTA, LICENSE AGREEMENT TMS1002
    4. Connect the fuel sender gauge connector and earth plate.
  5. INSTALL NO. 2 FUEL SUCTION SUPPORT 
    1. Install the rubber cushion.
    2. Install the No. 2 fuel suction support to the No. 1 fuel suction support.
  6. INSTALL VAPOR PRESSURE SENSOR 

    Install the vapor pressure sensor and connect the joint clip to the No. 1 fuel suction support.