lemon-mirror:
Home >> Toyota >> 2005 >> Land Cruiser >> Repair and Diagnosis >> Body & Frame >> Windows >> Power Window Control System >> Inspection

Power Window Control System: Inspection

  1. INSPECT POWER WINDOW MASTER SWITCH CIRCUIT 

    Check the voltage and continuity of each terminal of the wire harness side connector.

    Fig 1: Identifying Power Window Master Switch Harness Connector Terminals
    G03068852Courtesy of © TOYOTA, LICENSE AGREEMENT TMS1002
    POWER WINDOW MASTER SWITCH CIRCUIT TESTING

    Tester connection Condition Specified condition
    2 (GND) - Body ground Constant Continuity
    10 (BDR) - 2 (GND) Constant 10 - 14V
    9 (CPUB) - 2 (GND) Constant 10 - 14V
    20 (SIG) - 2 (GND) Ignition switch OFF --> ON 0V -> 10 - 14V
    1 (UP) - 11 (DN) Constant Continuity
    5 (LMT) - 13 (SGND) Driver door glass fully closed No continuity
    5 (LMT) - 13 (SGND) Driver door glass opened by 4 mm (1.06 in.) Continuity

    If the circuit is not as specified, inspect the circuits connected to other parts.

  2. INSPECT POWER WINDOW SWITCH CIRCUIT 

    Check the voltage and continuity of each terminal of the wire harness side connector.

    Fig 2: Identifying Power Window Switch Harness Connector Terminals
    G03068853Courtesy of © TOYOTA, LICENSE AGREEMENT TMS1002
    POWER WINDOW SWITCH CIRCUIT TESTING

    Tester connection Condition Specified condition
    7 (GND) - Body ground Constant Continuity
    12 (BDR) - 7 (GND) Constant 10 - 14V
    6 (UP) - 1 (DN) Constant Continuity
    3 (LMT) - 5 (SGND) Driver door glass fully closed No continuity
    3 (LMT) - 5 (SGND) Driver door glass opened by 4 mm (1.06 in.) Continuity

    If the circuit is not as specified, inspect the circuits connected to other parts.

  3. Driver's door and rear right door: 

    INSPECT POWER WINDOW MOTOR OPERATION 

    1. Connect the positive (+) lead from the battery to terminal 1 and the negative (-) lead to terminal 4, check that the motor turns counterclockwise.
      Fig 3: Testing Driver's Door Power Window Motor (Counterclockwise)
      G03068854Courtesy of © TOYOTA, LICENSE AGREEMENT TMS1002
    2. Reverse the polarity, check that the motor turns clockwise.

      If operation is not as specified, replace the motor.

      Fig 4: Testing Driver's Side Power Window Motor (Clockwise)
      G03068855Courtesy of © TOYOTA, LICENSE AGREEMENT TMS1002
  4. Passenger's door and rear left door: 

    INSPECT POWER WINDOW MOTOR OPERATION 

    1. Connect the positive (+) lead from the battery to terminal 4 and the negative (-) lead to terminal 1, check that the motor turns clockwise.
      Fig 5: Testing Passenger's Door Power Window Motor (Clockwise)
      G03068856Courtesy of © TOYOTA, LICENSE AGREEMENT TMS1002
    2. Reverse the polarity, check that the motor turns counterclockwise.

      If operation is not as specified, replace the motor.

      Fig 6: Testing Passenger's Door Power Window Motor (Counterclockwise)
      G03068857Courtesy of © TOYOTA, LICENSE AGREEMENT TMS1002
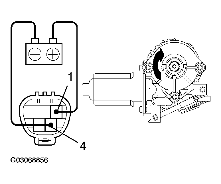
  5. INSPECT POWER WINDOW MOTOR PTC THERMISTOR OPERATION 
    1. Disconnect the connector from the power window motor.
    2. Connect the positive (+) lead from the ammeter to terminal 1 on the wire harness side connector and the negative (-) lead to negative terminal of the battery.
    3. Connect the positive (+) lead from the battery to terminal 4 on the wire harness side connector, and raise the window to the fully position.
      Fig 7: Testing Power Window Motor PTC Thermistor Operation (1 Of 2)
      G03068858Courtesy of © TOYOTA, LICENSE AGREEMENT TMS1002
    4. Continue to apply voltage and check that the current changes to less than 1 A within 4 to 90 seconds.
    5. Disconnect the leads from the terminals.
    6. Approximately 60 seconds later, connect the positive (+) lead from the battery to terminal 1 and the negative (-) lead to terminal 4, and check that the window begins to descend.

      If operation is not as specified, replace the motor.

      Fig 8: Testing Power Window Motor PTC Thermistor Operation (2 Of 2)
      G03068859Courtesy of © TOYOTA, LICENSE AGREEMENT TMS1002
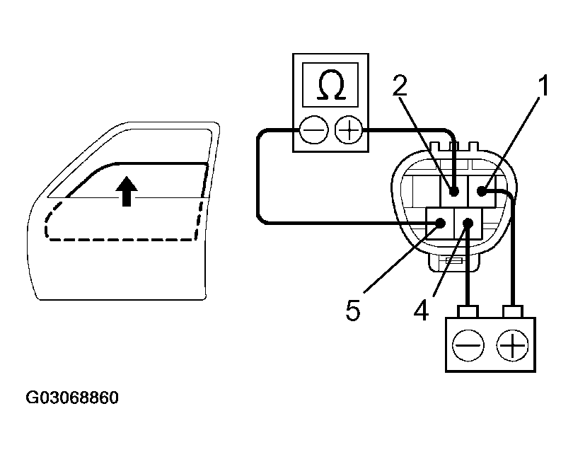
  6. INSPECT JAM PROTECTION LIMIT SWITCH OPERATION 
    1. Connect the positive (+) lead from the ohmmeter to terminal 2 and the negative (-) lead to terminal 5.
    2. Connect the positive (+) lead from the battery to terminal 1 and the negative (-) lead to terminal 4.
    3. Check that the continuity exists when the window goes up.
      Fig 9: Testing Jam Protection Limit Switch Operation (1 Of 2)
      G03068860Courtesy of © TOYOTA, LICENSE AGREEMENT TMS1002
    4. Check that the no continuity exists when the window is in the fully closed position.

      If operation is not as specified, replace the motor.

      NOTE: If connecting the wire harness wrongly, the sensor might be damaged so caution is necessary.
      Fig 10: Testing Jam Protection Limit Switch Operation (2 Of 2)
      G03068861Courtesy of © TOYOTA, LICENSE AGREEMENT TMS1002
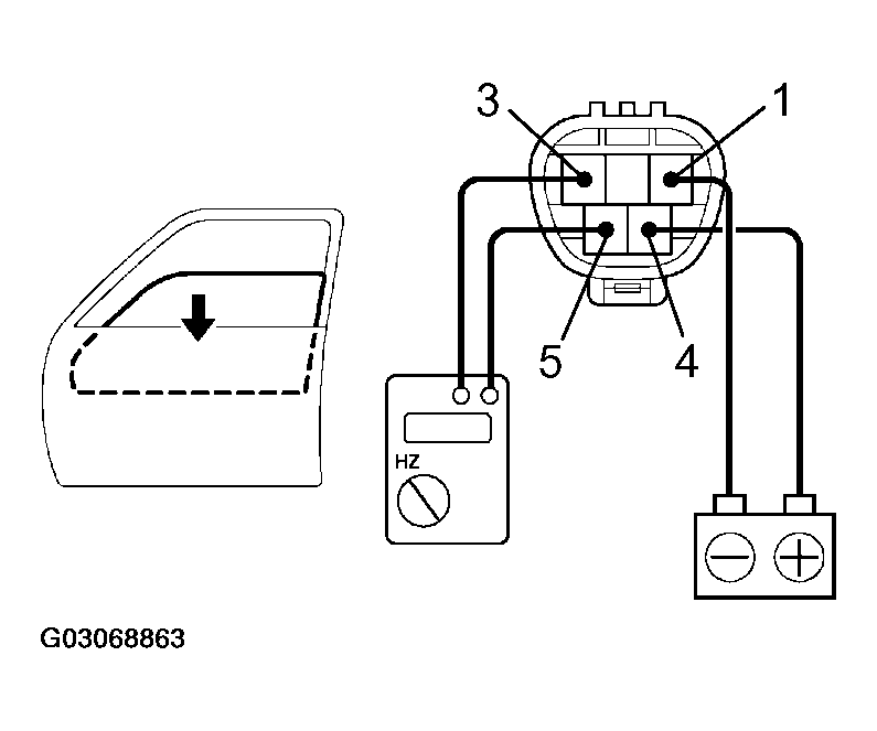
  7. INSPECT JAM PROTECTION PULSE SWITCH OPERATION 
    1. Connect the positive (+) lead from the TOYOTA electrical tester to terminal 3 and the negative (-) lead to terminal 5.
    2. Connect the positive (+) lead from the battery to terminal 1 and the negative (-) lead to terminal 4.
    3. Check that pulse is generated during the motor running.
      Fig 11: Testing Jam Protection Pulse Switch Operation (1 Of 2)
      G03068862Courtesy of © TOYOTA, LICENSE AGREEMENT TMS1002
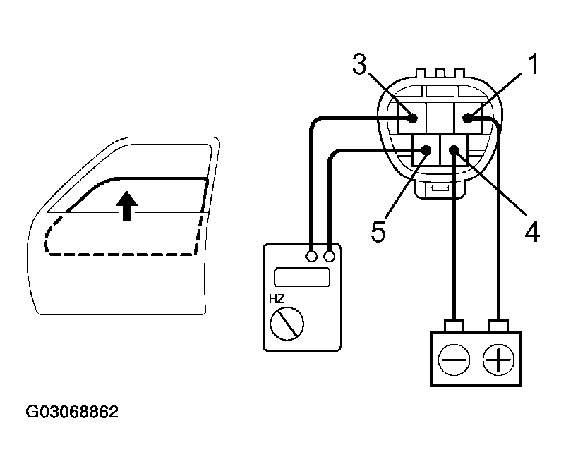
    4. Reverse the polarity and check that pulse is generated.

      If operation is not as specified, replace the motor.

      NOTE: If connecting the wire harness wrongly, the sensor might be damaged so caution is necessary.
      Fig 12: Testing Jam Protection Pulse Switch Operation (2 Of 2)
      G03068863Courtesy of © TOYOTA, LICENSE AGREEMENT TMS1002
  8. INSPECT JAM PROTECTION FUNCTION 
    NOTE: Never, ever be caught any part of your body when checking.

    HINT:

    In case of performing resetting of the limit switch, do checking after repeating up and down of the glass with automatic operation.

    1. Confirmation of AUTO up operation:

      Confirm that the window will be fully close with AUTO up operation.

    2. Checking of the operation of the jam protection function:
      1. Move up the window with AUTO up operation and check that the window will go down when it touches the handle of the hammer stetted.
      2. Confirm that the window will then stop going down about 200 mm.

        HINT:

        In case of removing the glass, glass guide, regulator and etc. be sure to perform checking of the jam protection function.

        If the jam protection is not function properly, adjust power window motor reset switch and pulse switch.