lemon-mirror:
Home >> Toyota >> 2005 >> Land Cruiser >> Repair and Diagnosis >> Body & Frame >> Windows >> Windshield >> Installation

Body & Frame: Windows: Windshield: Installation

  1. CLEAN AND SHAPE CONTACT SURFACE OF BODY 
    1. Using a knife, cut away any rough areas on the body.

      HINT:

      Leave as much adhesive on the body as possible.

    2. Clean the cutting surface of the adhesive with a piece of shop rag dampen with cleanser.
      Fig 1: Shaping Adhesive
      G03069166Courtesy of © TOYOTA, LICENSE AGREEMENT TMS1002
  2. CLEAN REMOVED GLASS 
    1. Remove the damaged stoppers and dams.
    2. Using a scraper, remove the adhesive sticking to the glass.
    3. Clean the glass with cleanser.
    NOTE:
    • Do not touch the glass surface after cleaning it.
    • Be careful not to damage the glass.
      Fig 2: Removing Adhesive From Glass
      G03069167Courtesy of © TOYOTA, LICENSE AGREEMENT TMS1002
  3. INSTALL NEW STOPPERS 

    Install new stoppers onto the glass.

    A: 9 mm (0.35 in.) 

    B: 25 mm (0.98 in.) 

    Fig 3: Stopper Locations
    G03069168Courtesy of © TOYOTA, LICENSE AGREEMENT TMS1002
  4. INSTALL NEW DAMS 

    Install new dams with adhesive tape as shown.

    A: 7 mm (0.28 in.) 

    B: 20 mm (0.79 in.) 

    NOTE: Do not touch the glass surface after cleaning it.
    Fig 4: Applying Adhesive To Glass
    G03069169Courtesy of © TOYOTA, LICENSE AGREEMENT TMS1002
  5. POSITION GLASS 
    1. Place the glass in the correct position.
    2. Check that all contacting parts of the glass rim are perfectly even.
    3. Place reference marks between the glass and the body.
    4. Remove the glass.
      Fig 5: Positioning Reference Marks
      G03069170Courtesy of © TOYOTA, LICENSE AGREEMENT TMS1002
  6. CLEAN CONTACT SURFACE OF GLASS 

    Using cleanser, clean the contact surface which is black-colored area around the entire glass rim.

    NOTE: Do not touch the glass surface after cleaning it.
    Fig 6: Cleaning Contact Surface
    G03069171Courtesy of © TOYOTA, LICENSE AGREEMENT TMS1002
  7. COAT CONTACT SURFACE OF BODY WITH PRIMER "M" 

    Using a brush, apply Primer M to the exposed part of the body on the vehicle side.

    NOTE:
    • Let the primer coating dry for more than 3 minutes.
    • Do not coat Primer M to the adhesive.
    • Do not keep remaining Primer M for later use.
      Fig 7: Coating Contact Surface Of Body With Primer
      G03069172Courtesy of © TOYOTA, LICENSE AGREEMENT TMS1002
  8. COAT CONTACT SURFACE OF GLASS WITH PRIMER "G" 
    1. Using a brush or sponge, coat the edge of the glass and the contact surface with Primer G.
    2. If the primer is coated wrongly to the area not specified by accident, wipe it off with a clean shop rag before the primer dries.
    NOTE:
    • Let the primer coating dry for more than 3 minutes.
    • Do not keep remaining Primer G for later use.
      Fig 8: Identifying Primer Area On Glass
      G03069173Courtesy of © TOYOTA, LICENSE AGREEMENT TMS1002
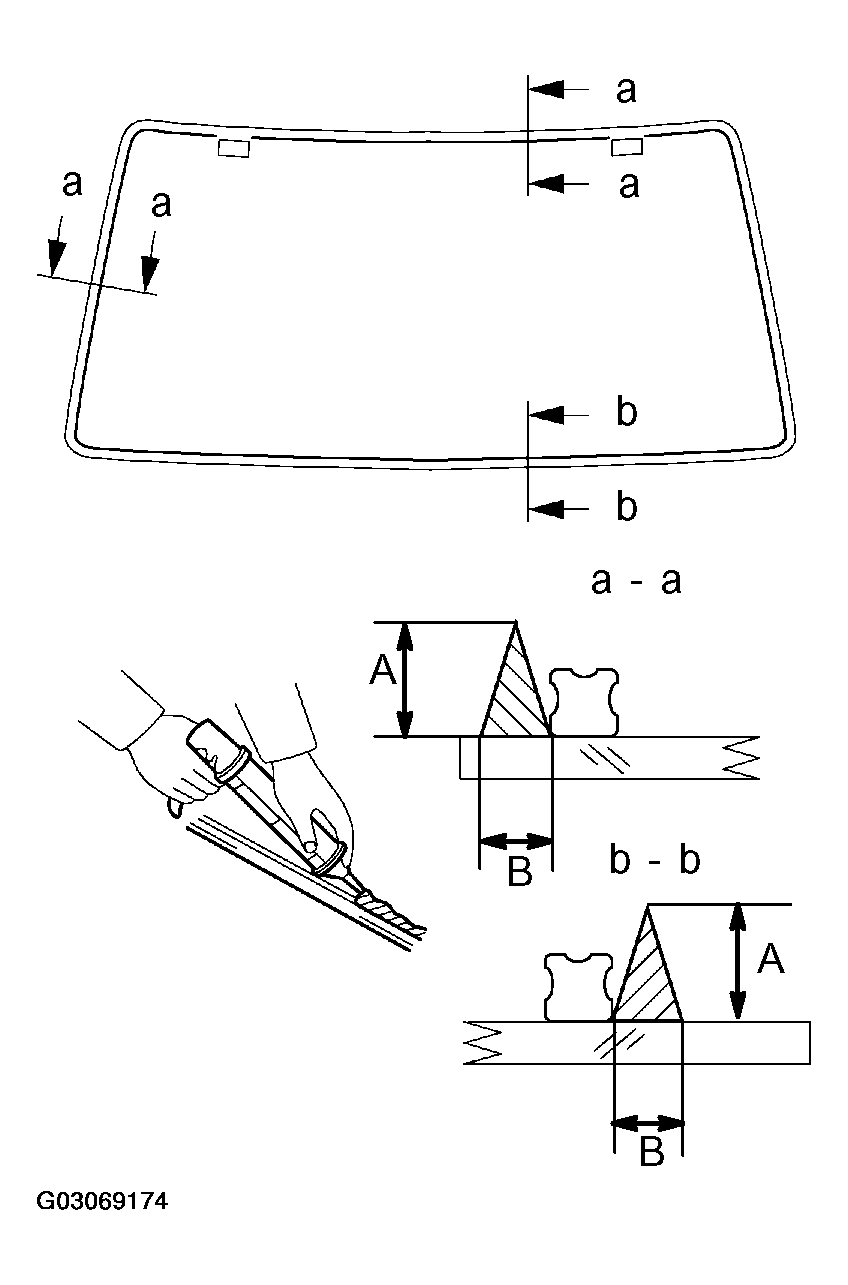
  9. APPLY ADHESIVE 
    1. Cut off the tip of the cartridge nozzle.

      Part No. 08850-00801 or equivalent. 

      HINT:

      After cutting off the tip, finish up all adhesive within the time described in TEMPERATURE AND TACKFREE TIME  .

      TEMPERATURE AND TACKFREE TIME

      Temperature Tackfree time
      35°C (95°F) 15 minutes
      20°C (68°F) 100 minutes
      5°C (41°F) 8 hours
    2. Load the cartridge into the sealer gun.
    3. Coat the glass with adhesive as shown.

      A: 12.0 mm (0.472 in.) 

      B: 8.0 mm (0.315 in.) 

      Fig 9: Applying Adhesive On Glass
      G03069174Courtesy of © TOYOTA, LICENSE AGREEMENT TMS1002
  10. INSTALL WINDSHIELD GLASS 
    1. Position the glass so that the reference marks are lined up, and press in gently along the rim.
    2. Using a spatula, apply adhesive on the glass rim.
      Fig 10: Installing Windshield Glass
      G03069175Courtesy of © TOYOTA, LICENSE AGREEMENT TMS1002
    3. Use a scraper to remove any excess or protruding adhesive.
      Fig 11: Removing Excess Adhesive
      G03069176Courtesy of © TOYOTA, LICENSE AGREEMENT TMS1002

      HINT:

      Make sure the dam is attached to the body panel, as shown.

    4. Hold the windshield glass in place securely with a protective tape or equivalent until the adhesive hardens.
      Fig 12: Checking For Proper Attachment
      G03069177Courtesy of © TOYOTA, LICENSE AGREEMENT TMS1002
    NOTE: Take care not to drive the vehicle within the time described in TEMPERATURE AND MINIMUM TIME PRIOR TO DRIVING THE VEHICLE  .
    TEMPERATURE AND MINIMUM TIME PRIOR TO DRIVING THE VEHICLE

    Temperature Minimum time prior to driving the vehicle
    35°C (95°F) 1.5 hours
    20°C (68°F) 5 hours
    5°C (41°F) 24 hours
  11. INSPECT FOR LEAK AND REPAIR 
    1. Conduct a leak test after the adhesive dried completely.
    2. Seal any leak with sealant.

      Part No. 08833-00030 or equivalent. 

  12. APPLY ADHESIVE TO MOLDING INSTALLATION AREA 

    Apply adhesive to the molding installation area between the glass and the body.

    Part No. 08833-00030 or equivalent. 

    Fig 13: Applying Adhesive To Molding Installation Area
    G03069178Courtesy of © TOYOTA, LICENSE AGREEMENT TMS1002
  13. INSTALL UPPER OUTSIDE MOLDING 

    Place a new molding onto the body and tap it by hand.

    Fig 14: Installing Upper Outside Molding
    G03069179Courtesy of © TOYOTA, LICENSE AGREEMENT TMS1002
  14. INSTALL OUTSIDE NO. 2 MOLDING 
    1. Using an air riveter with nose piece No. 4, install 4 new rivets and the outside No. 2 molding.

      HINT:

      Before using the air riveter with nose piece No. 4, cut 5 mm (0.20 in.) from the edge of nose piece No. 4 as shown.

      Fig 15: Outside No. 2 Molding Rivet Locations
      G03069180Courtesy of © TOYOTA, LICENSE AGREEMENT TMS1002
      NOTE:
      • Do not prize a riveter. It could damage the riveter and cause loose fitting and mandrel bend.
        Fig 16: Incorrect Rivet Installation (1 Of 3)
        G03069181Courtesy of © TOYOTA, LICENSE AGREEMENT TMS1002
      • Do not tilt the riveter when fasten the rivet to the material to avoid loose fitting.
      • Do not allow gap spacing between the rivet head and the material.
        Fig 17: Incorrect Rivet Installation (2 Of 3)
        G03069182Courtesy of © TOYOTA, LICENSE AGREEMENT TMS1002
      • Do not allow gap spacing between the materials.
        Fig 18: Incorrect Rivet Installation (3 Of 3)
        G03069183Courtesy of © TOYOTA, LICENSE AGREEMENT TMS1002
    2. Use the same manner described above to the other side.
  15. INSTALL COWL TOP VENTILATOR LOUVERS 
    1. Install the cowl top ventilator louver LH.
    2. Install the cowl top ventilator louver RH.
  16. INSTALL HOOD TO COWL TOP SEAL 
  17. INSTALL WIPER ARMS 
    1. Operate the wiper motor once and turn the wiper switch OFF.
    2. Install the wiper arms and tighten the nuts by hand.
    3. Adjust the installation positions of the wiper arms to the positions as shown.

      A : Approx. 33 mm (1.30 in.) 

      B : Approx. 21 mm (0.83 in.) 

    4. Torque the nuts.

      Torque: 20 N.m (204 kgf.cm, 15 ft.lbf) 

    5. Install the 2 wiper arm head caps.
      Fig 19: Measuring Wiper Arm Position
      G03069184Courtesy of © TOYOTA, LICENSE AGREEMENT TMS1002
  18. INSTALL INNER REAR VIEW MIRROR 
    1. Install the inner rear view mirror with the 2 screws.
    2. Connect the connector.
    3. Fig 20: Locating Inner Rear View Mirror Screws
      G03069185Courtesy of © TOYOTA, LICENSE AGREEMENT TMS1002
  19. INSTALL FRONT SIDE OF ROOF HEADLINING 
  20. INSTALL ASSIST GRIPS 
  21. INSTALL OVERHEAD CONSOLE BOX 

    Connect the connector, then install the overhead console box with the bolt.

  22. INSTALL HOLDER 

    Install the holders with the screws.

  23. INSTALL DOUBLE VISOR 

    Install the double visors with the screws.

  24. INSTALL SUN VISOR 
    1. Install the sun visors with the screws, then connect the connectors.
    2. Install the caps.
  25. INSTALL FRONT PILLAR GARNISH 
    1. Install the front pillar garnish.
    2. Use the same manner described above to the other side.
    3. Fig 21: Front Pillar Garnish
      G03069186Courtesy of © TOYOTA, LICENSE AGREEMENT TMS1002
  26. INSTALL FRONT ASSIST GRIP 
    1. Install the front assist grip with the 2 screws, then install the 2 assist grip plugs.
    2. Use the same manner described above to the other side.
  27. INSTALL FRONT DOOR OPENING TRIMS