lemon-mirror:
Home >> Toyota >> 2005 >> Land Cruiser >> Repair and Diagnosis >> Electrical >> Gauges >> Combination Meter >> Inspection

Combination Meter: Inspection

  1. INSPECT COMBINATION METER CIRCUIT 

    Connect the connector "A", "B", "C" and "D" to the combination meter and inspect the wire harness side connectors from the back side as shown.

    Fig 1: Identifying Combination Meter Wire Harness Side Connectors
    G03068828Courtesy of © TOYOTA, LICENSE AGREEMENT TMS1002
    COMBINATION METER WIRE HARNESS SIDE CONNECTORS VOLTAGE SPECIFICATIONS

    Tester connection Condition Specified condition
    A1 (CHG+) - Ground Ignition switch OFF Below 1 V
    A1 (CHG+) - Ground Ignition switch ON 10 - 14 V
    A4 (BEAM-) - Ground IG switch ON, light control switch ON Below 1 V
    A5 (TURN-R) - Ground Ignition switch ON and turn signal switch OFF or LEFT Below 1 V
    A5 (TURN-R) - Ground Ignition switch ON and turn signal switch RIGHT 10 - 14 V
    A6 (BEAM+) - Ground IG switch ON, light control switch OFF Below 1 V
    A6 (BEAM+) - Ground IG switch ON, light control switch ON 10 - 14 V
    A7 (TURN-L) - Ground Ignition switch ON and turn signal switch OFF or RIGHT Below 1 V
    A7 (TURN-L) - Ground Ignition switch ON and turn signal switch LEFT 10 - 14 V
    A8 (DOOR-) - Ground Either door is opened Below 1 V
    A8 (DOOR-) - Ground Either door is closed 10 - 14 V
    A19 (ABS) - Ground Ignition switch ON and ABS warning light lights up Below 1 V
    A19 (ABS) - Ground Ignition switch ON and ABS warning light does not light up 10 - 14 V
    B1 (CHECK E/G) - Ground Ignition switch ON and engine is stopped Below 1 V
    B1 (CHECK E/G) - Ground Ignition switch ON and engine is running 10 - 14 V
    B4 (CTR DIFF/4WD) - Ground Ignition switch ON and center diff. lock switch OFF Below 1 V
    B4 (CTR DIFF/4WD) - Ground Ignition switch ON and center diff. lock switch ON 10 - 14 V
    B5 (SLIP) - Ground IG switch ON, SLIP warning light ON Below 1.5 V
    B5 (SLIP) - Ground IG switch ON, SLIP warning light OFF 10 - 14 V
    B6 (VSC TRC) - Ground IG switch ON, off road TRC indicator light ON Below 1.5 V
    B6 (VSC TRC) - Ground IG switch ON, off road TRC indicator light OFF 10 - 14 V
    B7 (VSC OFF) - Ground IG switch ON, VSC OFF indicator light ON Below 1.5 V
    B7 (VSC OFF) - Ground IG switch ON, VSC OFF indicator light OFF 10 - 14 V
    B8 (ACTIVE TRC) - Ground IG switch ON, TRC OFF indicator light ON Below 1.5 V
    B8 (ACTIVE TRC) - Ground IG switch ON, TRC OFF indicator light OFF 10 - 14 V
    B9 (RSCA OFF) - Ground IG switch ON, RSCA warning light ON Below 2.0 V
    B9 (RSCA OFF) - Ground IG switch ON, RSCA warning light OFF 10 - 14 V
    B12 (Fr DIFF) - Ground Ignition switch ON and front diff. lock switch OFF Below 1 V
    B12 (Fr DIFF) - Ground Ignition switch ON and front diff. lock switch ON 10 - 14 V
    B13 (Rr DIFF) - Ground Ignition switch ON and rear diff. lock switch OFF Below 1 V
    B13 (Rr DIFF) - Ground Ignition switch ON and rear diff. lock switch ON 10 - 14 V
    B18 (ILL+) - Ground IG switch OFF Below 1 V
    B18 (ILL+) - Ground IG switch ON 10 - 14 V
    C1 (T/M PULSE) - Ground Engine is Running Pulse generation
    C4 (OIL PRS SDR) - Ground Ignition switch ON and indicator ON Below 1 V
    C4 (OIL PRS SDR) - Ground Ignition switch ON and indicator OFF 10 - 14 V
    C7 (AIR BAG-) - Ground Ignition switch ON and ABS indicator light lights up Below 1 V
    C7 (AIR BAG-) - Ground Ignition switch ON and ABS indicator does not light up 10 - 14 V
    C11 (BRAKE) - Ground Ignition switch ON and indicator ON Below 1 V
    C11 (BRAKE) - Ground Ignition switch ON and indicator OFF 10 - 14 V
    C13 (PKB SW) - Ground Ignition switch ON and parking brake lever is pulled Below 1 V
    C13 (PKB SW) - Ground Ignition switch ON and parking brake lever is released 10 - 14 V
    C19 (ABS BZ) - Ground Ignition switch ON and ABS is error Below 1 V
    C19 (ABS BZ) - Ground Ignition switch ON and ABS is normal 10 - 14 V
    C20 (D-BKL SW) - Ground Ignition switch ON and seat belt is unfastened 10 - 14 V
    C20 (D-BKL SW) - Ground Ignition switch ON and seat belt is fastened Below 1 V
    D1 (IGN+) - Ground Ignition switch OFF Below 1 V
    D1 (IGN+) - Ground Ignition switch ON 10 - 14 V
    D2 (ECU-B2) - Ground Constant 10 - 14 V
    D3 (ACC+) - Ground Ignition switch OFF Below 1 V
    D3 (ACC+) - Ground Ignition switch ACC or ON 10 - 14 V
    D4 (DOOR+) - Ground Constant 10 - 14 V
    D5 (SP IN) - Ground Ignition switch ON and slowly move the wheel Pulse signal is output below 1.5 V <-> battery positive voltage
    D6 (4P OUT) - Ground Ignition switch ON and slowly move the wheel Pulse signal is output below 1.5 V <-> aprox. 5 V or below 1.5 V <-> battery positive voltage
    D11 (E/G EARTH) - Ground Constant Continuity
    D12 (MAIN FE) - Ground Constant Continuity
    D14 (MAIN FV) - Ground Ignition switch ON 4.5 - 5.5 V
    D16 (MAIN FR) - Ground Ignition switch ON and fuel sender gauge float UP Approx. 0.5 V
    D16 (MAIN FR) - Ground Ignition switch ON and fuel sender gauge float DOWN Approx. 5.5 V
    D17 (ILL-) - Ground Ignition switch ON and light control rheostat volume minimum Below 1 V
    D17 (ILL-) - Ground Ignition switch ON and light control rheostat volume maximum 10 - 14 V
    D19 (KEY SW) - Ground Key unlock warning switch ON (Key is inserted) Below 1 V
    D19 (KEY SW) - Ground Key unlock warning switch OFF (Key is removed) 10 - 14 V
    D20 (D-CTY SW) - Ground Ignition switch ON and driver door is opened Below 1 V
    D20 (D-CTY SW) - Ground Ignition switch ON and driver door is closed 10 - 14 V

    If circuit is not as specified, wiring diagram and inspect the circuits connected to other parts.

  2. INSPECT SPEEDOMETER/ ON-VEHICLE 

    Using a speedometer tester, inspect the speedometer for allowable indication error and check the operation of the odometer.

    HINT:

    Tire wear and tire over or under inflation will increase the indication error.

    SPEEDOMETER STANDARD INDICATION

    USA (mph) CANADA (km/h)
    Standard indication Allowable range Standard indication Allowable range
    20 18 - 24 20 17 - 24
    40 38 - 44 40 38 - 46
    60 56 - 66 60 57.5 - 67
    80 78 - 88 80 77 - 88
    100 98 - 110 100 96 - 109
    120 118 - 132 120 115 - 130
    - - 140 134 - 151.5
    - - 160 153 - 173

    If error is excessive, replace the speedometer.

  3. INSPECT SPEEDOMETER RESISTANCE 
    1. While driving the vehicle at the speed of 10 km/h, check the voltage between the terminals 6 and 11 of the combination meter assy.

      STANDARD: Fluctuation between 10 to 14V or less is repeated 7 times within 1 sec. 

      Fig 2: Identifying Terminals 6 & 11 Of Combination Meter Connector "D"
      G03068829Courtesy of © TOYOTA, LICENSE AGREEMENT TMS1002
  4. INSPECT VEHICLE SPEED SENSOR OPERATION 
    1. Connect the positive (+) lead from the battery to terminal 1 and negative (-) lead to terminal 2.
    2. Connect the positive (+) lead from the tester to terminal 3 and the negative (-) lead to terminal 2.
    3. Rotate the shaft.
    4. Check that there is voltage change from approx. 0 V to 11 V or more between terminals 2 and 3.

      HINT:

      The voltage change should be performed 4 times for every revolution is not as specified, replace the sensor.

      Fig 3: Identifying Vehicle Speed Sensor Connector Terminals
      G03068830Courtesy of © TOYOTA, LICENSE AGREEMENT TMS1002
  5. INSPECT TACHOMETER/ON-VEHICLE 
    1. Connect a tune-up test tachometer, and start the engine.
      NOTE:
      • Reversing the connection of the tachometer will damage the transistors and diodes inside.
      • When removing or installing the tachometer, be careful not to drop or subject it to heavy shocks.
    2. Compare the tester and tachometer indications.

      DC 13.5 V 25°C at (77°F): 

      TACHOMETER STANDARD INDICATIONS AND ALLOWABLE RANGE

      Standard indication Allowable range
      700 630 - 770
      1,000 900 - 1,100
      2,000 1,850 - 2,150
      3,000 2,800 - 3,200
      4,000 3,800 - 4,200
      5,000 4,800 - 5,200
      6,000 5,750 - 6,250
      7,000 6,700 - 7,300
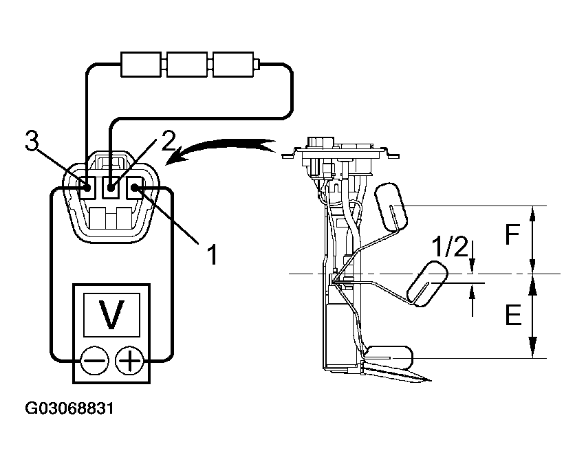
  6. INSPECT FUEL SENDER GAUGE RESISTANCE 
    1. Apply voltage between terminals 2 and 3.
    2. Measure voltage between terminals 1 and 2 for each float position.
      FUEL SENDER GAUGE VOLTAGE SPECIFICATIONS

      Float position mm (in.) Voltage (V)
      F: Approx. 85.3 (3.36) Approx. 4.60 +/- 0.1
      1/2: Approx. 1.7 (0.67) Approx. 2.45 +/- 0.1
      E: Approx. 91.9 (3.62) Approx. 0.30 +/- 0.1
      Fig 4: Inspecting Fuel Sender Gauge Voltage
      G03068831Courtesy of © TOYOTA, LICENSE AGREEMENT TMS1002

      If voltage value is not as specified, replace main sender gauge.

  7. INSPECT LOW OIL PRESSURE WARNING LIGHT 
    1. Disconnect the connector from the low oil pressure switch.
    2. Turn the ignition switch ON.
    3. Connect the terminal of wire harness side connector and ground, then check the warning light.
  8. INSPECT PARKING BRAKE WARNING LIGHT 
    1. Disconnect the connector from the parking brake switch and ground terminal on the wire harness side connector.
    2. Turn the ignition switch ON and check that the warning light lights up.
  9. INSPECT BRAKE WARNING LIGHT 
    1. Disconnect the connector from the brake fluid level warning switch and ground terminal on the wire harness side connector.
    2. Turn the ignition switch ON and check that the warning light lights up.
  10. INSPECT BRAKE FLUID LEVEL WARNING SWITCH 
    1. Remove the reservoir tank cap and retainer.
    2. Disconnect the connector.
    3. Check that the continuity exists between the terminal.
    4. Use syphon, etc., to take fluid out of the reservoir tank.
    5. Check that the continuity exists between terminals.
    6. Pour the fluid back in the reservoir tank.
  11. INSPECT OPEN DOOR WARNING LIGHT 
    1. Disconnect the connector from the driver door courtesy switch and ground terminal on the wire harness side connector.
    2. Turn the ignition switch ON and check that the warning light lights up.
  12. INSPECT SEAT BELT WARNING BUZZER 
    1. Disconnect the connector from the combination meter.
    2. Connect the positive (+) lead from the battery terminal 2 and negative (-) lead terminal 11.
    3. Check that the buzzer stop after 4 to 8 seconds.
    4. Check that the buzzer stops when connecting the terminal 20 to the GND.
      Fig 5: Identifying Connector "C" & "D" Terminals
      G03068832Courtesy of © TOYOTA, LICENSE AGREEMENT TMS1002
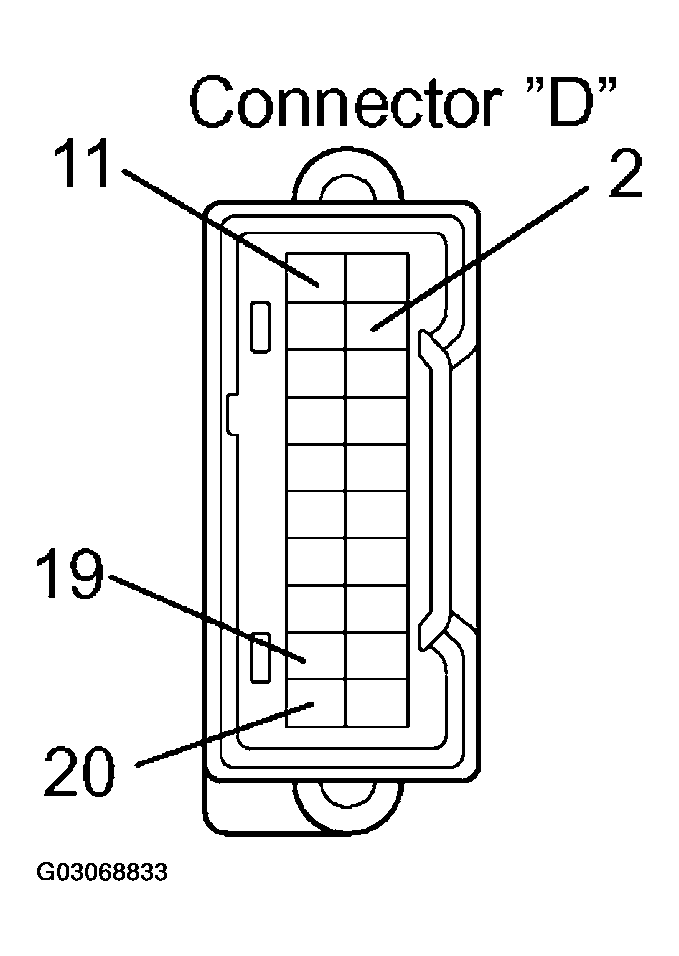
  13. INSPECT KEY UNLOCK WARNING BUZZER 
    1. Disconnect the connector from the combination meter.
    2. Connect the positive (+) lead from the battery terminal 2 and negative (-) lead terminal 11.
    3. Connect the negative (-) lead from battery terminal 19 and 20, check that the buzzer sound.
      Fig 6: Identifying Connector "D" Terminals
      G03068833Courtesy of © TOYOTA, LICENSE AGREEMENT TMS1002
  14. INSPECT SEAT BELT WARNING LIGHT 
    1. Disconnect the connector from the seat belt buckle switch and ground terminal on the wire harness side connector.
    2. Turn the ignition switch ON and check that the warning light lights up.
  15. INSPECT SEAT BELT BUCKLE SWITCH CONTINUITY 
    SEAT BELT BUCKLE SWITCH CONTINUITY CHECKING REFERENCE

    - Tester connection Belt fastened (Belt unfastened)
    Seat belt buckle SW (D) 1 - 4 ON (OFF)
    Seat belt buckle SW (P) 2 - 4 OFF (ON)

    If operation is not as specified, replace the switch.

    Fig 7: Inspecting Seat Belt Buckle Switch
    G03068834Courtesy of © TOYOTA, LICENSE AGREEMENT TMS1002
  16. INSPECT SEAT BELT BUCKLE SWITCH CIRCUIT 

    Disconnect the switch connector and inspect the connector on wire harness side, as shown.

    Fig 8: Identifying Seat Belt Buckle Switch Connector Terminals (Harness Side)
    G03068835Courtesy of © TOYOTA, LICENSE AGREEMENT TMS1002
    SEAT BELT BUCKLE SWITCH CONTINUITY CONDITIONS

    Tester connection Condition Specified condition
    4 - Ground Constant Continuity

    If continuity is not as specified, inspect the circuits connected to other parts.

  17. Passenger seat only: 

    INSPECT SEAT BELT WARNING OCCUPANT DETECTION SENSOR CONTINUITY 

    Check that continuity exists between the terminals 1 and 2 when pressing the sensing part.

    If operation is not as specified, replace the sensor.

    Fig 9: Inspecting Seat Belt Warning Occupant Detection Sensor
    G03068836Courtesy of © TOYOTA, LICENSE AGREEMENT TMS1002
  18. INSPECT LIGHT CONTROL RHEOSTAT 
    1. Turn the rheostat knob OFF, and check the there is no continuity between terminal 5 and 4 (Rheostat knob turned to fully counterclockwise).
    2. Gradually, turn the rheostat knob from the dark side to bright side, and check that there is continuity between terminal 5 and 4 (Rheostat knob turned to clockwise).

      If operation is not as specified, replace the rheostat.

      Fig 10: Identifying Light Control Rheostat Terminals
      G03068837Courtesy of © TOYOTA, LICENSE AGREEMENT TMS1002
  19. INSPECT INCLINATION SENSOR 
    1. With the combination meter in which the inclination sensor installed, connect the battery plus to the 1 terminal (IGN+) of the meter connector, and battery minus to the 11 terminal (E/G EARTH).
    2. Check whether or not the voltage is 5V between the Vcc and the GND terminals of the inclination sensor connector.
    3. Check the voltage between the OUT and the GND terminals when the inclination sensor is in level position and when it is inclined backward and forward.

      Standard Value: 

      Sensor in level position about 4.5V 

      Sensor inclined about 0.5V 

      Fig 11: Inspecting Inclination Sensor
      G03068838Courtesy of © TOYOTA, LICENSE AGREEMENT TMS1002