lemon-mirror:
Home >> Toyota >> 2005 >> Matrix Base, 4WD >> Repair and Diagnosis >> Suspension >> Wheel Alignment >> Front Suspension System >> Front Shock Absorber With Coil Spring >> Disposal

Front Shock Absorber With Coil Spring: Disposal

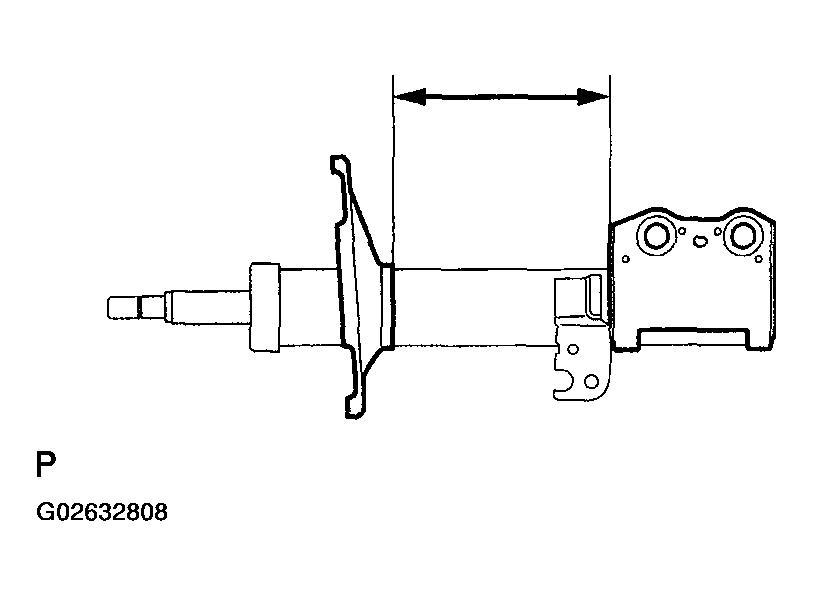
  1. DISPOSE OF SHOCK ABSORBER ASSY FRONT LH 
    1. Fully extend the shock absorber piston rod.
    2. Using a drill, make a hole in the cylinder as shown in the illustration to discharge the gas inside.
    CAUTION:
    • When drilling, chips may fly out, work carefully.
    • The gas is colorless, odorless and non-poisonous.
    Fig 1: Identifying Area In Cylinder For Drilling Hole
    G02632808Courtesy of © TOYOTA, LICENSE AGREEMENT TMS1002