lemon-mirror:
Home >> Toyota >> 2005 >> Prius >> Repair and Diagnosis >> Body & Frame >> Ignition Switch/Steering Lock >> Push Button Start System - Diagnostics >> System Diagram

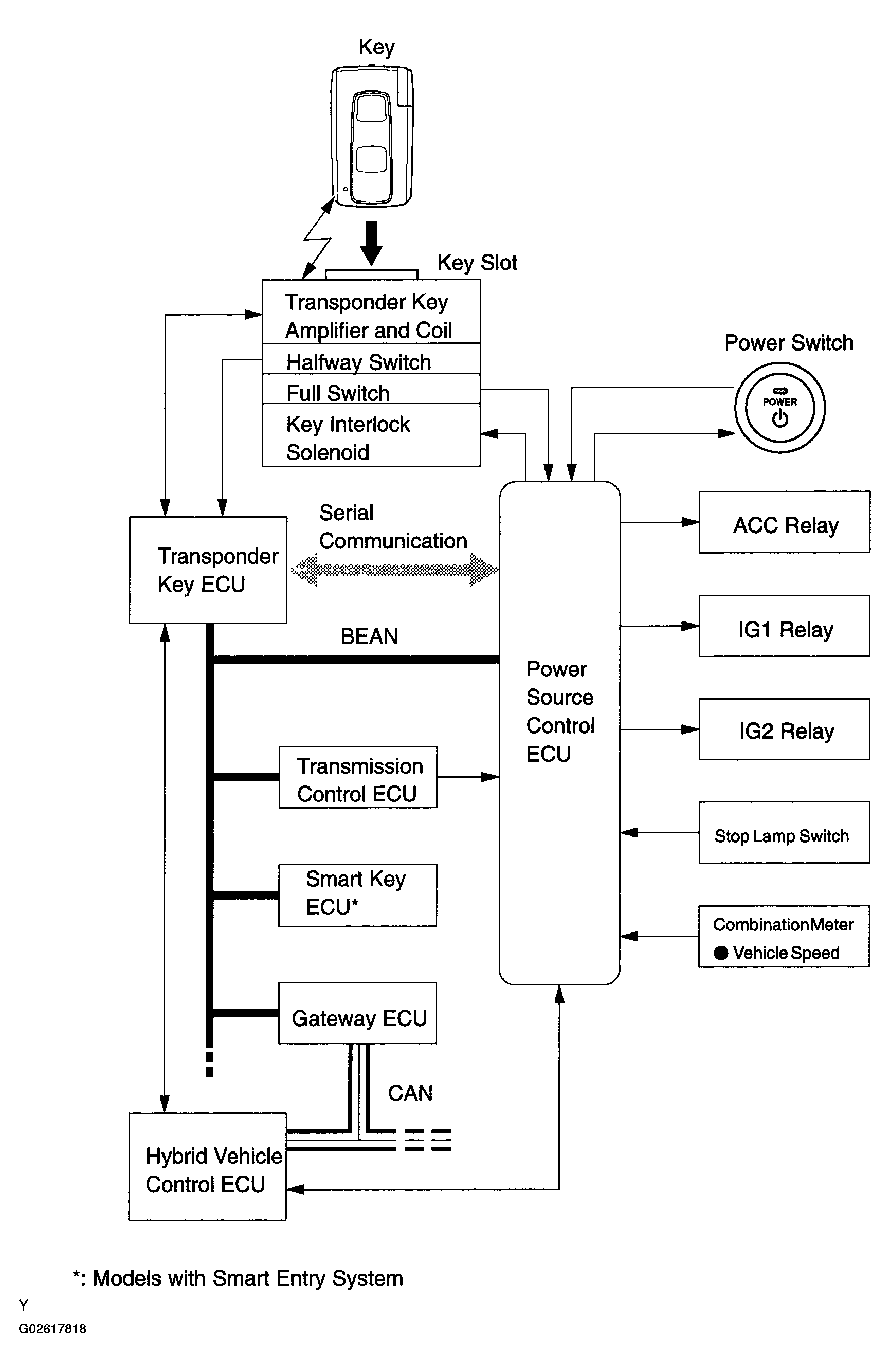
System Diagram

Fig 1: Push Button Start System - System Diagram
G02617818Courtesy of © TOYOTA, LICENSE AGREEMENT TMS1002
Fig 2: System Diagram Reference Chart
G02617819Courtesy of © TOYOTA, LICENSE AGREEMENT TMS1002