lemon-mirror:
Home >> Toyota >> 2005 >> Prius >> Repair and Diagnosis >> Body & Frame >> Windows >> Power Window - Diagnostics >> Inspection

Power Window - Diagnostics: Inspection

  1. INSPECT POWER WINDOW REGULATOR MASTER SWITCH ASSY 
    1. Measure the resistance of the switch when the switch is operated.
      Fig 1: Inspecting Power Window Regulator Master Switch Assembly
      G02617431Courtesy of © TOYOTA, LICENSE AGREEMENT TMS1002

      Standard: 

      Driver switch 

      TESTER CONNECTION SPECIFIED CONDITION (DRIVER SWITCH)

      Window Lock Switch Condition Power Window Switch Condition Tester Connection Specified Condition
      Always (ON/OFF) UP 1-9 4-7 Below 1 Ω
      Always (ON/OFF) AUTO UP 1-9 4-7 Below 1 Ω
      Always (ON/OFF) OFF 1-4 1-9 Below 1Ω
      Always (ON/OFF) DOWN 1-4 7-9 Below 1 Ω
      Always (ON/OFF) AUTO DOWN 1-4 7-9 Below 1 Ω

      Passenger switch 

      TESTER CONNECTION SPECIFIED CONDITION (PASSENGER SWITCH)

      Window Lock Switch Condition Power Window Switch Condition Tester Connection Specified Condition
      OFF UP 1-15 6-13 Below 1 Ω
      OFF OFF 1-13 1-15 Below 1 Ω
      OFF DOWN 1-13 6-15 Below 1 Ω
      ON UP 1-15 6-13 10 kΩ or higher Below 1 Ω
      ON OFF 13-15 Below 1 Ω
      ON DOWN 1-13 6-15 10 kΩ or higher Below 1 Ω

      Rear LH switch 

      TESTER CONNECTION SPECIFIED CONDITION (REAR LH SWITCH)

      Window Lock Switch Condition Power Window Switch Condition Tester Connection Specified Condition
      OFF UP 1-10 6-12 Below 1 Ω
      OFF OFF 1-12 1-10 Below 1Ω
      OFF DOWN 1-12 6-10 Below 1 Ω
      ON UP 1-10 6-12 10 kΩ or higher Below 1Ω
      ON OFF 12-10 Below 1 Ω
      ON DOWN 1-12 6-10 10 kΩ or higher Below 1 Ω

      Rear RH switch 

      TESTER CONNECTION SPECIFIED CONDITION (REAR RH SWITCH)

      Window Lock Switch Condition Power Window Switch Condition Tester Connection Specified Condition
      OFF UP 1-16 6-18 Below 1 Ω
      OFF OFF 1-18 1-16 Below 1 Ω
      OFF DOWN 1-18 6-16 Below 1 Ω
      ON UP 1-16 6-18 10 kΩ or higher Below 1 Ω
      ON OFF 18-16 Below 1 Ω
      ON DOWN 1-18 6-16 10 kΩ or higher Below 1Ω

      If the result is not as specified, replace the master switch assy.

    2. Apply battery voltage to the master switch and check that the AUTO lamp illuminates.

      OK: 

      Fig 2: Measurement Condition Chart
      G02617432Courtesy of © TOYOTA, LICENSE AGREEMENT TMS1002

      If the result is not as specified, replace the master switch assy.

      Fig 3: Identifying Master Switch And Auto Lamp
      G02617433Courtesy of © TOYOTA, LICENSE AGREEMENT TMS1002
  2. INSPECT POWER WINDOW REGULATOR SWITCH ASSY (FRONT RH, REAR LH and REAR RH) 
    1. Measure the resistance of the switch when the switch is operated.

      Standard: 

      TESTER CONNECTION SPECIFIED CONDITION

      Tester Connection Switch Condition Specified Condition
      1-2 3-4 UP Below 1 Ω
      1-2 3-5 OFF Below 1 Ω
      1-4 3-5 DOWN Below 1Ω

      If the result is not as specified, replace the regulator switch assy.

      Fig 4: Identifying Inspect Power Window Regulator Switch Assembly
      G02617434Courtesy of © TOYOTA, LICENSE AGREEMENT TMS1002
  3. INSPECT POWER WINDOW REGULATOR MOTOR ASSY 
    1. Check motor operation of the regulator motor.

      HINT:

      • The front LH and rear LH regulator motors should be inspected using the same procedure.
      • The front RH and rear RH regulator motors should be inspected using the same procedure.
      1. Remove the power window regulator motor (SEE OVERHAUL , and 75-22).
      2. Apply battery voltage to the motor terminals.
        NOTE: Do not apply voltage to the terminals except 1 and 2. 
      3. Check that the motor operates smoothly.

      OK: 

      Front LH and rear LH 

      Fig 5: Checking Motor Operation Of The Regulator Motor (Front LH And Rear LH)
      G02617435Courtesy of © TOYOTA, LICENSE AGREEMENT TMS1002

      Front RH and rear RH 

      Fig 6: Checking Position (Front RH And Rear RH)
      G02617436Courtesy of © TOYOTA, LICENSE AGREEMENT TMS1002

      If the result is not as specified, replace the motor assy.

      Fig 7: Inspecting Power Window Relay
      G02617437Courtesy of © TOYOTA, LICENSE AGREEMENT TMS1002
    2. Check the PTC operation inside the regulator motor.
      NOTE: The work must be performed with the power window regulator and door glass installed in the vehicle. 
      1. Disconnect the power window regulator motor.
      2. Connect the ammeter's positive (+) lead to terminal 2 of the wire harness side connector and the negative (-) lead to the battery's negative (-) terminal.
      3. Connect the battery's positive (+) lead to terminal 1 of the wire harness side connector, and raise the window to the fully closed position.
      4. Continue to apply voltage, and check that the current changes to less than 1 A within 4 to 90 seconds.
      5. Disconnect the leads from the terminals.
      6. Approximately 60 seconds later, connect the battery's positive (+) lead to terminal 2 and the negative (-) lead to terminal 1, and check that the window begins to lower.

      If the result is not as specified, replace the motor assy.

      Fig 8: Identifying Door Glass In Fully Closed Position
      G02617438Courtesy of © TOYOTA, LICENSE AGREEMENT TMS1002
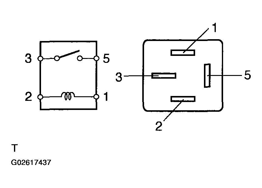
  4. INSPECT RELAY (Marking: IG1) 
    1. Remove the IG1 relay from the instrument panel J/B.
    2. Measure the resistance of the relay.

      Standard: 

      TESTER CONNECTION SPECIFIED CONDITION

      Tester Connection Specified Condition
      3-5 10 kΩ or higher
      3-5 Below 1 Ω (when battery voltage is applied to terminals 1 and 2)

      If the result is not as specified, replace the relay.

      Fig 9: Inspecting Relay
      G02617439Courtesy of © TOYOTA, LICENSE AGREEMENT TMS1002