lemon-mirror:
Home >> Toyota >> 2005 >> Prius >> Repair and Diagnosis >> Suspension >> Wheel Alignment >> Front Suspension System >> Front Wheel Alignment >> Adjustment

Front Wheel Alignment: Adjustment

  1. INSPECT TIRE (SEE  WHEEL AND TIRE SYSTEM  ) 
    Fig 1: Measuring Tire Height
    G02591194Courtesy of © TOYOTA, LICENSE AGREEMENT TMS1002
  2. MEASURE VEHICLE HEIGHT 

    Vehicle height: 

    VEHICLE HEIGHT SPECIFICATION

    Front (A - B) 95 mm (3.74 in.)
    Rear (D - C) 62 mm (2.44 in.)

    Measuring points: 

    1. Ground clearance of front wheel center 
    2. Ground clearance of lower arm No.1 set bolt center 
    3. Ground clearance of rear axle carrier bush set bolt center 
    4. Ground clearance of rear wheel center 
    NOTE: Before inspecting the wheel alignment, adjust the vehicle height to the specified value. 

    HINT:

    Bounce the vehicle at the corners up and down to stabilize the suspension and inspect the vehicle height.

    Fig 2: Identifying Toe In
    G02591195Courtesy of © TOYOTA, LICENSE AGREEMENT TMS1002
  3. INSPECT TOE-IN 

    Toe-in: 

    TOE-IN SPECIFICATION

    Toe-in (total) A+B:0° +/- 12' (0° +/- 0.2°) C - D: 0 +/- 2 mm (0 +/- 0.08 in.)

    HINT:

    • Measure "C-D" only when "A+B" can not be measured.
    • If toe-in is not within the specified range, adjust it at the rack ends.
  4. ADJUST TOE-IN 
    1. Measure the thread lengths of the right and left rack ends.

      Standard: Difference in thread length of 1.5mm or less 

    2. Remove the rack boot set clips.
    3. Loosen the tie rod end lock nuts.
    4. Adjust the rack ends if the difference in thread length between the right and left rack ends is not within the specified range.
      1. Extend the shorter rack end if the measured toe-in deviates toward the outer-side.
      2. Shorten the longer rack end if the measured toe-in deviates toward the inner-side.
    5. Turn the right and left rack ends by an equal amount to adjust toe-in.

      HINT:

      Try to adjust toe-in to the center of the specified range.

    6. Make sure that the lengths of the right and left rack ends are the same.

      Standard: 0 +/- 1mm 

    7. Torque the tie rod end lock nuts.

      Torque: 74 N.M (749 kgf.cm, 54 ft.lbf) 

      NOTE: Temporarily tighten the lock nut while holding the hexagonal part of the steering rack end so that the lock nut and the steering rack end do not turn together. Hold the width across flat of the tie rod end and tighten the lock nut. 
    8. Place the boots on the seats and install the clips.

      HINT:

      Make sure that the boots are not twisted.

    9. Perform VSC system calibration (SEE CALIBRATION ).
    Fig 3: Installing Clip
    G02591196Courtesy of © TOYOTA, LICENSE AGREEMENT TMS1002
  5. INSPECT WHEEL ANGLE 
    1. Turn the steering wheel fully left and right and measure the turning angle.

    Wheel turning angle: 

    WHEEL TURNING ANGLE SPECIFICATION

    Inside wheel 40°35' +/- 2° (40.58° +/- 2°)
    Outside wheel: Reference 34° 15' (34.25°)

    If the right and left inside wheel angles differ from the specified range, check the right and left rack end lengths.

  6. INSPECT CAMBER, CASTER AND STEERING AXIS INCLINATION 
    1. Put the front wheel on the center of the alignment tester.
    2. Remove the center ornament.
    3. Install the camber-caster-steering axis inclination gauge at the center of the axle hub or drive shaft.
    4. Inspect the camber, caster and steering axis inclination.

      Camber, caster and steering axis inclination: 

      STEERING AXIS INCLINATION

      Camber Right-left error 0°35' +/- 45' (-0.58° +/- 0.75°) 45' (0.75°) or less
      Caster Right-left error 3° 10' +/- 45' (3.17° +/- 0.75°) 45' (0.75°) or less
      Steering axis inclination Right-left error 12°35' +/- 45' (12.58° +/- 0.75°) 45' (0.75°) or less
      NOTE:
      • Inspect while the vehicle is empty (without the spare tire or tools on board). 
      • The maximum tolerance of right and left difference for the camber and caster is 45' or less. 
    5. Remove the camber-caster-steering axis inclination gauge and attachment.
    6. Install the center ornament.
    Fig 4: Measuring Turning Angle
    G02591197Courtesy of © TOYOTA, LICENSE AGREEMENT TMS1002
    Fig 5: Identifying Alignment Tester
    G02591198Courtesy of © TOYOTA, LICENSE AGREEMENT TMS1002

    If the caster and steering axis inclination are not within the specified values, after the camber has been correctly adjusted, recheck the suspension parts for damaged and/or worn out parts.

  7. ADJUST CAMBER 
    NOTE: Inspect toe-in after the camber has been adjusted. 
    1. Remove the front wheel.
    2. Remove the 2 nuts on the lower side of the shock absorber.
    3. Clean the installation surfaces of the shock absorber and the steering knuckle.
    4. Temporarily install the 2 nuts.
      Fig 6: Locating Nut
      G02591199Courtesy of © TOYOTA, LICENSE AGREEMENT TMS1002
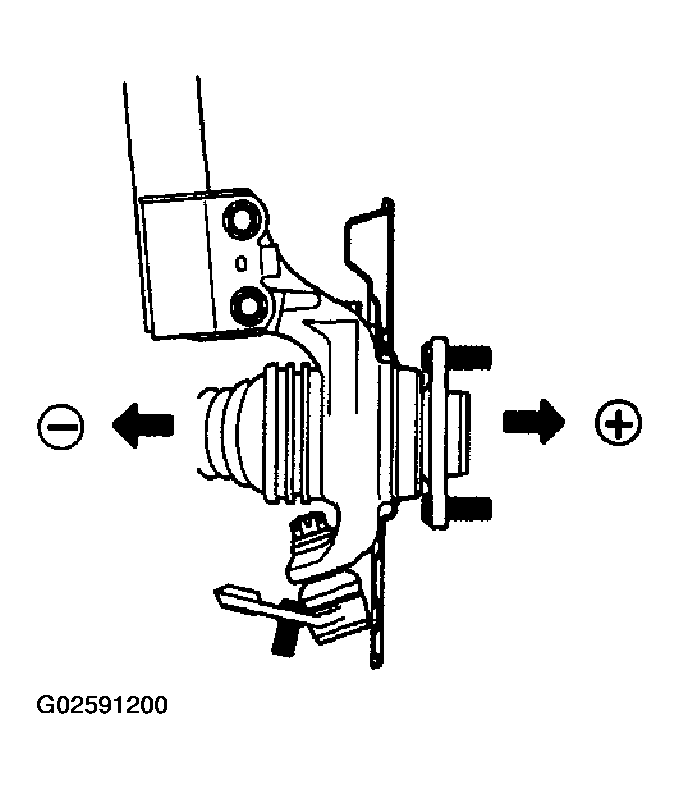
    5. Fully push or pull the front axle hub in the direction of the required adjustment.
    6. Tighten the nuts.

      Torque: 153 N.M (1,560 kgf.cm, 113 ft.lbf) 

      NOTE: Keep the bolts from rotating and torque the nuts. 
    7. Install the front wheel.

      Torque: 103 N.M (1,050 kgf.cm, 76 ft.lbf)

      Fig 7: Pulling Front Axle Hub
      G02591200Courtesy of © TOYOTA, LICENSE AGREEMENT TMS1002
    8. Check the camber.

      If the measured value is not within the specified range, calculate the required adjustment amount using the formula below.

      (Camber adjustment amount) = Center of the specified range - Measured value

      Check installed bolts combination. Select appropriate bolts from the table below to adjust the camber to within the specified range.

      INSTALLED BOLTS SPECIFICATION

      Move the axle toward (+) in step (e) Refer to table (1) (Move the axle toward positive side)
      Move the axle toward (-) in step (e) Refer to table (2) (Move the axle toward negative side)
      Fig 8: Removing Bolt
      G02591201Courtesy of © TOYOTA, LICENSE AGREEMENT TMS1002

      HINT:

      • Measure the camber with the bolts currently installed and check the amount of loosens from the specified range.

        (Ex: The measured value is -1°35')

      • Determine whether the direction of the required adjustment is toward the positive or negative side.

        (Ex: Refer to table1 )

      • Check the required adjustment amount from the measured value.(Table(1), Table(2))

        (Ex: Select "Adjusting value:0°45' to 1°00'")

      • Check the currently installed bolts combination.

        (Ex: "Installed bolt: 1-No Dot 2-2Dots")

      • Select the adjusting bolts.

        (Ex:"Selected Bolt Combination" results in F:1-3Dots 2-3Dots)

      • Measure the alignment again and check that it is within the specified range.

        (Ex: Measured value is within -0°35' +/- 45')

    Table (1) (Move the axle toward positive side) 

    Fig 9: Bolt Adjusting Value Chart
    G02591202Courtesy of © TOYOTA, LICENSE AGREEMENT TMS1002

    Selected Bolt Combination 

    Fig 10: Bolt Combination Chart
    G02591203Courtesy of © TOYOTA, LICENSE AGREEMENT TMS1002

    Bolt Distinguishing Mark 

    Fig 11: Bolt Distinguishing Mark Chart
    G02591204Courtesy of © TOYOTA, LICENSE AGREEMENT TMS1002

    The body and suspension may be damaged if the camber is not correctly adjusted according to the above table.

    NOTE: Replace the nut with a new one when replacing the bolt. 
    1. Repeat the steps mentioned above. At step (b), replace 1 or 2 selected bolts.

    HINT:

    Replace one bolt at a time when replacing 2 bolts.

    Table (2) (Move the axle toward negative side) 

    Fig 12: Axle Toward Negative Chart
    G02591205Courtesy of © TOYOTA, LICENSE AGREEMENT TMS1002

    Selected Bolt Combination 

    Fig 13: Bolt Combination Chart
    G02591206Courtesy of © TOYOTA, LICENSE AGREEMENT TMS1002

    Bolt Distinguishing Mark 

    Fig 14: Bolt Distinguishing Mark Chart
    G02591207Courtesy of © TOYOTA, LICENSE AGREEMENT TMS1002

    The body and suspension may be damaged if the camber is not correctly adjusted according to the above table.

    NOTE: Replace the nut with a new one when replacing the bolt. 
    1. Repeat the steps mentioned above. At step (b), replace 1 or 2 selected bolts.

    HINT:

    Replace one bolt at a time when replacing 2 bolts.