lemon-mirror:
Home >> Toyota >> 2005 >> RAV4 Base, FWD, Automatic >> Repair and Diagnosis >> Engine Performance >> System >> Engine - Diagnostics >> Fuel Pump Control Circuit >> Inspection Procedure

Inspection Procedure

Hand-held tester: 

  1. Connect hand-held tester and check operation of fuel pump. 

    PREPARATION: 

    1. Connect the hand-held tester to the DLC3.
    2. Turn ON the ignition switch. Push the hand-held tester main switch.
    3. Enter the following menus: DIAGNOSIS / ENHANCED OBD II / ACTIVE TEST / FUEL PUMP / SPD.

    CHECK: 

    Check that operating noise is heard from the relay while operating it using the hand-held tester.

    OK: 

    Operating noise can be heard from the relay. 

    1. OK: Go to step   5 . 
    2. NG: Go To Next Step 
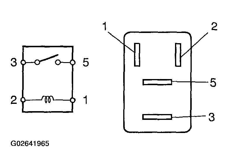
  2. Check circuit opening relay (Marking: C/OPN). 

    PREPARATION: 

    Remove the circuit opening relay from the engine room J/B.

    CHECK: 

    Measure the circuit opening relay.

    OK: 

    CIRCUIT OPENING RELAY TERMINALS RESISTANCE

    Tester Connection Specified Condition
    3-5 10 kΩ or higher
    3-5 Below 1 Ω (when battery voltage is applied to terminals 1 and 2)
    Fig 1: Identifying Relay Terminals (Marking: C/OPN)
    G02641965Courtesy of © TOYOTA, LICENSE AGREEMENT TMS1002
    1. NG: Replace circuit opening relay. 
    2. OK: Go To Next Step 
  3. Check voltage between terminal FC of ECM connector and body ground. 

    PREPARATION: 

    1. Remove the glove compartment (see ENGINE CONTROL MODULE (ECM) ).
    2. Turn the ignition switch ON.

    CHECK: 

    Measure the voltage between terminal FC of the ECM connector and body ground.

    OK: 

    Voltage: 9 to 14 V 

    Fig 2: Identifying Terminal FC Of ECM Connector
    G02641966Courtesy of © TOYOTA, LICENSE AGREEMENT TMS1002
    1. OK: Go to step   5 . 
    2. NG: Go To Next Step 
  4. Check for open in wire harness between EFI main relay and circuit opening relay (Marking: C/OPN), and circuit opening relay and ECM (see  HOW TO USE THE DIAGNOSTIC CHART AND INSPECTION PROCEDURE  ). 
    1. NG: Repair or replace harness and connector. 
    2. OK: Replace ECM (see  ENGINE CONTROL MODULE (ECM)  ). 
  5. Check fuel pump (see  FUEL PUMP  ). 
    1. NG: Repair or replace fuel pump. 
    2. OK: Go To Next Step 
  6. Check for open in wire harness between circuit opening relay (Marking: C/OPN) and fuel pump, and fuel pump and body ground (see  HOW TO USE THE DIAGNOSTIC CHART AND INSPECTION PROCEDURE  ). 
    1. NG: Repair or replace harness and connector. 
    2. OK: Replace ECM (see  ENGINE CONTROL MODULE (ECM)  ). 

OBD II scan tool (excluding hand-held tester): 

  1. Check fuel pump operation (see  FUEL PUMP  ). 

    CHECK: 

    Check if there is pressure in the fuel inlet hose.

    HINT:

    The pipe has fuel pressure if the sound of flowing fuel can be heard.

    1. NG: Proceed to next circuit inspection shown on problem symptoms table (see  PROBLEM SYMPTOMS TABLE  ). 
    2. OK: Go To Next Step 
  2. Check operation circuit opening relay (Marking: C/OPN). 

    PREPARATION: 

    Connect between terminal FC of the ECM connector and the body ground.

    CHECK: 

    Check the relay operation.

    OK: 

    Noise can be heard from the circuit opening relay. 

    Fig 3: Identifying Terminal FC Of ECM Connector
    G02641967Courtesy of © TOYOTA, LICENSE AGREEMENT TMS1002
    1. NG: Go to step   6 . 
    2. OK: Go To Next Step 
  3. Check circuit opening relay (Marking: C/OPN). 

    PREPARATION: 

    Remove the circuit opening relay from the engine room J/B.

    CHECK: 

    Measure the circuit opening relay.

    OK: 

    CIRCUIT OPENING RELAY TERMINALS RESISTANCE

    Tester Connection Specified Condition
    3-5 10 kΩ or higher
    3-5 Below 1 Ω (when battery voltage is applied to terminals 1 and 2)
    Fig 4: Identifying Relay Terminals (Marking: C/OPN)
    G02641968Courtesy of © TOYOTA, LICENSE AGREEMENT TMS1002
    1. NG: Replace circuit opening relay. 
    2. OK: Go To Next Step 
  4. Check voltage between terminal FC of ECM connector and body ground. 

    PREPARATION: 

    1. Remove the glove compartment (see ENGINE CONTROL MODULE (ECM) ).
    2. Turn the ignition switch ON.

    CHECK: 

    Measure the voltage between terminal FC of the ECM connector and body ground.

    OK: 

    Voltage: 9 to 14 V 

    Fig 5: Identifying Terminal FC Of ECM Connector
    G02641969Courtesy of © TOYOTA, LICENSE AGREEMENT TMS1002
    1. OK: Replace ECM (see  ENGINE CONTROL MODULE (ECM)  ). 
    2. NG: Go To Next Step 
  5. Check for open in wire harness between circuit opening relay (Marking: C/OPN) and fuel pump, and fuel pump and body ground (see  HOW TO USE THE DIAGNOSTIC CHART AND INSPECTION PROCEDURE  ). 
    1. NG: Repair or replace harness and connector. 
    2. OK: Go To Next Step 
  6. Check fuel pump (see  FUEL PUMP  ). 
    1. NG: Repair or replace fuel pump. 
    2. OK: Go To Next Step 
  7. Check for open in wire harness between circuit opening relay (Marking: C/OPN) and fuel pump, and fuel pump and body ground (see  HOW TO USE THE DIAGNOSTIC CHART AND INSPECTION PROCEDURE  ). 
    1. NG: Repair or replace harness and connector. 
    2. OK: Replace ECM (see  ENGINE CONTROL MODULE (ECM)  ).