lemon-mirror:
Home >> Toyota >> 2005 >> Sequoia Limited, RWD >> Repair and Diagnosis >> Body & Frame >> Windows >> Power Window Control System >> Inspection

Power Window Control System: Inspection

  1. INSPECT REAR DOOR POWER WINDOW SWITCH CONTINUITY 
    REAR DOOR POWER WINDOW SWITCH CONTINUITY

    Switch Position Tester Connection Specified Condition
    UP 2 - 3, 4 - 5 Continuity
    OFF 2 - 3 - 5 Continuity
    DOWN 2 - 4, 3 - 5 Continuity

    If continuity is not as specified, replace the switch.

    Fig 1: Inspecting Rear Door Power Window Switch Continuity
    G03056743Courtesy of © TOYOTA, LICENSE AGREEMENT TMS1002
  2. INSPECT POWER WINDOW SWITCH CIRCUIT 

    (Driver's Door: See  POWER SOURCE CIRCUIT  ) 

    (Passenger's Door: See  POWER SOURCE CIRCUIT  ) 

    (Rear Door: See  REAR POWER WINDOW SWITCH CIRCUIT  ) 

    (Back Door: See  REAR POWER WINDOW SWITCH CIRCUIT  ) 

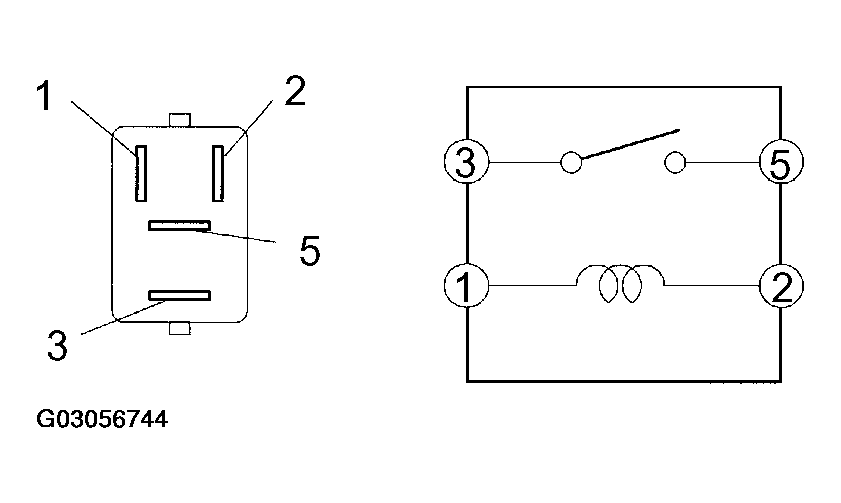
  3. INSPECT POWER MAIN RELAY CONTINUITY 
    POWER MAIN RELAY

    Condition Tester Connection Specified Condition
    Always 1 - 2 Continuity
    Always 3 - 5 No continuity
    Apply B+ between terminals 1 and 2. 3 - 5 Continuity

    If continuity is not as specified, replace the relay.

    Fig 2: Inspecting Power Main Relay Continuity
    G03056744Courtesy of © TOYOTA, LICENSE AGREEMENT TMS1002
  4. Driver's Door: INSPECT POWER WINDOW MOTOR OPERATION 
    1. Connect the positive (+) lead from the battery to terminal 1 and the negative (-) lead to terminal 2, and check that the motor turns clockwise.
      Fig 3: Inspecting Power Window Motor Operation Turns Clockwise
      G03056745Courtesy of © TOYOTA, LICENSE AGREEMENT TMS1002
    2. Reverse the polarity and check that the motor turns counterclockwise.

      If operation is not as specified, replace the power window motor.

      NOTE: Since the jam protection may not work properly, be sure to conduct procedures described in "HOW TO RESET POWER WINDOW MOTOR (LIMIT SWITCH)  " after this inspection.
      Fig 4: Inspecting Power Window Motor Operation Turns Counterclockwise
      G03056746Courtesy of © TOYOTA, LICENSE AGREEMENT TMS1002
  5. Passenger's Door: INSPECT POWER WINDOW MOTOR OPERATION 
    1. Connect the positive (+) lead from the battery to terminal 1 and the negative (-) lead to terminal 2, and check that the motor turns clockwise.
      Fig 5: Inspecting Power Window Motor Operation
      G03056747Courtesy of © TOYOTA, LICENSE AGREEMENT TMS1002
    2. Reverse the polarity and check that the motor turns counterclockwise.

      If operation is not as specified, replace the power window motor.

      NOTE: Since the jam protection may not work properly, be sure to conduct procedures described in "HOW TO RESET POWER WINDOW MOTOR (LIMIT SWITCH)  " after this inspection.
      Fig 6: Checking Motor Turns Counterclockwise
      G03056748Courtesy of © TOYOTA, LICENSE AGREEMENT TMS1002
  6. Rear Right Door: INSPECT POWER WINDOW MOTOR OPERATION 
    1. Connect the positive (+) lead from the battery to terminal 1 and the negative (-) lead to terminals 2, and check that the motor turns clockwise.
      Fig 7: Inspecting Power Window Motor Operation Turns Clockwise (Rear Right Door)
      G03056749Courtesy of © TOYOTA, LICENSE AGREEMENT TMS1002
    2. Reverse the polarity and check that the motor turns counterclockwise.

      If operation is not as specified, replace the power window motor.

      Fig 8: Inspecting Power Window Motor Operation Turns Counterclockwise (Rear Right Door)
      G03056750Courtesy of © TOYOTA, LICENSE AGREEMENT TMS1002
  7. Rear Left Door: INSPECT POWER WINDOW MOTOR OPERATION 
    1. Connect the positive (+) lead from the battery to terminal 1 and the negative (-) lead to terminal 2, and check that the motor turns clockwise.
      Fig 9: Inspecting Power Window Motor Operation Turns Clockwise (Rear Left Door)
      G03056751Courtesy of © TOYOTA, LICENSE AGREEMENT TMS1002
    2. Reverse the polarity and check that the motor turns counterclockwise.

      If operation is not as specified, replace the power window motor.

      Fig 10: Inspecting Power Window Motor Operation Turns Counterclockwise (Rear Left Door)
      G03056752Courtesy of © TOYOTA, LICENSE AGREEMENT TMS1002
  8. Front Door: INSPECT PTC OPERATION 
    1. Disconnect the connector from the wire harness side connector.
    2. Connect the negative (-) lead from the ammeter to terminal 1 of the motor side connector and the positive (+) lead to negative terminal of the battery.
    3. Connect the positive (+) lead from the battery to terminal 2 of the motor side connector, and raise the window to the fully closed position.
      Fig 11: Inspecting PTC Operation Raising Window To Closed Position (Front Door)
      G03056753Courtesy of © TOYOTA, LICENSE AGREEMENT TMS1002
    4. Continue to apply voltage and check that the current changes from approximately 14 A to less than 1 A within 4 to 90 seconds.
    5. Disconnect the leads from the terminals.
    6. Approximately 90 seconds later, connect the positive (+) lead from the battery to terminal 1 and the negative (-) lead to terminal 2, and check that the window begins to goes down.

      If operation is not as specified, replace the power window motor.

      Fig 12: Inspecting PTC Operation Checking Window Begins To Goes Down (Front Door)
      G03056754Courtesy of © TOYOTA, LICENSE AGREEMENT TMS1002
  9. Rear Door: INSPECT PTC OPERATION 
    1. Disconnect the connector from the wire harness side connector.
    2. Connect the negative (-) lead from the ammeter to terminal 1 of the motor side connector and the positive (+) lead to negative terminal of the battery.
    3. Connect the positive (+) lead from the battery to terminal 2 of the motor side connector, and raise the window to the fully closed position.
      Fig 13: Inspecting PTC Operation Raising Window To Closed Position (Rear Door)
      G03056755Courtesy of © TOYOTA, LICENSE AGREEMENT TMS1002
    4. Continue to apply voltage and check that the current changes from approximately 14 A to less than 1 A within 4 to 90 seconds.
    5. Disconnect the leads from the terminals.
    6. Approximately 90 seconds later, connect the positive (+) lead from the battery to terminal 1 and the negative (-) lead to terminal 2, and check that the window begins to goes down.

      If operation is not as specified, replace the power window motor.

      Fig 14: Inspecting PTC Operation Checking Window Begin To Goes Down (Rear Door)
      G03056756Courtesy of © TOYOTA, LICENSE AGREEMENT TMS1002
  10. INSPECT JAM PROTECTION FUNCTION 
    NOTE: Be careful not to be caught any part of your body when checking.

    HINT:

    When performing resetting of the limit switch, do checking after repeating up and down of the glass with automatic operation.

    1. Confirmation of AUTO up operation:

      Confirm that the window will be fully closed with AUTO up operation.

    2. Checking operation of the jam protection function:
      1. Move up the window with AUTO up operation and check that the window will go down when it touches the inserted handle of the hammer.
      2. Confirm that the window will then stop going down about 200 mm (7.87 in.).

        HINT:

        When removing the glass, glass guide, regulator, etc. be sure to perform checking of the jam protection function.

        If the jam protection is not functioning properly, adjust the power window motor limit switch and pulse switch.