lemon-mirror:
Home >> Toyota >> 2005 >> Sienna CE >> Repair and Diagnosis >> Engine Performance >> Fuel Delivery >> Engine Fuel System >> Fuel Injector ASSY >> Replacement

Fuel Injector ASSY: Replacement

  1. DISCHARGE FUEL SYSTEM PRESSURE (See  FUEL SYSTEM   ) 
  2. DRAIN ENGINE COOLANT (See  ENGINE COOLANT  ) 
  3. REMOVE FRONT WIPER ARM HEAD CAP (See  WINDSHIELD WIPER MOTOR ASSY  ) 
  4. REMOVE FR WIPER ARM LH (See  WINDSHIELD WIPER MOTOR ASSY  ) 
  5. REMOVE FR WIPER ARM RH (See  WINDSHIELD WIPER MOTOR ASSY  ) 
  6. REMOVE COWL TOP VENTILATOR LOUVER SUB-ASSY (See  WINDSHIELD WIPER MOTOR ASSY  ) 
  7. REMOVE WINDSHIELD WIPER MOTOR ASSY (See  WINDSHIELD WIPER MOTOR ASSY  ) 
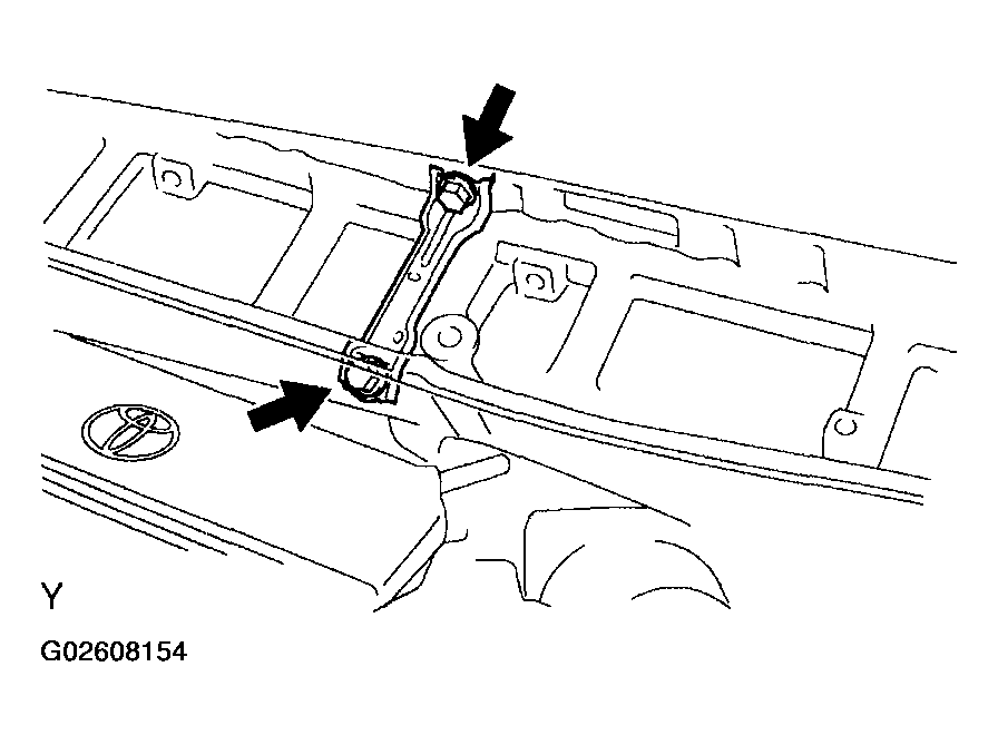
  8. REMOVE COWL TOP TO COWL BRACE INNER NO. 1 
    1. Remove the 2 bolts and the cowl top to cowl brace inner No. 1.
    Fig 1: Removing Cowl Top To Cowl Brace Inner No. 1
    G02608154Courtesy of © TOYOTA, LICENSE AGREEMENT TMS1002
  9. REMOVE COWL TOP PANEL SUB-ASSY OUTER FRONT 
    1. Remove the wire harness clamp.
    2. Remove the grommet.
    3. Remove the 7 bolts and the cowl top panel outer front.
    Fig 2: Removing Cowl Top Panel Outer Front
    G02608155Courtesy of © TOYOTA, LICENSE AGREEMENT TMS1002
  10. REMOVE V-BANK COVER SUB-ASSY (See  REPLACEMENT  ) 
  11. REMOVE AIR CLEANER CAP SUB-ASSY (See  REPLACEMENT  ) 
  12. REMOVE EMISSION CONTROL VALVE SET 
    1. Disconnect the 2 VSV connectors.
      Fig 3: Disconnecting 2 VSV Connectors
      G02608156Courtesy of © TOYOTA, LICENSE AGREEMENT TMS1002
    2. Remove the wire harness clamp.
    3. Disconnect the fuel vapor feed hose.
    4. Disconnect the fuel vapor feed hose No. 2.
    5. Disconnect the 2 vacuum hoses.
    6. Remove the clamp.
    7. Remove the 2 nuts and the emission control valve set.
    Fig 4: Removing Emission Control Valve Set
    G02608157Courtesy of © TOYOTA, LICENSE AGREEMENT TMS1002
  13. REMOVE INTAKE AIR SURGE TANK 
    1. Disconnect throttle motor connector.
      Fig 5: Disconnecting Throttle Motor Connector
      G02608158Courtesy of © TOYOTA, LICENSE AGREEMENT TMS1002
    2. Disconnect the water by-pass hose No. 3.
    3. Disconnect the water by-pass hose No. 2.
    4. Disconnect the union to check valve hose.
    5. Disconnect the ventilation hose.
      Fig 6: Disconnecting Ventilation Hose
      G02608159Courtesy of © TOYOTA, LICENSE AGREEMENT TMS1002
    6. Remove the 2 set nuts of the pressure feed tube.
      Fig 7: Removing 2 Set Nuts Of Pressure Feed Tube
      G02608160Courtesy of © TOYOTA, LICENSE AGREEMENT TMS1002
    7. Remove the 2 bolts and the engine hunger No. 1.
      Fig 8: Removing Engine Hunger No. 1
      G02608161Courtesy of © TOYOTA, LICENSE AGREEMENT TMS1002
    8. Remove the 2 bolts and the surge tank stay No. 1.
    9. Remove the 2 bolts and the surge tank stay No. 2.
    10. Using a socket hexagon wrench 8, remove the 4 bolts.
      Fig 9: Removing Bolts Using Socket Hexagon Wrench
      G02608162Courtesy of © TOYOTA, LICENSE AGREEMENT TMS1002
    11. Remove the 2 nuts, the emission control valve bracket and the intake air surge tank.
    12. Remove the gasket from the intake air surge tank.
  14. SEPARATE FUEL PIPE SUB-ASSY NO. 1 
    1. Remove the bolt and the fuel pipe No. 1.
    2. Remove the fuel pressure pulsation damper and the 2 gaskets.
    3. Remove the fuel pipe No. 2 union bolt and the 2 gaskets.
    Fig 10: Separating Fuel Pipe Sub-Assy No. 1
    G02608163Courtesy of © TOYOTA, LICENSE AGREEMENT TMS1002
  15. REMOVE FUEL INJECTOR ASSY 
    1. Disconnect the 6 fuel injector connectors.
      Fig 11: Disconnecting Fuel Injector Connectors
      G02608164Courtesy of © TOYOTA, LICENSE AGREEMENT TMS1002
    2. Remove the 4 bolts and the 2 fuel delivery pipes together with the 6 fuel injectors.
      NOTE: Be careful not to drop the fuel injectors when removing the delivery pipe.
      Fig 12: Removing Bolts & Fuel Delivery Pipes Together With 6 Fuel Injectors
      G02608165Courtesy of © TOYOTA, LICENSE AGREEMENT TMS1002
    3. Remove the 4 delivery pipe No. 1 spacers (*1) and the 6 insulators (*2) from the intake manifold.
      Fig 13: Removing Delivery Pipe No. 1 Spacers (*1) & 6 Insulators (*2) From Intake Manifold
      G02608166Courtesy of © TOYOTA, LICENSE AGREEMENT TMS1002
    4. Pull out the fuel injector from the fuel delivery pipe.
    Fig 14: Pulling Out Fuel Injector From Fuel Delivery Pipe
    G02608167Courtesy of © TOYOTA, LICENSE AGREEMENT TMS1002
  16. INSTALL FUEL INJECTOR ASSY 
    1. Install new grommets to the each fuel injector.
      Fig 15: Installing New Grommets To Each Fuel Injector
      G02608168Courtesy of © TOYOTA, LICENSE AGREEMENT TMS1002
    2. Apply a light coat of spindle oil or gasoline to new O-rings, and install it to the each fuel injector.
    3. Apply a light coat of spindle oil or gasoline on the place where the fuel delivery pipe contacts the O-ring.
    4. Push the fuel injector while twisting it back and forth to install it in the fuel delivery pipe.
      NOTE:
      • Be careful not to twist the O-ring.
      • After installing the fuel injectors, check that they turns smoothly. If not, reinstall it with a new O-ring.
      Fig 16: Pushing Fuel Injector Into Fuel Delivery Pipe
      G02608169Courtesy of © TOYOTA, LICENSE AGREEMENT TMS1002
    5. Install 6 new insulators and the 4 delivery pipe No. 1 spacers to the intake manifold.
      Fig 17: Installing New Insulators & Delivery Pipe No. 1 Spacers To Intake Manifold
      G02608170Courtesy of © TOYOTA, LICENSE AGREEMENT TMS1002
    6. Place the 2 fuel delivery pipes and 6 fuel injectors together to the intake manifold.
      NOTE: Be careful not to drop the fuel injectors when installing the fuel delivery pipe.
    7. Temporarily install 4 bolts which are used to attach the fuel delivery pipe to the intake manifold.
    8. Check that the fuel injectors rotate smoothly.

      If fuel injectors do not rotate smoothly, the probable cause is incorrect installation of O-ring. Replace with the O-ring.

    9. Tighten the 4 bolts.

      Torque: 10 N.m (102 kgf.cm, 7 ft.lbf) 

    10. Connect the 6 fuel injector connectors.
  17. INSTALL FUEL PIPE SUB-ASSY NO. 1 
    1. Install 2 new gaskets and the fuel pipe No. 2 union bolt.

      Torque: 33 N.m (331 kgf.cm, 24 ft.lbf) 

    2. Install 2 new gaskets and the fuel pressure pulsation damper.

      Torque: 33 N.m (331 kgf.cm, 24 ft.lbf) 

    3. Install the fuel pipe No. 1 with the bolt.

      Torque: 20 N.m (199 kgf.cm, 14 ft.lbf) 

  18. INSTALL INTAKE AIR SURGE TANK 
    1. Install a new gasket to the intake air surge tank.
    2. Install the intake air surge tank and the emission control valve bracket with the 2 nuts.

      Torque: 28 N.m (286 kgf.cm, 21 ft.lbf) 

    3. Using a socket hexagon wrench 8, tighten the 4 bolts.

      Torque: 28 N.m (286 kgf.cm, 21 ft.lbf) 

    4. Install the surge tank stay No. 2 with the 2 bolts.

      Torque: 20 N.m (199 kgf.cm, 14 ft.lbf) 

    5. Install the surge tank stay No. 1 with the 2 bolts.

      Torque: 20 N.m (199 kgf.cm, 14 ft.lbf) 

    6. Install the engine hunger No. 1 with the 2 bolts.

      Torque: 20 N.m (199 kgf.cm, 14 ft.lbf) 

    7. Install the pressure feed tube with the 2 nuts.

      Torque: 7.8 N.m (80 kgf.cm, 69 in.lbf) 

    8. Connect the ventilation hose.
    9. Connect the union to check valve hose.
    10. Connect the water by-pass hose No. 2.
    11. Connect the water by-pass hose No. 3.
    12. Connect the throttle motor connector.
  19. INSTALL EMISSION CONTROL VALVE SET 

    Torque: 8.0 N.m (82 kgf.cm, 71 in.lbf) 

  20. INSTALL AIR CLEANER CAP SUB-ASSY (See  REPLACEMENT  ) 
  21. ADD ENGINE COOLANT (See  ENGINE COOLANT  ) 
  22. CHECK FOR FUEL LEAKS (See  ON-VEHICLE INSPECTION   ) 
  23. CHECK FOR ENGINE COOLANT LEAKS (See  COOLING SYSTEM  ) 
  24. INSTALL V-BANK COVER SUB-ASSY (See  REPLACEMENT  ) 
  25. INSTALL COWL TOP PANEL SUB-ASSY OUTER FRONT 

    Torque: 7.5 N.m (76 kgf.cm, 66 in.lbf) 

  26. INSTALL COWL TOP TO COWL BRACE INNER NO. 1 

    Torque: 7.5 N.m (76 kgf.cm, 66 in.lbf) 

  27. INSTALL WINDSHIELD WIPER MOTOR ASSY (See  WINDSHIELD WIPER MOTOR ASSY  ) 
  28. INSTALL COWL TOP VENTILATOR LOUVER SUB-ASSY 
  29. INSTALL FR WIPER ARM RH (See  WINDSHIELD WIPER MOTOR ASSY  ) 
  30. INSTALL FR WIPER ARM LH (See  WINDSHIELD WIPER MOTOR ASSY  ) 
  31. INSTALL FRONT WIPER ARM HEAD CAP