lemon-mirror:
Home >> Toyota >> 2006 >> Camry Base, Automatic >> Repair and Diagnosis >> Engine Performance >> System >> Engine Control System >> SFI System (2AZ-FE) >> Inspection

SFI System (2AZ-FE): Inspection

  1. INSPECT MASS AIR FLOW METER 
    1. Check the output voltage.
      1. Apply battery voltage across terminals 1 (+B) and 2 (E2G).
      2. Using a voltmeter, connect the positive (+) tester probe to terminal VG, and negative (-) tester probe to terminal E2G.
      3. Blow air into the MAF meter, and check that the voltage fluctuates.
    2. Measure the resistance between terminals 4 (THA) and 5 (E2).
    3. Fig 1: Inspecting Mass Air Flow Meter
      G04391272Courtesy of © TOYOTA, LICENSE AGREEMENT TMS1002

    Standard: 

    MASS AIR FLOW METER - SPECIFIED CONDITION TABLE

    Condition Specified Condition
    -20°C (-4°F) 13.6 to 18.4 kΩ
    20°C (68°F) 2.21 to 2.69 kΩ
    60°C (140°F) 0.493 to 0.667 kΩ

    If the result is not as specified, replace the MAF meter.

  2. INSPECT CAMSHAFT TIMING OIL CONTROL VALVE ASSY 
    1. Measure the resistance between the terminals.

      Standard: 6.9 to 7.9 Ω at 20°C (68°F) 

      If the result is not as specified, replace the OCV assy.

    2. Connect the battery's positive (+) lead to terminal 1 and negative (-) lead to terminal 2, and check the movement of the valve.
    NOTE: Confirm that the valve moves freely and does not become stuck in any position.

    If necessary, replace the OCV assy.

    HINT:

    If the valve cannot return properly because of foreign matter, a small pressure leak in the advanced direction may occur and a DTC will be output.

    Fig 2: Inspecting Camshaft Timing Oil Control Valve Assy
    G04391273Courtesy of © TOYOTA, LICENSE AGREEMENT TMS1002
  3. INSPECT ACCELERATOR PEDAL ASSY 
    1. Measure the resistance between the terminals.
    2. Fig 3: Identifying Accelerator Pedal Assy Connector Terminals
      G04391274Courtesy of © TOYOTA, LICENSE AGREEMENT TMS1002

    Standard: 

    ACCELERATOR PEDAL ASSY - RESISTANCE TABLE

    Tester Connection Specified Condition
    2 (VPA2) - 3 (EP1) 5.0 kΩ or less
    5 (VPA1) - 1 (EP2) 5.0 kΩ or less
    6 (VCP1) - 3 (EP1) 2.25 to 4.75 kΩ
    4 (VCP2) - 1 (EP2) 2.25 to 4.75 kΩ

    If the result is not as specified, replace the pedal assy.

  4. INSPECT THROTTLE BODY ASSY 
    1. Measure the resistance between the terminals.
    2. Fig 4: Identifying Throttle Body Assy Connector Terminals
      G04391275Courtesy of © TOYOTA, LICENSE AGREEMENT TMS1002

    Standard: 

    THROTTLE BODY ASSY - RESISTANCE TABLE

    Tester Connection Condition Specified Condition
    2 (M+) - 1 (M-) 20°C (68°F) 0.3 to 100 Ω
    5 (VC) - 3 (E2) 20°C (68°F) 1.2 to 3.2 kΩ

    If the result is not as specified, replace the throttle body assy.

  5. INSPECT ENGINE COOLANT TEMPERATURE SENSOR 
    1. Measure the resistance between terminals 1 and 2.
    2. Fig 5: Checking Engine Coolant Temperature Sensor
      G04391276Courtesy of © TOYOTA, LICENSE AGREEMENT TMS1002

    Standard: 

    ENGINE COOLANT TEMPERATURE SENSOR - RESISTANCE TABLE

    Condition Specified Condition
    Approx. 20°C (68°F) 2.32 to 2.59 kΩ
    Approx. 80°C (176°F) 0.310 to 0.326 kΩ

    If the result is not as specified, replace the sensor.

    NOTE: If checking the engine coolant temperature sensor in the water, keep the terminals dry. After the check, wipe the sensor dry.
  6. INSPECT KNOCK SENSOR 
    1. Using an ohmmeter, measure the resistance between the terminals.

    Standard: 120 to 280 kΩ at 20°C (68°F) 

    HINT:

    If the result is not as specified, replace the sensor.

    Fig 6: Measuring Resistance Between Terminals Using An Ohmmeter
    G04391277Courtesy of © TOYOTA, LICENSE AGREEMENT TMS1002
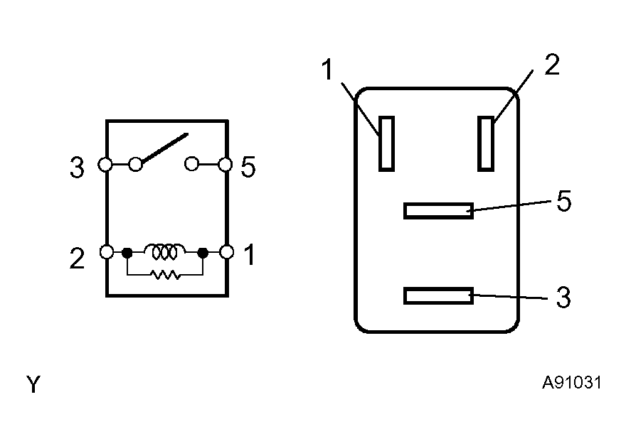
  7. INSPECT RELAY (Marking: EFI, C/OPN) 
    1. Using an ohmmeter, measure the resistance of the relay.
    2. Fig 7: Measuring Resistance Of Relay
      G04391278Courtesy of © TOYOTA, LICENSE AGREEMENT TMS1002

    Standard: 

    RELAY (MARKING: EFI, C/OPN) - RESISTANCE TABLE

    Tester Connection Specified Condition
    3 - 5 10 kΩ or higher
    3 - 5 Below 1Ω
    (when battery voltage is applied to terminals 1 and 2)

    If the result is not as specified, replace the relay.